GM Service Manual Online
For 1990-2009 cars only

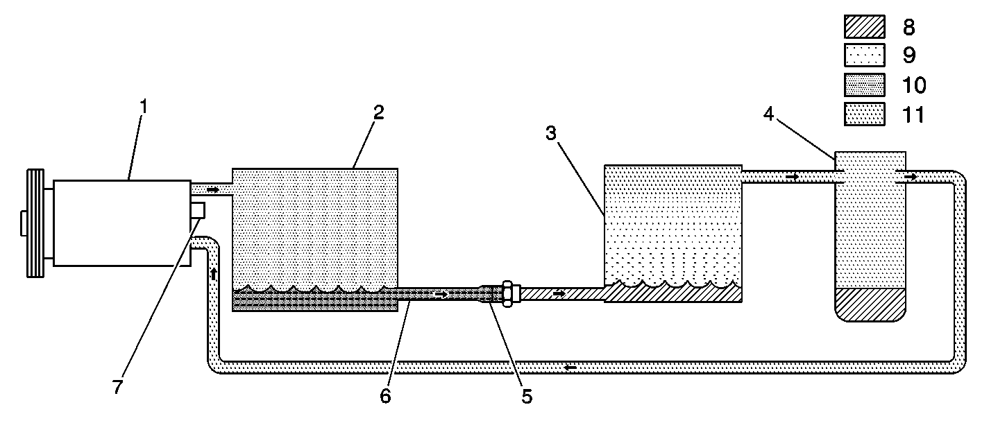
Object Number: 526827  Size: SF
(1)Compressor
(2)Condenser
(3)Evaporator
(4)Accumulator
(5)Expansion (Orifice) Tube
(6)Liquid Line
(7)Pressure Relief Valve

The Variable Displacement Orifice Tube (VDOT) refrigeration system is comprised of a variable displacement compressor and a fixed expansion (orifice) tube. This system can match the air conditioning demands under all conditions without cycling. When the A/C capacity demand is high, the suction pressure will be above the control point; a control valve will bleed discharge gas into the compressor crankcase and close off a passage from the compressor crankcase to the suction plenum.

Depending on engine usage, the compressor is cut off. Following are some examples of conditions resulting in compressor cutoff:

    • Wide open throttle
    • Low idle speed
    • Low air temperature
    • High P/S loads

When the engine is turned to OFF with the A/C system running, the refrigerant in the system will flow from the high pressure side of the evaporator tube orifice to the low pressure side until the pressure is equalized. This may be detected as a faint hissing sound for 30-60 seconds and is a normal condition.