GM Service Manual Online
For 1990-2009 cars only

Child Seat Tether Hardware

Left

Center

Right

(1) 65 MM (2.65 in) Bolt

(1) 90 MM (3.54 in) Bolt

(1) 65 MM (2.65 in) Bolt

(1) 25 mm (1.00 in) Spacer

(1) 25 mm (1.00 in) Spacer

(1) 25 mm (1.00 in) Spacer

(1) 16 mm (0.63 in) Spacer

(1) 30 mm (1.18 in) Spacer

(1) 16 mm (0.63 in) Spacer

--

(1) 16 mm (0.63 in) Spacer

--


    Object Number: 370590  Size: SH
  1. The illustration calls out the following required positions and clearances:
  2. • 224 mm (8.81 in) (1)
    • Centerline (2)
    • 224 mm (8.81 in) (3)
    • 321 mm (12.66 in) (4)
    • 321 mm (12.66 in) (5)
    • 90 mm (3.54 in) (6)
    • 317 mm (12.48 in) (7)

    Object Number: 181110  Size: SH
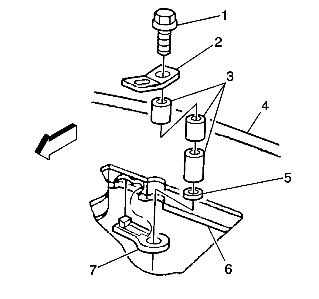
  3. Open the rear compartment and insert the threaded J clip (7) from the inside of the rear compartment.
  4. Insert a sharp punch through the hole in the J clip. Mark the hole in the trim panel.
  5. Cut an X in the trim panel.
  6. Select the correct bolts (1) and spacers (3). Refer to the Child Seat Tether Hardware Location Table for the appropriate location.
  7. Notice: Use the correct fastener in the correct location. Replacement fasteners must be the correct part number for that application. Fasteners requiring replacement or fasteners requiring the use of thread locking compound or sealant are identified in the service procedure. Do not use paints, lubricants, or corrosion inhibitors on fasteners or fastener joint surfaces unless specified. These coatings affect fastener torque and joint clamping force and may damage the fastener. Use the correct tightening sequence and specifications when installing fasteners in order to avoid damage to parts and systems.

  8. Insert the child restraint tether bolt (1) through the anchor bracket (2) and through the required spacers (3).
  9. Secure the bolt with the push-on nut (5).

    Install the bolt into the hole on the trim panel (4) and into the J clip (7).

    Tighten
    Tighten the child restraint tether bolt to 45 N·m(33 lb ft).