GM Service Manual Online
For 1990-2009 cars only
Figure 1:

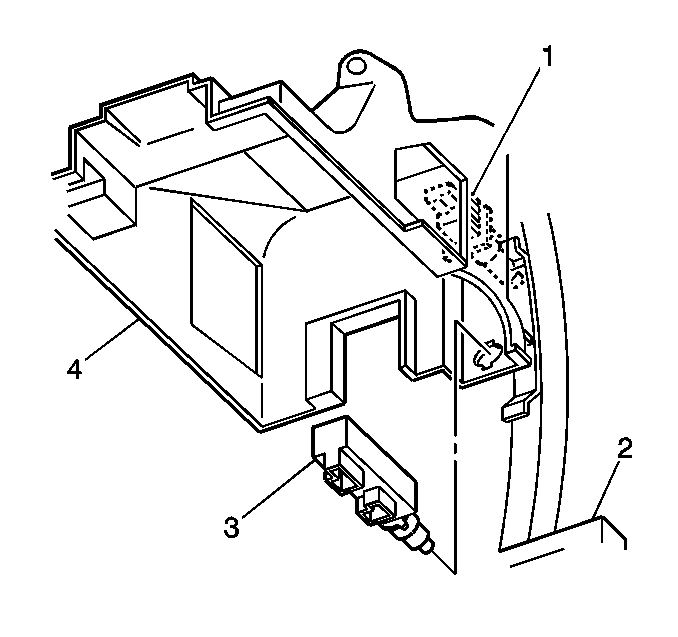
Center Console


Object Number: 374760  Size: LF
(1)A/T Shift Lock Actuator Electrical Connector
(2)A/T Shift Lock Actuator
(3)Inline Harness Connector
(4)PRNDL Bulb
(5)S374
(6)Performance Shift Connector
Figure 2:

Left Side Rear of Vehicle (Right Similar)


Object Number: 374781  Size: LF
(1)Tail/Stop/Turn Lamp Bulb
(2)Back-up Lamp Bulb
(3)Rear Side Marker Lamp Bulb
Figure 3:

Top of Rear Compartment Lid


Object Number: 374764  Size: LF
(1)Center High Mounted Stoplamp
(2)Center High Mounted Stoplamp Connectors
Figure 4:

Center of Package Shelf


Object Number: 399301  Size: LF
(1)Center High Mounted Stop Lamp(CHMSL)
Figure 5:

Center Top Of Instrument Panel


Object Number: 327485  Size: SF
(1)Instrument Panel (IP) Upper Trim Pad
(2)Theft Deterrent Indicator LED
(3)Sun Load Temperature Sensor
(4)Daytime Running Lamp (DLR) Ambient Light Sensor
Figure 6:

Below Left Side of IP


Object Number: 403520  Size: LF
(1)Daytime Running Lamp Diode
(2)DRL Diode Connector
Figure 7:

Right Front Door (Left Similar)


Object Number: 374808  Size: LF
(1)Door Courtesy Warning Lamp
(2)Radio Door Speaker (Tweeter)
Figure 8:

Right Rear Door (Left Similar)


Object Number: 374812  Size: LF
(1)Door Courtesy Warning Lamp
Figure 9:

Inside Left Door


Object Number: 374815  Size: LF
(1)Door Lock Ajar Indicator Switch, C2
(2)Door Lock Actuator Motor, C1
Figure 10:

Right Rear Door (Left Similar)


Object Number: 327511  Size: LF
(1)Door Lock (Ajar Indicator Switch) Connector C1
(2)Door Lock (Actuator Motor) Connector C2
(3)Window Regulator Motor Connector
(4)Rear Window Switch Connector
Figure 11:

Front of Vehicle


Object Number: 374616  Size: LF
(1)Fog Lamp Connector
Figure 12:

Left Side, Face of Instrument Panel


Object Number: 374728  Size: LF
(1)Fog Lamp Switch
Figure 13:

Left Front of Vehicle


Object Number: 374619  Size: LF
(1)C141 (Shown)/C142 (Similar)
(2)Park/Turn Lamp
(3)Headlamp
Figure 14:

Left Side Face of Instrument Panel


Object Number: 374727  Size: LF
(1)Headlamp Switch
Figure 15:

Right Bottom of Instrument Panel


Object Number: 374725  Size: LF
(1)Instrument Panel Courtesy Lamp (RH)
Figure 16:

Bottom of Instrument Panel Left Side


Object Number: 374705  Size: LF
(1)Instrument Panel Courtesy Lamp (LH)
Figure 17:

Forward Center of Interior Compartment


Object Number: 374791  Size: LF
(1)Inside Rearview Mirror (Lighted) Connector
(2)Inside Rearview Mirror (Lighted)
Figure 18:

Inside of Rear Compartment Lid


Object Number: 374765  Size: LF
(1)Rear Compartment Courtesy Lamp Connector
(2)Rear Compartment Courtesy Lamp
Figure 19:

Inside Rear Compartment


Object Number: 374786  Size: LF
(1)Rear Compartment Courtesy Lamp Switch Connector
(2)S416
(3)Rear Compartment Lid Lock Release Actuator
Figure 20:

Roof Rail Courtesy Lamp


Object Number: 374799  Size: LF
(1)Roof Rail Courtesy Lamp (Sedan)
(2)Roof Rail Courtesy Lamp (Coupe)
Figure 21:

Rear of Passenger Compartment


Object Number: 374800  Size: LF
(1)Roof Rail Courtesy /Reading Lamp
Figure 22:

Below LH Side of Instrument Panel


Object Number: 305328  Size: SH
(1)Cruise Control Release Switch
(2)Brake Pedal
(3)Stoplamp Switch
(4)Brake Pedal Bracket
Figure 23:

Interior Roof


Object Number: 374790  Size: LF
(1)Sunshade Illuminated Mirror Connector
Figure 24:

Steering Wheel Component Views


Object Number: 374744  Size: LF
(1)Windshield Wiper/Washer/Turn Signal Switch
(2)Ignition Switch
(3)Radio Steering Wheel Controls Connector
(4)SIR Connector
(5)Inflatable Restraint Steering Wheel Module Coil
Figure 25:

Right Side of Roof


Object Number: 374796  Size: LF
(1)Overhead Console w/ Sunroof Switch
(2)w/Overhead Console, w/o Sunroof
(3)w/o Overhead Console, w/o Sunroof