GM Service Manual Online
For 1990-2009 cars only

Removal Procedure

  1. Remove the air cleaner and duct for access, if necessary. Refer to Air Cleaner Assembly Replacement for 3.1 and Air Cleaner Assembly Replacement for 3.8 in Engine Controls
  2. Caution: Unless directed otherwise, the ignition and start switch must be in the OFF or LOCK position, and all electrical loads must be OFF before servicing any electrical component. Disconnect the negative battery cable to prevent an electrical spark should a tool or equipment come in contact with an exposed electrical terminal. Failure to follow these precautions may result in personal injury and/or damage to the vehicle or its components.

  3. Disconnect the battery ground negative cable. Refer to Battery Negative Cable Disconnection and Connection in Engine Electrical.
  4. Install the following tools:
  5. Refer to Engine Support Fixture for 3.1 and Engine Support Fixture for 3.8 in Engine Mechanical.

    • J 28467-B Engine Support Fixture
    • J 28467-90 Engine Support Adapter
    • J 28467-A Engine Support Adapter Leg Set
  6. Tighten the wing nuts only enough to remove the slack from the hooks.
  7. Raise and suitably support the vehicle. Refer to Lifting and Jacking the Vehicle in General Information.
  8. Position a jackstand under the engine for support.
  9. Remove the front tires and wheels. Refer to in Tires and Wheels.
  10. Remove the intermediate shaft from the steering gear stub shaft. Refer to Intermediate Steering Shaft Replacement in Steering.
  11. Remove the power steering cooler line pipe brackets for access, if necessary. Refer to or in Power Steering.
  12. Remove both lower ball joints from the lower control arms. Refer to Lower Control Arm Ball Joint Replacement in Front Suspension.
  13. Remove the engine mounts. Refer to Engine Mount Replacement for 3.1 or Engine Mount Replacement in Engine Mechanical.
  14. Remove the transaxle mounts. Refer to Transmission Mount Replacement with 4T60-E or Transmission Mount Replacement with 4T65-E in Automatic Transaxle.
  15. Have an assistant hold the frame while removing the frame bolts.

  16. Object Number: 478740  Size: SH
  17. Remove the frame with both lower control arms and the stabilizer shaft attached.
  18. Work the frame downward toward the rear of the vehicle.

  19. Remove both lower control arms and stabilizer shaft if replacing the frame. Refer to Lower Control Arm Replacement in Front Suspension.
  20. Remove the transaxle mounting bracket if replacing the frame. Refer Transmission Mount Bracket Replacement with 4T60-E or Transmission Mount Bracket Replacement with 4T65-E to in Automatic Transaxle.

  21. Object Number: 291400  Size: SH
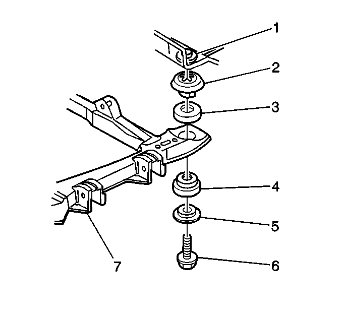
  22. Remove the following components if replacing the frame:
  23. • Spacers (2)
    • Upper and lower insulators (3, 4)
    • Retainers (5)

Installation Procedure


    Object Number: 291400  Size: SH
  1. Install the following components if removed:
  2. • Spacers (2)
    • Upper and lower insulators (3,4)
    • Retainers (5)
    • Completely seat the insulators against the frame.
  3. Install the lower control arms and stabilizer shaft, if removed. Refer to Lower Control Arm Replacement in Front Suspension.
  4. Install the transaxle mounting bracket, if removed. Refer to Transmission Mount Bracket Replacement with 4T60-E or Transmission Mount Bracket Replacement with 4T65-E to in Automatic Transaxle.
  5. Position the frame with the aid of an assistant.
  6. Install the new frame bolts.

    Do not tighten the new frame bolts.

  7. Align the frame to the body by inserting 2 long pins in the alignment holes on the right side of the frame.
  8. The long pin dimensions are 19 mm by 203 mm (0.750 in by 8.0 in).

    Notice: Use the correct fastener in the correct location. Replacement fasteners must be the correct part number for that application. Fasteners requiring replacement or fasteners requiring the use of thread locking compound or sealant are identified in the service procedure. Do not use paints, lubricants, or corrosion inhibitors on fasteners or fastener joint surfaces unless specified. These coatings affect fastener torque and joint clamping force and may damage the fastener. Use the correct tightening sequence and specifications when installing fasteners in order to avoid damage to parts and systems.

  9. Install the new frame bolts and washers.
  10. Tighten
    Tighten the bolts to 180 N·m (133 lb ft).

  11. Install the engine mounts. Refer to Engine Engine Mount Replacement with 3.1 or Engine Mount Replacement with 3.8 in Engine Mechanical.
  12. Install the transaxle mounts. Refer to Transmission Mount Replacement with 4T60-E or Transmission Mount Replacement with 4T65-E in Automatic Transaxle.
  13. Install the lower ball joints. Refer to Lower Control Arm Ball Joint Replacement in Front Suspension.
  14. Install the power steering cooler line pipe brackets, if removed. Refer to or in Power Steering.
  15. Install the intermediate shaft to the steering gear stub shaft. Refer to Intermediate Steering Shaft Replacement in Power Steering.
  16. Install the front tire and wheel. Refer to in Tires and Wheels.
  17. Remove the jackstand. Lower the vehicle.
  18. Remove the following tools:
  19. Refer to Engine Support Fixture with 3.1 or Engine Support Fixture with 3.8 in Engine Mechanical.

  20. Connect the battery ground negative cable. Refer to Battery Negative Cable Disconnection and Connection in Engine Controls.
  21. Install the air cleaner and duct, if removed. Refer to Air Cleaner Assembly Replacement with 3.1 or Air Cleaner Assembly Replacement with 3.8 Engine Controls.
  22. Inspect the front wheel alignment and adjust the alignment, if necessary. Refer to Wheel Alignment Measurement in Wheel Alignment.