GM Service Manual Online
For 1990-2009 cars only

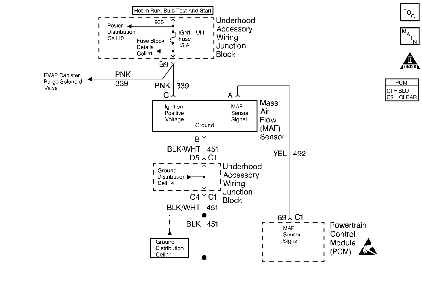
Object Number: 240172  Size: MF

Circuit Description

The Mass Air Flow (MAF) sensor measures the amount of air which passes through it into the engine during a given time. The PCM uses the mass air flow information to monitor engine operating conditions for fuel delivery calculations. A large quantity of air entering the engine indicates an acceleration or high load situation, while a small quantity of air indicates deceleration or idle.

The MAF sensor produces a frequency signal which can be monitored using a scan tool. The frequency will vary within a range of around 2000 Hertz at idle to near 10,000 Hertz at maximum engine load. DTC P0103 will be set if the signal from the MAF sensor is above the possible range of a normally operating MAF sensor.

Conditions for Setting the DTC

    •  The engine is running.
    •  MAF signal frequency is above 11,500 Hertz (11.5 kHz).
    •  Above conditions present for 0.5 seconds.
    •  Throttle angle below 50%.

Action Taken When the DTC Sets

    • The PCM will illuminate the malfunction indicator lamp (MIL) during the first trip in which the diagnostic test has been run and failed.
    • The PCM will store conditions which were present when the DTC set as Freeze Frame and Failure Records data.

Conditions for Clearing the MIL/DTC

    • The PCM will turn OFF the MIL during the third consecutive trip in which the diagnostic has been run and passed.
    • The History DTC will clear after 40 consecutive warm-up cycles have occurred without a malfunction.
    • The DTC can be cleared by using the scan tool.

Diagnostic Aids

    •  Check for the following conditions:
    •  Poor connection at PCM Inspect harness connectors for backed out terminals, improper mating, broken locks, improperly formed or damaged terminals, and poor terminal to wire connection.
    •  Misrouted harness Inspect the MAF sensor harness to ensure that it is not routed too close to high voltage wires such as spark plug leads.
    •  Damaged harness Inspect the wiring harness for damage. If the harness appears to be OK, observe the scan tool while moving connectors and wiring harnesses related to the MAF sensor A change in the display will indicate the location of the fault.

If DTC P0103 cannot be duplicated, the information included in the Fail Records data can be useful in determining vehicle mileage since the DTC was last set.

Test Description

The numbers below refer to the step numbers on the Diagnostic Table:

  1. This step verifies that the problem is present at idle.

  2. A frequency reading with the MAF sensor connector disconnected indicates an Electro-Magnetic Interference (EMI) related fault or a poor connection.

  3. This vehicle is equipped with a PCM which utilizes an Electrically Erasable Programmable Read Only Memory (EEPROM). When the PCM is being replaced, the new PCM must be programmed. Refer to Powertrain Control Module Replacement/Programming .

Step

Action

Value(s)

Yes

No

1

Was the Powertrain OBD System Check performed?

--

Go to Step 2

Go to Powertrain On Board Diagnostic (OBD) System Check

2

  1. Start engine.
  2. With the engine idling, monitor MAF FREQUENCY display on the scan tool Eng 1 data list.

Is MAF FREQUENCY below the specified value?

11.5 kHz (11,500 Hertz)

Go to Step 4

Go to Step 3

3

  1. Ignition ON, engine OFF.
  2. Review and record scan tool Fail Records data.
  3. Operate vehicle within Fail Records conditions as noted.
  4. Using a scan tool, monitor SPECIFIC DTC info for DTC P0103.

Does scan tool indicate DTC P0103 failed this ignition?

--

Go to Step 4

Go to Diagnostic Aids

4

  1. Turn the ignition OFF.
  2. Disconnect the MAF sensor connector.
  3. Start engine.
  4. Using a scan tool, monitor MAF FREQUENCY.

Does scan tool indicate a MAF FREQUENCY at the specified value?

0 Hz

Go to Step 5

Go to Step 7

5

  1. Check for a poor connection at the MAF sensor harness terminals.
  2. If a poor connection is found, replace faulty terminal(s). Refer to Wiring Repairs in Wiring Systems.

Was a poor connection found?

--

Go to Step 10

Go to Step 6

6

Replace the MAF sensor. Refer to Mass Airflow Sensor Replacement .

Is the action complete?

--

Go to Step 10

--

7

  1. Check MAF harness for incorrect routing.
  2. •  Near secondary ignition wires or coils:
    •  Near other high voltage components (solenoids, relays, motors).
  3. If incorrect routing is found, correct harness routing.

Was a problem found?

--

Go to Step 10

Go to Step 8

8

  1. Check MAF signal circuit terminal connections at the PCM.
  2. If a poor connection is found, replace faulty terminal(s). Refer to Connector Repairs in Wiring Systems.

Was a poor connection found?

--

Go to Step 10

Go to Step 9

9

Important: The replacement PCM must be programmed.

Replace the PCM. Refer to Powertrain Control Module Replacement/Programming .

Is the action complete?

--

Go to Step 10

--

10

  1. Ignition ON, engine OFF, review and record scan tool Fail Records data.
  2. Clear DTCs.
  3. Operate vehicle within Fail Records conditions as noted.
  4. Using a scan tool, monitor SPECIFIC DTC info for DTC P0103.

Does scan tool indicate DTC P0103 failed this ignition?

--

Go to Step 2

Repair complete