GM Service Manual Online
For 1990-2009 cars only

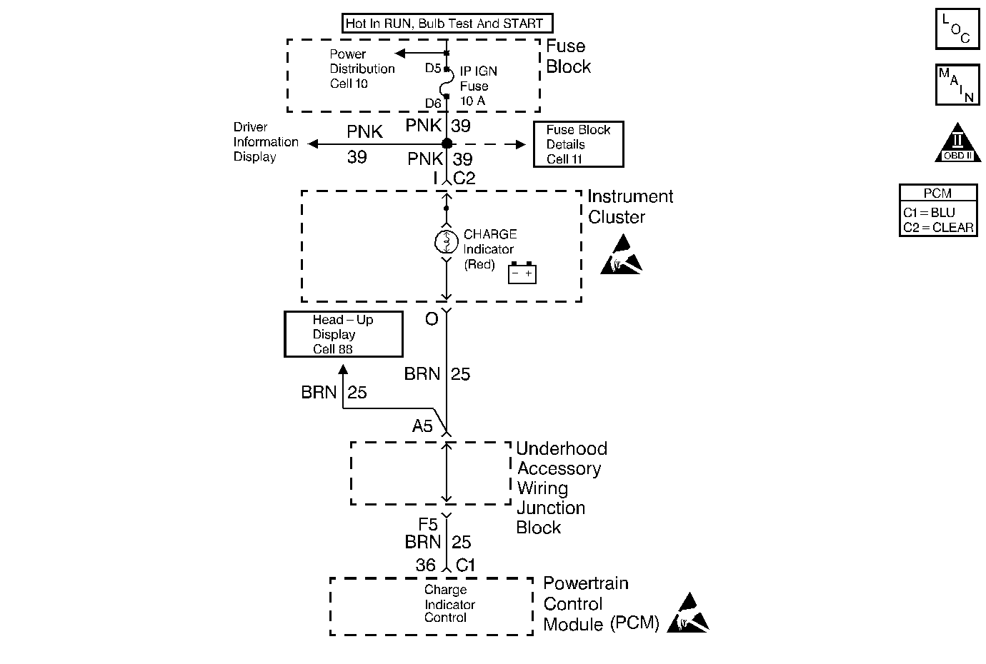
DTC P1663 Charging System Lamp Control Circuit Pontiac


Object Number: 240265  Size: MF
Indicators and Gauges
Engine Controls Component Views
OBD II Symbol Description Notice
Handling ESD Sensitive Parts Notice
Handling ESD Sensitive Parts Notice

Circuit Description

Output Driver Modules (ODMs) are used by the PCM to turn on many of the current-driven devices that are needed to control various engine and Transaxle functions. Each ODM is capable of controlling up to 7 separate outputs by applying ground to the device which the PCM is commanding ON. Unlike the Quad Driver Modules (QDMs) used in prior model years, ODMs have the capability of diagnosing each output circuit individually. DTC P1663 set indicates an improper voltage level on the output circuit that controls the generator lamp.

Conditions for Setting the DTC

    • The ignition is ON.
    • An improper voltage level has been detected on the output circuit which controls the generator lamp.
    • The above conditions are present for at least 30 seconds.

Action Taken When the DTC Sets

    • The PCM will not illuminate the Malfunction Indicator Lamp (MIL).
    • The PCM will store conditions which were present when the DTC set as Fail Records data only. This information will not be stored as Freeze Frame data.

Conditions for Clearing the MIL/DTC

    • A history DTC will clear after 40 consecutive warm-up cycles have occurred without a malfunction.
    • DTC can be cleared by using the scan tool Clear Info function or by disconnecting the PCM battery feed.

Diagnostic Aids

Check for the following conditions:

    • Poor connection at the PCM. Inspect harness connectors for backed out terminals, improper mating, broken locks, improperly formed or damaged terminals, and poor terminal to wire connection.
    • Damaged harness. Inspect the wiring harness for damage.
    • If the harness appears to be OK, disconnect the PCM, turn the ignition ON and observe a digital multimeter connected between the generator lamp control circuit and ground at the PCM harness connector while moving connectors and wiring harnesses related to the generator lamp. A change in voltage will indicate the location of the fault.

Reviewing the Fail Records vehicle mileage since the diagnostic test last failed may help determine how often the condition that caused the DTC to be set occurs. This may assist in diagnosing the condition.

Test Description

Number(s) below refer to the step number(s) on the Diagnostic Table.

  1. Normally, ignition feed voltage should be present on the output driver circuit with the PCM disconnected and the ignition turned ON.

  2. Checks for a shorted component or a short to B+ on the output driver circuit. Either condition would result in a measured current of over 1.5 amps. Also checks for a component that is going open while being operated, resulting in a measured current of 0 amps.

  3. Checks for a faulty instrument cluster.

  4. This vehicle is equipped with a PCM which utilizes an Electrically Erasable Programmable Read Only Memory (EEPROM). When the PCM is being replaced, the new PCM must be programmed.

Step

Action

Value(s)

Yes

No

1

Was the Powertrain On-Board Diagnostic System Check performed?

--

Go to Step 2

Go to the Powertrain On Board Diagnostic (OBD) System Check

2

Was the instrument cluster system check in Engine Electrical performed?

--

Go to Step 3

Go to Instrument Cluster System Check in Instrument Panel, Gauges and Console

3

  1. Ignition OFF, disconnect the PCM.
  2. Ignition ON.
  3. Using J 39200 digital multimeter (DVM), measure voltage between the affected PCM output circuit at the PCM harness connector and ground.

Is voltage near the specified value?

B+

Go to Step 4

Go to Step 7

4

  1. DVM to 10 amp scale, install DVM to measure current between the affected PCM output circuit and ground.
  2. Monitor the current reading on the DVM for at least 2 minutes.

Does the current reading remain between the specified values?

0.05 Amp-1.5 Amps

Go to Step 12

Go to Step 5

5

  1. Disconnect the instrument panel cluster (leave the PCM disconnected).
  2. Using DVM, measure voltage between the affected PCM output circuit and ground.

Is voltage at the specified value?

0V

Go to Step 15

Go to Step 6

6

Locate and repair short to voltage in affected PCM output circuit.

Is action complete?

--

Go to Step 3

--

7

Check the ignition feed fuse for the instrument panel cluster indicator lamps.

Is the fuse blown?

--

Go to Step 8

Go to Step 9

8

  1. Locate and repair short to ground in ignition feed circuit for the instrument panel cluster indicator lamps. Refer to Wiring Repairs in Wiring Systems.
  2. Replace fuse.

Is action complete?

--

Go to Step 3

--

9

  1. Disconnect the instrument panel cluster.
  2. Ignition ON, measure voltage between the ignition feed circuit for the instrument panel cluster indicator lamps and ground.

Is voltage near the specified value?

B+

Go to Step 10

Go to Step 14

10

  1. Check the affected PCM output circuit for an open or a short to ground.
  2. If a problem is found, repair the affected PCM output circuit. Refer to Wiring Repairs in Wiring Systems.

Was a problem found?

--

Go to Step 3

Go to Step 11

11

  1. Check the affected PCM output circuit and the ignition feed circuit for a poor connection at the instrument panel cluster and at the PCM.
  2. If a problem is found, replace faulty terminal(s). Refer to Wiring Repairs in Wiring Systems.

Was a problem found?

--

Go to Step 3

Go to Step 15

12

  1. Ignition OFF, reconnect the PCM and disconnect the instrument panel cluster.
  2. Ignition ON, connect a test light between the affected PCM output circuit and the ignition feed circuit at the instrument panel cluster harness connector.
  3. Using the scan tool outputs test function, cycle the affected lamp ON and OFF.

Does the test light flash ON and OFF?

--

Go to Diagnostic Aids

Go to Step 13

13

  1. Check the affected PCM output circuit for a poor connection at the PCM.
  2. If a problem is found, replace faulty terminal. Refer to Connector Repairs in Wiring Systems.

Was a problem found?

--

Go to Step 3

Go to Step 16

14

Locate and repair open in ignition feed circuit to the instrument panel cluster indicator lamps. Refer to Wiring Repairs in Wiring Systems.

Is action complete?

--

Go to Step 3

--

15

Replace the instrument panel cluster. Refer to Instrument Cluster Replacement in Instrument Panel, Gauges and Console.

Is action complete?

--

Go to Step 3

--

16

Replace the PCM.

Important: Replacement PCM must be programmed. Refer to Powertrain Control Module Replacement/Programming .

Is action complete?

--

Go to Step 3

--

17

  1. Review and record scan tool Fail Records data.
  2. Clear DTCs.
  3. Operate vehicle within Fail Records conditions as noted.
  4. Using a scan tool, monitor SPECIFIC DTC info for DTC P1663 until the DTC P1663 test runs.

Note test result; does scan tool indicate DTC P1663 failed this ign?

--

Go to Step 3

System OK