GM Service Manual Online
For 1990-2009 cars only

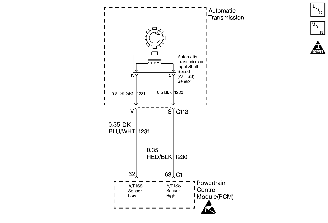
Object Number: 160448  Size: MF
Automatic Transmission Components
Automatic Transmission Controls Schematics
OBD II Symbol Description Notice
Handling ESD Sensitive Parts Notice

Circuit Description

The Automatic Transmission Input Speed Sensor (A/T ISS) is a permanent magnet with a coil of wire wound around it. The A/T ISS mounts in the transmission case facing the drive sprocket of the input shaft. As the drive sprocket is driven by the turbine shaft, an AC signal is induced in the input speed sensor. Higher vehicle speeds induce a higher frequency and voltage at the sensor.

An air gap of 0.08-2.12 mm (0.0032-0.0834 in) must be maintained between the sensor and the drive sprocket to insure proper operation of the A/T ISS. The A/T ISS is used by the PCM in order to control line pressure, TCC apply and release and transmission shift patterns. This sensor is also used to calculate the gear ratios and TCC slippage.

If the PCM detects a low input speed while the vehicle and engine speeds are high, then DTC P0717 sets. DTC P0717 is a Type B DTC.

Conditions for Setting the DTC

    • No VSS DTCs P0502 or P0503 are set.
    • No TFP Val. Position Sw. DTC P1810 is set.
    • The engine speed is greater than 500 RPM for 5 seconds, and not in fuel shut off.
    • The TFP Val. Position Sw. indicates that the transmission is not in Park or Neutral.
    • The vehicle speed is greater than 8 km/h (5 mph).
    • The input speed is less than 50 RPM for 5 seconds.

Action Taken When the DTC Sets

    • The PCM illuminates the Malfunction Indicator Lamp (MIL).
    • The PCM disables shift adapts.
    • The PCM inhibits Torque Converter Clutch.
    • The PCM inhibits 4th gear when the transmission is in Hot Mode.

Conditions for Clearing the MIL/DTC

    • The PCM turns OFF the MIL after three consecutive trips without a failure reported.
    • A scan tool can clear the DTC from the PCM history. The PCM clears the DTC from the PCM history if the vehicle completes 40 warm-up cycles without a failure reported.
    • The PCM cancels the DTC default actions when the fault no longer exists and the ignition is OFF long enough in order to power down the PCM.

Diagnostic Aids

    • Check for Electromagnetic Interference (EMI) in circuits 1230 and 1231. EMI may be induced if the harness is routed along the spark plug wires.
    • Inspect the wiring at the PCM, the transmission 20-way connector, the A/T ISS 2-way connector and all other circuit connecting points for the following conditions:
       - A bent terminal
       - A backed out terminal
       - A damaged terminal
       - Poor terminal tension
       - A chafed wire
       - A broken wire inside the insulation
       - Moisture intrusion
       - Corrosion
    • When diagnosing for an intermittent short or open, massage the wiring harness while watching the test equipment for a change.
    • Inspect the transmission 20-way connector for transmission fluid.

Test Description

The numbers below refer to the step numbers on the diagnostic table.

  1. This step verifies that the PCM receives a signal from the A/T ISS Sensor.

  2. This step verifies that there are no opens in the circuitry from the A/T ISS to the PCM.

  3. This step verifies that there are no opens in the circuitry from the A/T ISS to the transmission 20-way connector.

  4. This step performs a resistance check on the A/T ISS and the automatic transmission wiring harness.

DTC P0717 Input Speed Sensor Circuit -- Low Input

Step

Action

Value(s)

Yes

No

1

Was the Powertrain On-Board Diagnostic (OBD) System Check performed?

--

Go to Step 2

Go to Powertrain On Board Diagnostic (OBD) System Check in Engine Controls

2

  1. Install the Scan Tool .
  2. With the engine OFF, turn the ignition switch to the RUN position.
  3. Important: Before clearing the DTC(s), use the Scan Tool in order to record the Freeze Frame and Failure Records for reference. Using the Clear Info function will erase the stored Freeze Frame and Failure Records from the PCM.

  4. Record the DTC Freeze Frame and Failure Records, then clear the DTC(s).
  5. Select Trans ISS on the Scan Tool .
  6. Start the engine.

Does the Scan Tool display a transmission input speed greater than the specified value?

100 RPM

Go to Diagnostic Aids

Go to Step 3

3

  1. Turn the ignition switch to the OFF position.
  2. Disconnect PCM connector C1 (Blue).
  3. Connect the J 39200 Digital Multimeter (DMM) to PCM connector terminal 62 and terminal 63.
  4. Select AC volts on the DMM.
  5. Crank the engine.

Does the DMM display an AC voltage greater than the specified value?

0.1 volts

Go to Step 12

Go to Step 4

4

  1. Turn the ignition switch to the OFF position.
  2. Connect PCM connector C1 (Blue).
  3. Disconnect the transmission 20-way connector.
  4. Connect the J 39775 Jumper Harness to the transmission 20-way connector.
  5. Refer to Automatic Transmission Inline Harness Connector End View .

  6. Connect the J 39200 Digital Multimeter (DMM) from terminal S to terminal V.
  7. Select AC Volts on the DMM.
  8. Start the engine. Additional DTCs will set.

Does the DMM display an AC voltage greater than the specified value?

0.5 volts

Go to Step 5

Go to Step 6

5

  1. Inspect circuit 1230 (RED/BLK) of the engine wiring harness for an open or short to ground.
  2. Inspect circuit 1231 (DK BLU/WHT) of the engine wiring harness for an open or short to ground.

Refer to General Electrical Diagnosis in Wiring Systems.

Did you find and correct the condition?

--

Go to Step 14

--

6

  1. Turn the ignition switch to the OFF position.
  2. Connect the J 39775 Jumper Harness to the transmission 20-way connector.
  3. Refer to Automatic Transmission Inline Harness Connector End View .

  4. Connect a J 39200 Digital Multimeter (DMM), set to ohms, from terminal S to terminal V.
  5. Does the DMM display a resistance greater than the specified value?

1127 ohms at 20°C (68°F)

1428 ohms at 88°C (190°F)

Go to Step 7

Go to Step 8

7

  1. Inspect circuit 1230 (BLK) of the automatic transmission wiring harness assembly for an open or a poor connection.
  2. Inspect circuit 1231 (DK GRN) of the automatic transmission wiring harness assembly for an open.

Refer to General Electrical Diagnosis in Wiring Systems.

Did you find the condition?

--

Go to Step 10

Go to Step 11

8

Is the resistance less than the specified value?

893 ohms at 20°C (68°F)

1132 ohms at 88°C (190°F)

Go to Step 11

Go to Step 9

9

  1. Inspect circuit 1230 (BLK) of the automatic transmission wiring harness assembly for a short to ground.
  2. Inspect circuit 1231 (DK GRN) of the automatic transmission wiring harness assembly for a short to ground.

Refer to General Electrical Diagnosis in Wiring Systems.

Did you find the condition?

--

Go to Step 10

Go to Step 11

10

Replace the Automatic Transmission Wiring Harness Assembly.

Refer to Solenoids and Wiring Harness Replacement .

Is the replacement complete?

--

Go to Step 14

--

11

Replace the Automatic Transmission Input Speed Sensor (A/T ISS).

Refer to Input Speed Sensor Replacement .

Is the replacement complete?

--

Go to Step 14

--

12

Inspect PCM connector C1 (Blue) for bent, damaged or backed out connector pins.

Was the condition found and corrected?

--

Go to Step 14

Go to Step 13

13

Replace the PCM.

Refer to Powertrain Control Module Replacement/Programming in Engine Controls.

Is the replacement complete?

--

Go to Step 14

--

14

In order to verify your repair, using the Scan Tool , perform the following procedure:

  1. Select DTC.
  2. Select Clear Info, then clear the DTC(s).
  3. Operate the vehicle so that the input speed is greater than 120 RPM for 3 seconds.
  4. Select Specific DTC.
  5. Enter DTC P0717.

Has the test run and passed?

--

System OK

Go to Step 1