GM Service Manual Online
For 1990-2009 cars only

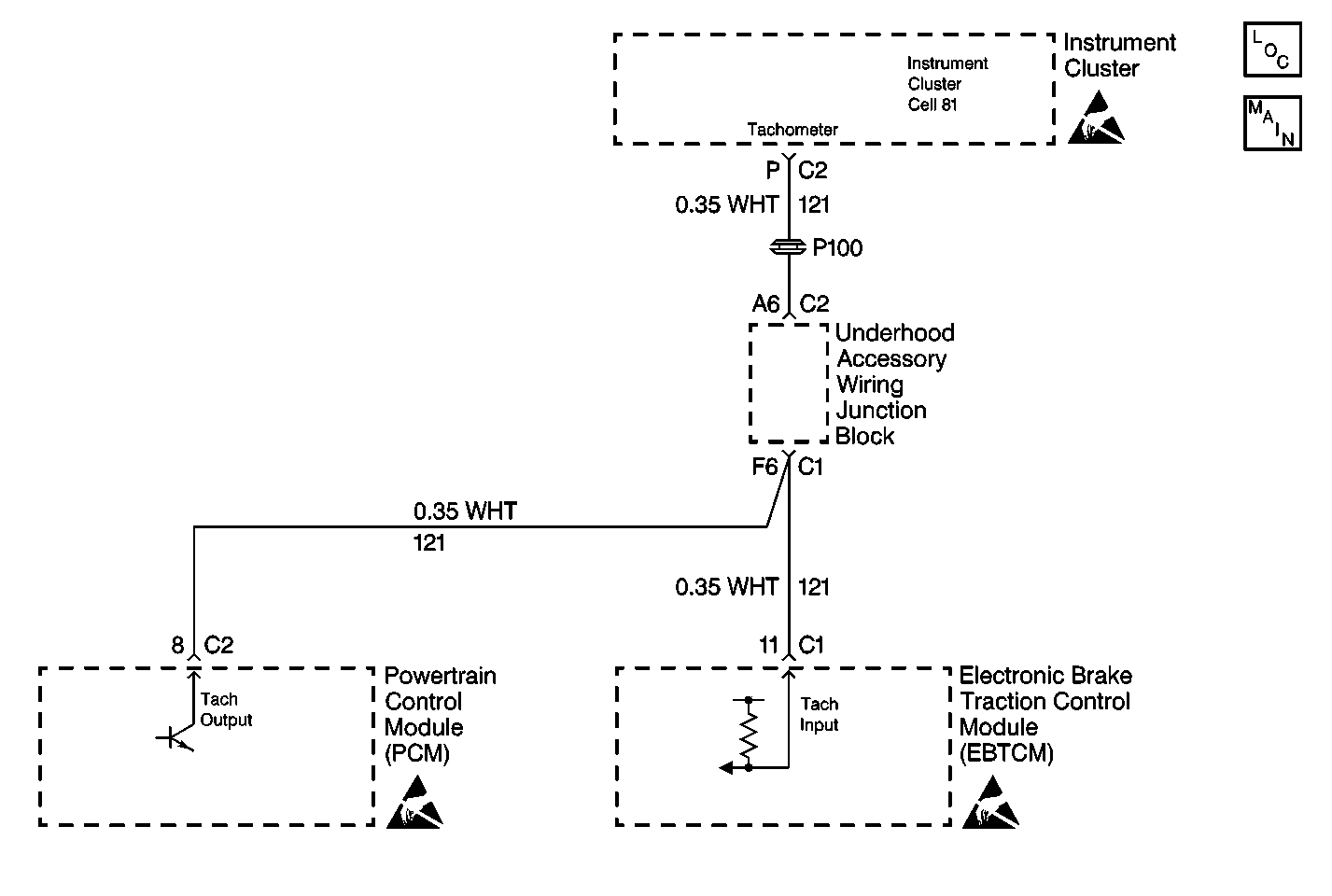
Object Number: 367929  Size: MF
ABS Components
Cell 44: Instrument Cluster Indicators, MSVA and Stop Lamp Switch

Circuit Description

The RPM signal circuit provides the EBTCM with an indication of engine RPM to help determine TCS control methods and rates when a TCS event takes place.

Conditions for Setting the DTC

The EBTCM does not received an RPM input signal after 1 second, after the engine has been started.

Action Taken When the DTC Sets

    • A malfunction DTC is stored.
    • The TRAC OFF indicator is turned on.
    • The TCS is disabled. ABS remains functional.

Conditions for Clearing the DTC

    • The condition for DTC is no longer present and the scan tool Clear DTCs function is used.
    • 100 ignition cycles have passed with no DTC(s) detected.

Diagnostic Aids

Perform a thorough inspection of the wiring. Perform a thorough inspection of the connectors. Failure to carefully and fully inspect the wiring and the connectors may result in misdiagnosis. Misdiagnosis causes part replacement with reappearance of the malfunction.

Test Description

The number(s) below refer to the step number(s) on the diagnostic table.

  1. If the instrument panel tachometer is working properly, the cause of the malfunction is most likely between the underhood accessory wiring junction block and the EBTCM, or the EBTCM itself.

  2. At this point, the PCM is likely causing the malfunction. Refer to the appropriate OBD system check.

DTC C0236 TCS RPM Signal Circuit Malfunction

Step

Action

Value(s)

Yes

No

1

Was the Diagnostic System Check performed?

--

Go to Step 2

Go to Diagnostic System Check - ABS

2

  1. Start the engine.
  2. Vary the engine RPM with the throttle while observing the I/P tachometer.

Does the I/P tachometer work properly as the engine RPM changes?

--

Go to Step 3

Go to Step 4

3

  1. Turn the ignition switch to the OFF position.
  2. Disconnect the PCM connector C2 from the PCM.
  3. Disconnect the EBTCM connector from the EBTCM.
  4. Install the J 39700 Universal Breakout Box with the J 39700-530 Cable Adapter to the EBTCM harness only.
  5. Use a J 39200 DMM to measure the resistance between the PCM harness connector C2 terminal 8 and the J 39700 Universal Breakout Box terminal 11.

Is the resistance within the specified range?

0-5 ohms

Go to Step 9

Go to Step 11

4

  1. Turn the ignition switch to the OFF position.
  2. Disconnect the PCM connector C2 from the PCM.
  3. Disconnect the EBTCM connector from the EBTCM.
  4. Install the J 39700 Universal Breakout Box with the J 39700-530 Cable Adapter to the EBTCM harness only.
  5. Use a J 39200 DMM to measure the resistance between the PCM harness connector C2 terminal 8 and the J 39700 Universal Breakout Box terminal 11.

Is the resistance within the specified range?

0-5 ohms

Go to Step 5

Go to Step 12

5

Use a J 39200 DMM to measure the resistance between the J 39700 Universal Breakout Box terminal 11 and terminal 15.

Is the resistance within the specified range?

OL (Infinite)

Go to Step 6

Go to Step 13

6

  1. Turn the ignition switch to the RUN position
  2. Use a J 39200 DMM to measure the voltage between the J 39700 Universal Breakout Box terminal 11 and terminal 15.

Is the voltage within the specified range?

0-2 V

Go to Step 7

Go to Step 14

7

  1. Inspect the PCM connector C2 for the following:
  2. • Inspect for damage.
    • Inspect for poor terminal contact.
    • Inspect for corrosion.
  3. Inspect the EBTCM connector for the following:
  4. • Inspect for damage.
    • Inspect for poor terminal contact.
    • Inspect for corrosion.
  5. Ensure both the PCM connector C2 and the EBTCM connector are properly retained when connected.

Are the following signs present on either connector:

    • Is poor terminal contact present?
    • Is corrosion present?
    • Is damaged terminals present?

--

Go to Step 15

Go to Step 8

8

  1. Reconnect all the connectors.
  2. Using the scan tool clear the DTC.
  3. Disconnect the scan tool from the DLC.
  4. Start the engine.

Did DTC C0236 reset?

--

Go to Step 10

Go to Diagnostic System Check - ABS

9

Replace the EBTCM. Refer to Electronic Brake and Traction Control Module Replacement .

Is the repair complete?

--

Go to Diagnostic System Check - ABS

--

10

Suspect PCM. Refer to Powertrain On Board Diagnostic (OBD) System Check in Engine Controls 3.1 or Powertrain On Board Diagnostic (OBD) System Check in Engine Controls 3.8.

Is the repair complete?

--

Go to Diagnostic System Check - ABS

--

11

Repair an open between underhood accessory wiring junction block and the EBTCM harness connector terminal 11. Refer to Wiring Repairs in Wiring Systems.

Is the repair complete?

--

Go to Diagnostic System Check - ABS

--

12

Repair an open between underhood accessory wiring junction block and the PCM harness connector C2 terminal 8. Refer to Wiring Repairs in Wiring Systems.

Is the repair complete?

--

Go to Diagnostic System Check - ABS

--

13

Repair a short to ground in CKT 121. Refer to Wiring Repairs in Wiring Systems.

Is the repair complete?

--

Go to Diagnostic System Check - ABS

--

14

Repair a short to voltage in CKT 121. Refer to Wiring Repairs in Wiring Systems.

Is the repair complete?

--

Go to Diagnostic System Check - ABS

--

15

Replace all the terminals or replace the connectors that exhibit signs of the following:

    • That exhibit signs of poor terminal contact.
    • That exhibit signs of corrosion.
    • That exhibit signs of damaged terminals.

Refer to Wiring Repairs in Wiring Systems.

Is the repair complete?

--

Go to Diagnostic System Check - ABS

--