GM Service Manual Online
For 1990-2009 cars only

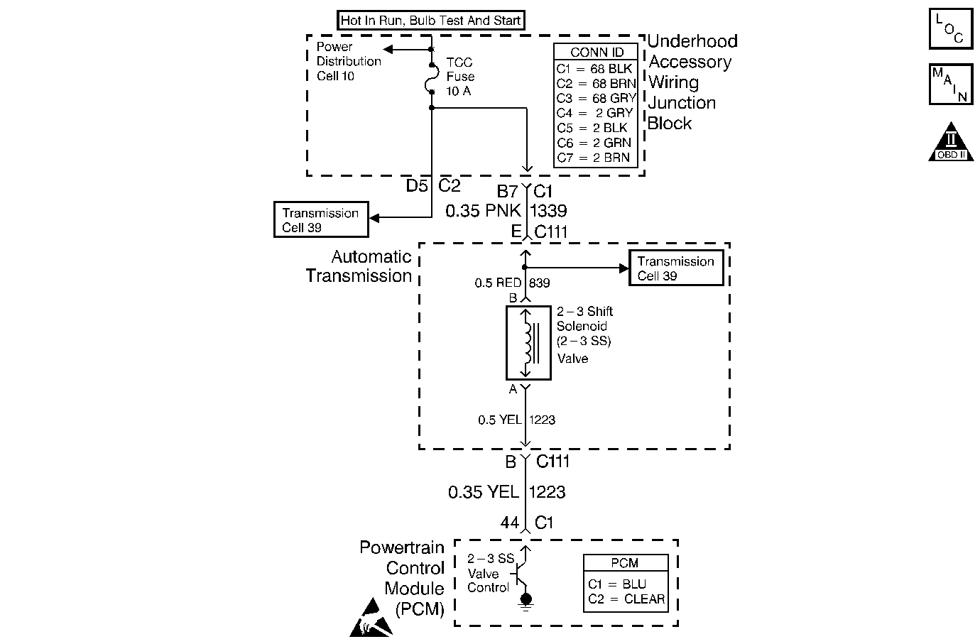
Object Number: 363428  Size: MF
Automatic Transmission Components
Automatic Transmission Controls Schematics
OBD II Symbol Description Notice
Handling ESD Sensitive Parts Notice

Circuit Description

The 2-3 shift solenoid valve (2-3 SS valve) controls the transmission fluid pressure on the 2-3 shift valve. A fused circuit 1339 provides ignition voltage to the solenoid. The powertrain control module (PCM), commands the solenoid ON or OFF, by closing or opening the ground, and monitors voltage levels. When the 2-3 SS valve is commanded ON, the PCM receives low voltage. When the 2-3 SS valve is commanded OFF, the PCM receives high voltage.

DTC P0758 sets if the received voltage is outside the calibration limits, indicating an open or short. DTC P0758 is a type A DTC.

Conditions for Running the DTC

    • System voltage is 10-18 volts.
    • The engine speed is greater than 500 RPM for 5 seconds.
    • Not in fuel shut off.

Conditions for Setting the DTC

DTC P0758 sets if either of the following occurs continuously for 5 seconds:

    • The PCM commands the solenoid ON and the voltage signal to the PCM remains high (B+).
    • The PCM commands the solenoid OFF and the voltage signal to the PCM remains low (0 volts).

Action Taken When the DTC Sets

    • The PCM illuminates the malfunction indicator lamp (MIL).
    • The PCM commands 3rd gear only.
    • The PCM inhibits TCC operation.

Conditions for Clearing the MIL/DTC

    • The PCM turns OFF the MIL during the third consecutive trip in which the diagnostic test runs and passes.
    • A scan tool clears the DTC from PCM history.
    • The PCM clears the DTC from the PCM history if the vehicle completes 40 consecutive warm-up cycles without an emission related diagnostic fault occurring.
    • The PCM cancels the DTC default actions when the fault no longer exists and the ignition is OFF long enough in order to power down the PCM.

Diagnostic Aids

    • Inspect the wiring at the PCM, the transmission connector, 2-3 shift solenoid connector and all other circuit connecting points for the following conditions:
       - A backed out terminal
       - A damaged terminal
       - Reduced terminal tension
       - A chafed wire
       - A broken wire inside the insulation
       - Moisture intrusion
       - Corrosion
    • When diagnosing for an intermittent short or open condition, massage the wiring harness while watching the test equipment for a change.
    • Ensure that the scan tool commanded gear has correct solenoid states and ratio. Refer to Shift Solenoid Valve State and Gear Ratio table.

Test Description

The numbers below refer to the step numbers on the diagnostic table.

  1. This step isolates the fault between the engine harness and the transmission harness.

  2. This step checks if the engine harness circuit 1223 is open.

  3. This step checks if the solenoid and transmission circuit is within resistance specifications.

DTC P0758 2-3 Shift Solenoid -- Electrical

Step

Action

Value(s)

Yes

No

1

Were you sent here from the Powertrain On-Board Diagnostic (OBD) System Check?

--

Go to Step 2

Go to Powertrain On Board Diagnostic (OBD) System Check

2

  1. Install the Scan Tool .
  2. With the engine OFF, turn the ignition switch to the RUN position.
  3. Important: Before clearing the DTCs, use the scan tool in order to record the Freeze Frame and Failure Records. Using the Clear Info function erases the Freeze Frame and Failure Records from the PCM.

  4. Record the Freeze Frame and Failure Records.
  5. Clear the DTC.

Are DTCs P0740, P0753 or P1860 set also?

--

Go to Step 3

Go to Step 6

3

  1. Remove the TCC fuse.
  2. Inspect the fuse for an open.

Refer to Wiring Repairs in Wiring Systems.

Was a condition found and corrected?

--

Go to Step 4

Go to Step 5

4

Important:: The condition that affects this circuit may exist in other connecting branches of the circuit. Refer to Automatic Transmission Controls Schematics , for the complete circuit description.

Inspect for open or short to ground in engine harness circuit 1339 (PNK).

Refer to General Electrical Diagnosis in Wiring Systems.

Was a condition found?

--

Go to Step 18

Go to Step 5

5

Inspect for open or short to ground in transmission harness circuit 839 (RED).

Refer to General Electrical Diagnosis in Wiring Systems.

Was a condition found?

--

Go to Step 15

--

6

  1. Turn the ignition switch OFF.
  2. Disconnect the Automatic Transmission 7-way connector.
  3. Install the J 38835 transmission jumper harness to the engine side of the harness connector.
  4. Connect a test lamp from jumper terminal E to a good known ground using a J 35616-A connector test adapter kit. Refer to Automatic Transmission Inline Harness Connector End View .
  5. Turn the ignition switch to the RUN position. (Additional DTCs may set).

Is the test lamp ON?

--

Go to Step 8

Go to Step 7

7

Repair the open in ignition feed circuit 1339 (PNK) to the transmission connector.

Refer to Wiring Repairs in Wiring Systems.

Was a condition found and corrected?

--

Go to Step 19

--

8

  1. Install the test lamp from terminal E to B of the jumper harness.
  2. Using the scan tool, command the 2-3 shift solenoid valve ON and OFF three times.

Does the test lamp turn On and OFF?

--

Go to Step 10

Go to Step 9

9

Inspect engine wiring harness circuit 1223 (YEL/BLK) for an open, short to ground or short to power.

Refer to General Electrical Diagnosis in Wiring Systems.

Did you find an open or short condition?

--

Go to Step 18

Go to Step 17

10

  1. Turn the ignition OFF.
  2. Disconnect the transmission jumper from the engine harness.
  3. Connect the transmission jumper to the Automatic Transmission 7-way connector.
  4. Connect a J 39200 digital multimeter (DMM) from terminal E to terminal B of the jumper.

Is the measured resistance within the specified range?

19-31 ohms

Go to Step 11

Go to Step 12

11

Connect DMM from jumper terminal B to terminals A, C, D, F and the transmission case.

Are all resistances greater than the specified value

100 ohms

Go to Step 16

Go to Step 15

12

Is the resistance greater than the specified value?

31 ohms

Go to Step 13

Go to Step 14

13

Inspect the transmission harness circuit 839 (RED) and the circuit 1223 (YEL) for an open.

Refer to General Electrical Diagnosis in Wiring Systems.

Was a condition found?

--

Go to Step 15

Go to Step 16

14

  1. Disconnect wiring harness from the 2-3 shift solenoid.
  2. Connect DMM from jumper terminal B to terminal E.

Is resistance greater than the specified value?

100 ohms

Go to Step 16

Go to Step 15

15

Replace the transmission wiring harness.

Refer to Solenoids and Wiring Harness Replacement

Is the replacement complete?

--

Go to Step 19

--

16

Replace the 2-3 shift solenoid valve .

Refer to 2-3 Shift Solenoid Valve Replacement .

Is the replacement complete?

--

Go to Step 19

--

17

Replace the PCM.

Refer to Powertrain Control Module Replacement/Programming in Engine Controls.

Is the replacement complete?

--

Go to Step 19

--

18

Repair the wiring as needed.

Refer to Wiring Repairs in Wiring Systems.

Is the repair complete?

--

Go to Step 19

--

19

Perform the following in order to verify the repair:

  1. Select DTC.
  2. Select Clear DTCs.
  3. Operate the vehicle under the following conditions:
  4. • The engine speed is more than 500 RPM for 5 seconds.
    • The vehicle is not in fuel shut off.
    • The system voltage is 10-18 volts.
    • Drive the vehicle through the 2-3 shift, so that the solenoid is commanded ON and commanded OFF at least 5 seconds each.
    • When the 2-3 SS Valve assembly is commanded ON, the voltage signal decreases to zero.
    • When the 2-3 SS Valve assembly is commanded OFF, the voltage signal increases to B+.
  5. Select Specific DTC.
  6. Enter DTC P0758.

Has the test run and passed?

--

System OK

Go to Step 1