GM Service Manual Online
For 1990-2009 cars only

Circuit Description

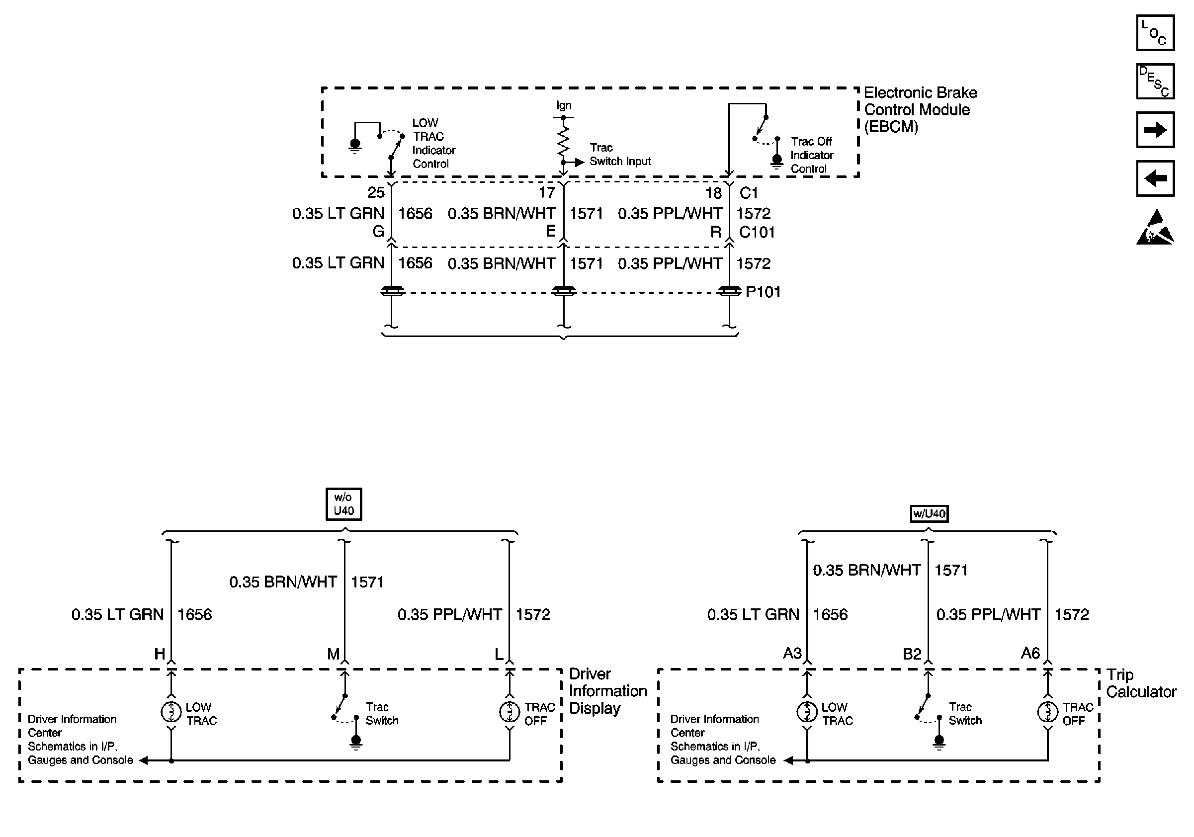
The LOW TRAC Indicator is controlled by the EBTCM. The LOW TRAC Indicator is activated during a traction control event only. When the EBTCM detects a low traction condition it supplies a ground for CKT 1656 turning on the LOW TRAC Indicator.

Diagnostic Aids

    • It is very important that a thorough inspection of the wiring and connectors be performed. Failure to carefully and fully inspect wiring and connectors may result in misdiagnosis, causing part replacement with reappearance of the malfunction.
    • Thoroughly inspect any circuitry that may be causing the complaint for the following conditions:
       - Backed out terminals
       - Improper mating
       - Broken locks
       - Improperly formed or damaged terminals
       - Poor terminal-to-wiring connections
       - Physical damage to the wiring harness
    • The following conditions may cause an intermittent malfunction:
       - A poor connection
       - Rubbed-through wire insulation
       - A broken wire inside the insulation
    • If an intermittent malfunction exists refer to General Electrical Diagnosis in Wiring Systems for further diagnosis.

Test Description

The number(s) below refer to the step number(s) on the diagnostic table.

  1. This step checks for an internal EBTCM malfunction.

  2. This step checks for an open in CKT 1656.

Step

Action

Value(s)

Yes

No

DEFINITION: TRAC OFF indicator is on and traction control was not turned off. There are no DTC(s) set.

SCHEMATIC REFERENCE: ABS Schematics

Driver Information Display and Trip Calculator


Object Number: 588298  Size: FS
Antilock Brake System Component Views
ABS Description
Cell 44: Wheel Speed Sensors
Cell 44: Instrument Cluster Indicators, MSVA and Stop Lamp Switch
Handling ESD Sensitive Parts Notice
Handling ESD Sensitive Parts Notice
Handling ESD Sensitive Parts Notice
Cell 86: Trip Calculator, Continued
Cell 86: Driver Information Display, Continued

1

Was the Diagnostic System Check performed?

--

Go to Step 2

Go to Diagnostic System Check - ABS

2

  1. Turn the ignition switch to the OFF position.
  2. Disconnect the EBTCM connector C1.
  3. Install the J 39700 Universal Pinout Box using J 39700-530 cable adapter to connector C1 only.
  4. Connect a fused jumper wire between terminals 25 and 15 of J 39700 .
  5. Turn the ignition switch to the RUN position.

Does the LOW TRAC Indicator come on?

--

Go to Step 3

Go to Step 4

3

Replace the EBTCM. Refer to Electronic Brake and Traction Control Module Replacement .

Is the replacement complete?

--

Go to Diagnostic System Check - ABS

--

4

  1. Turn the ignition switch to the OFF position.
  2. Disconnect the Driver Information Display (Base) or Trip Calculator (Up Level) connector. Refer to Driver Information Systems Connector End Views in Instrument Panel, Gauges and Console for connector pinout.
  3. Using J 39200 DMM, measure the resistance between terminals 25 of J 39700 and the Driver Information Display (Base) or Trip Calculator (Up Level) harness connector terminal H (Driver Information Display) or A3 (Trip Calculator).

Is the resistance within the range specified in the value(s) column?

0-5ohms

Go to Step 6

Go to Step 5

5

Repair CKT 1656 for an open or high resistance. Refer to Wiring Repairs in Wiring Systems.

Is the repair complete?

--

Go to Diagnostic System Check - ABS

--

6

Suspect the Driver Information Display (Base) or Trip Calculator (Up Level). Refer to Diagnostic System Check - Driver Information Systems in Instrument Panel, Gauges and Console.

Is the repair complete?

--

Go to Diagnostic System Check - ABS

--