GM Service Manual Online
For 1990-2009 cars only
Makes
🢒
Pontiac
🢒
2000
🢒
Grand Prix
🢒
Steering
🢒
Variable Effort Steering
🢒 Steering Assist Schematics
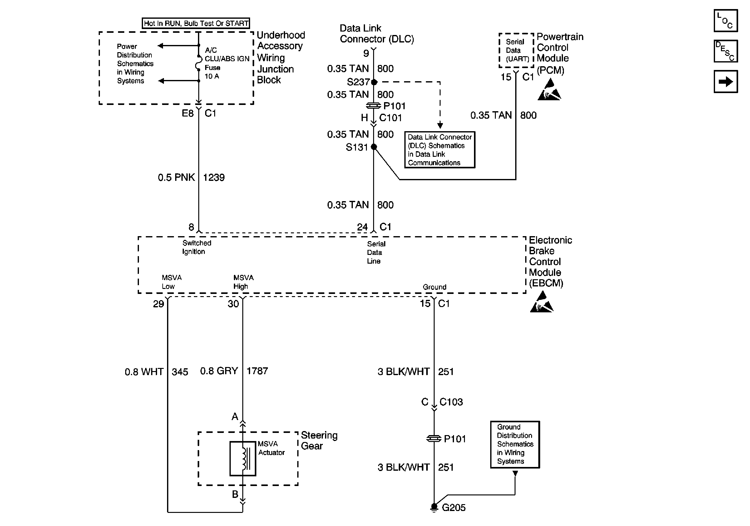
Figure
1:
EBCM, Power and Ground Feeds, Serial Data, and MSVA Actuator
Steering Controls Components
Electronic Brake Traction Control Description
Cell 45: EBTCM, and Wheel Speed Sensors
Handling Electrostatic Discharge Sensitive Parts Notice
Cell 14: LH IP Ground G201
Cell 10: ABS, and BTSI Fuses
Cell 10: ABS BCM, CD CHANGER, CIGAR LTR AUX POWER, INADV POWER BUS,and RADIO HVAC RFA CLUSTER DATA LINK Fuses
Cell 51: BCM Power, DRL Link, Fog Lamps, and Horn
Cell 44: EBTCM, Power, Grounds, and Brake Modulator
Cell 44: EBTCM, Power, Grounds, and Brake Modulator
Cell 50
Cell 10: Battery, Generator, EBTCM, and Underhood Accessory Wiring Junction Block
Power, Ground, DLC and MIL
Figure
2:
Wheel Speed Sensors
Notice Twisted Wires
Steering Controls Components
Electronic Brake Traction Control Description
Cell 44: Driver Information Display and Trip Calculator
Handling ESD Sensitive Parts Notice