GM Service Manual Online
For 1990-2009 cars only
Makes
🢒
Pontiac
🢒
2000
🢒
Grand Prix
🢒
Body and Accessories
🢒
Wipers/Washer Systems
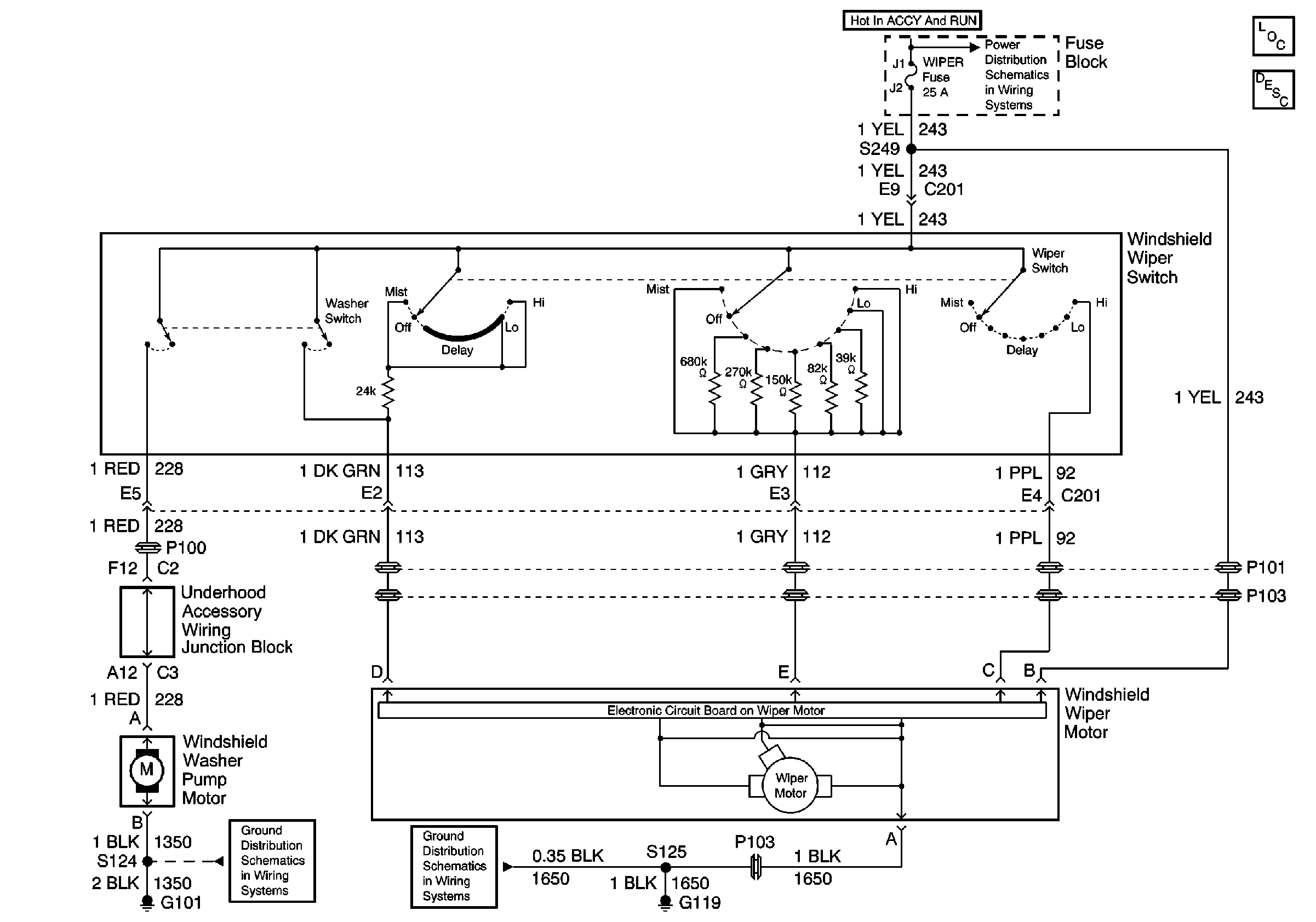
🢒 Wiper/Washer System (Pulse) Schematics
Wiper/Washer System Components
Cell 14: Forward Lamp Grounds G101
Cell 14: Engine Compartment Ground G119
Wiper Crank Arm Caution
Cell 10: IGN MAIN 2 MaxiFuse 60 A