GM Service Manual Online
For 1990-2009 cars only
Figure 1:

Power, Ground and Door Locks


Object Number: 593667  Size: FS
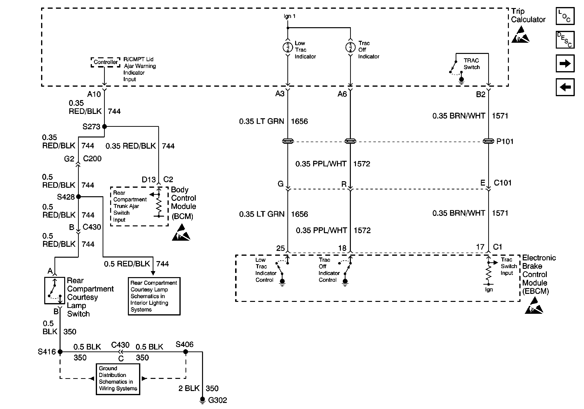
Figure 2:

EBCM Outputs


Object Number: 593668  Size: FS
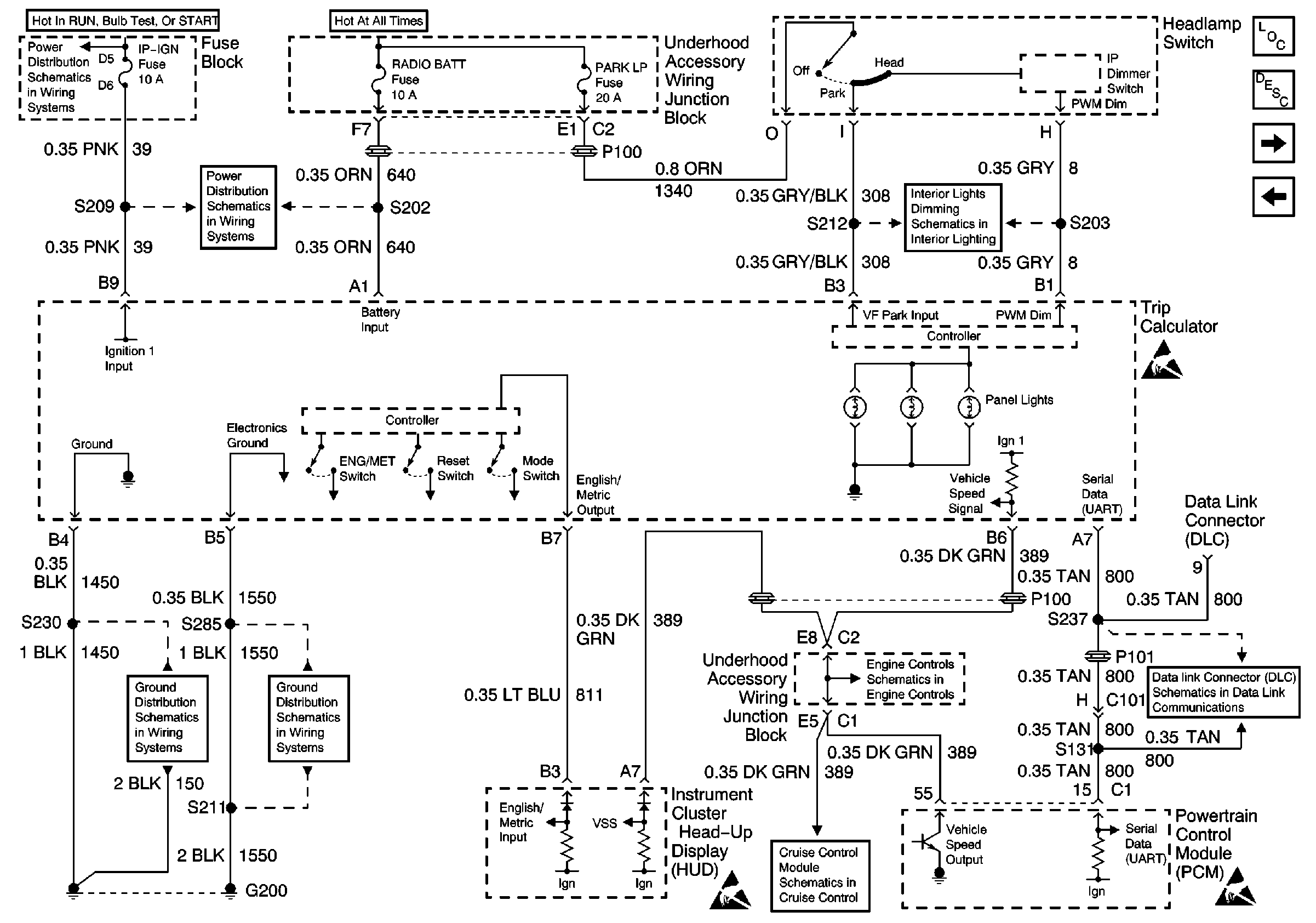
Figure 3:

Trip Computer Power and Ground (RPO U40)


Object Number: 593669  Size: FS
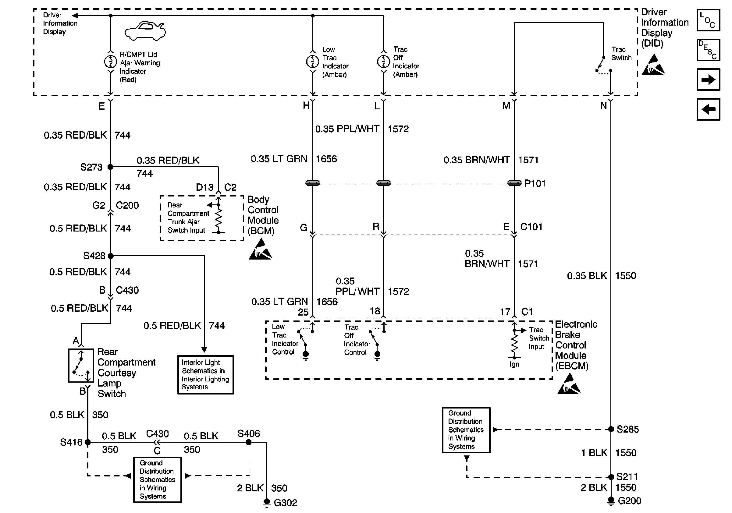
Figure 4:

EBCM Outputs (RPO U40)


Object Number: 593700  Size: FS
Figure 5:

Door Ajar Inputs (RPO U40)


Object Number: 593701  Size: FS