GM Service Manual Online
For 1990-2009 cars only

Rear Seat Fold Down Center Armrest/Console Will Not Stay In Upright Position When Braking (Install Additional Foam Padding)

Subject:Rear Seat Fold Down Center Armrest/Console Will Not Stay in Upright Position When Braking (Install Additional Foam Padding)

Models:2000-2001 Pontiac Grand Prix with Leather Seats Only



Condition

Some owners may comment that the rear seat center fold down armrest or console will not stay stored in the upright position during moderate to heavy braking. This condition only applies to vehicles with leather interior trim.

Cause

This condition may be caused by a combination of the amount of clearance between the material in the seatback opening and the sides of the fold down armrest, and the smoothness/slipperiness of the leather material.

Correction

Using the following service procedure, install additional foam material inside the armrest between the sides of the plastic frame and the leather cover. It is not necessary to remove the armrest from the vehicle.

Important: This procedure requires the use of an automotive trim stapler. If you intend to sublet vehicles requiring this repair to an independent automotive trim shop, please supply them with a copy of this Service Bulletin.

  1. Verify how tightly the armrest fits in the seat back by putting it in the upright (stored) position and then pulling it out and down. Some interference is normal. This will be used for comparing before and after results at the end of this procedure.
  2. Lower the armrest and remove the cupholder by pushing rearward on both front edges while lifting up to disengage the front retainers. The cupholder retainers may also be disengaged by pulling the rear edge forward while lifting up.

  3. Object Number: 800913  Size: MH
  4. Carefully remove the staples that attach the fabric (1) to the armrest panel along both outboard sides of the armrest as shown. Do not remove the staples along the front and rear of the opening. Measure the length of the staples before discarding them.
  5. Obtain a piece of foam tape, such as 3M #03320 Scotchfoamâ„¢ Black Vinyl Foam Tape or the equivalent, and make two foam strips, 200 mm (8 in) long by 25 mm (1 in) wide and 6 mm (1/4 in) thick. If necessary, 3M #06370 Scotchfoamâ„¢ Black Vinyl Foam Tape, which is 19 mm (3/4 in) wide, may be used.

  6. Object Number: 800911  Size: MF
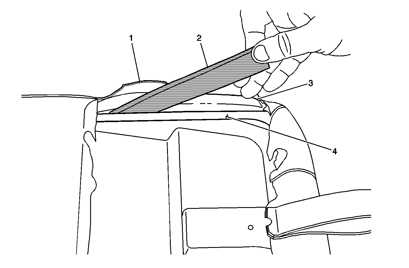
  7. Pull back the leather fabric (1) on one side of the armrest and insert the foam strip (2) between the existing foam padding (3) in the armrest and the plastic armrest panel (4) as shown.

  8. Object Number: 800916  Size: MF
  9. When properly installed the foam strip (3) should be located just below the top edge of the armrest plastic panel (4). Install the second piece of foam on the opposite side of the armrest along the top edge.
  10. With the foam strips properly installed, using the same length staples and a staple gun, reposition the foam padding (2) as necessary and reattach the leather fabric (1) to the armrest plastic panel (4).
  11. Clean and remove any waxes or silicone-type protectants that may have been applied to the leather on the sides of the armrest and in the seatback opening using Goodwrench Vinyl Cleaner, P/N 1050214 (in Canada, use 992821), or the equivalent.
  12. Before installing the cupholder, verify how tightly the armrest fits in the seatback. If the amount of interference has increased, proceed with installing the cupholder. If the amount of interference has not increased, you will have to remove the staples and install a second piece of foam tape on top of the first piece on both sides of the armrest.

Parts Information

Part Number

Description

1050214 (U.S.)

992821 (Canada)

Goodwrench Vinyl Cleaner

Parts are currently available from GMSPO.

Warranty Information

For vehicles repaired under warranty, use:

Labor Operation

Description

Labor Time

C2746

Cupholder, Rear Console - Replace

0.2 hr*

*Includes Installing Foam Strips to Armrest