GM Service Manual Online
For 1990-2009 cars only
Makes
🢒
Pontiac
🢒
2000
🢒
Grand Prix
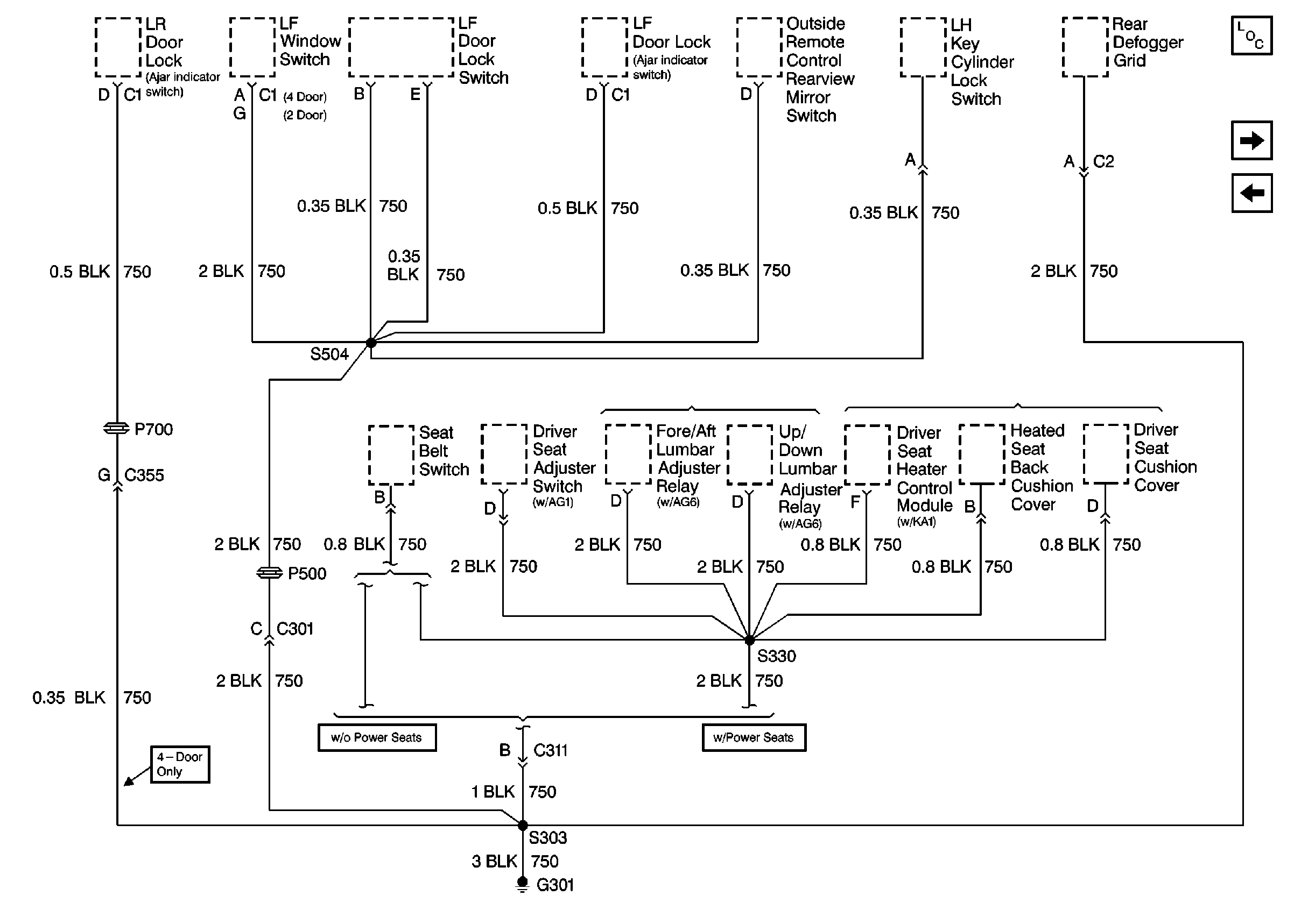
🢒 Cell 14: Left Body Harness Ground G301
Cell 14: Left Body Harness Ground G301
Cell 14: Left Body Harness Ground G301
Power and Grounding Components
Cell 14: Left Rear Compartment Ground G302 (1 of 2)
Cell 14: LH I/P Ground G205