GM Service Manual Online
For 1990-2009 cars only
Makes
🢒
Pontiac
🢒
2000
🢒
Grand Prix
🢒 Cell 150: 5 of 5
Cell 150: 5 of 5
Cell 150: 5 of 5
Entertainment Components
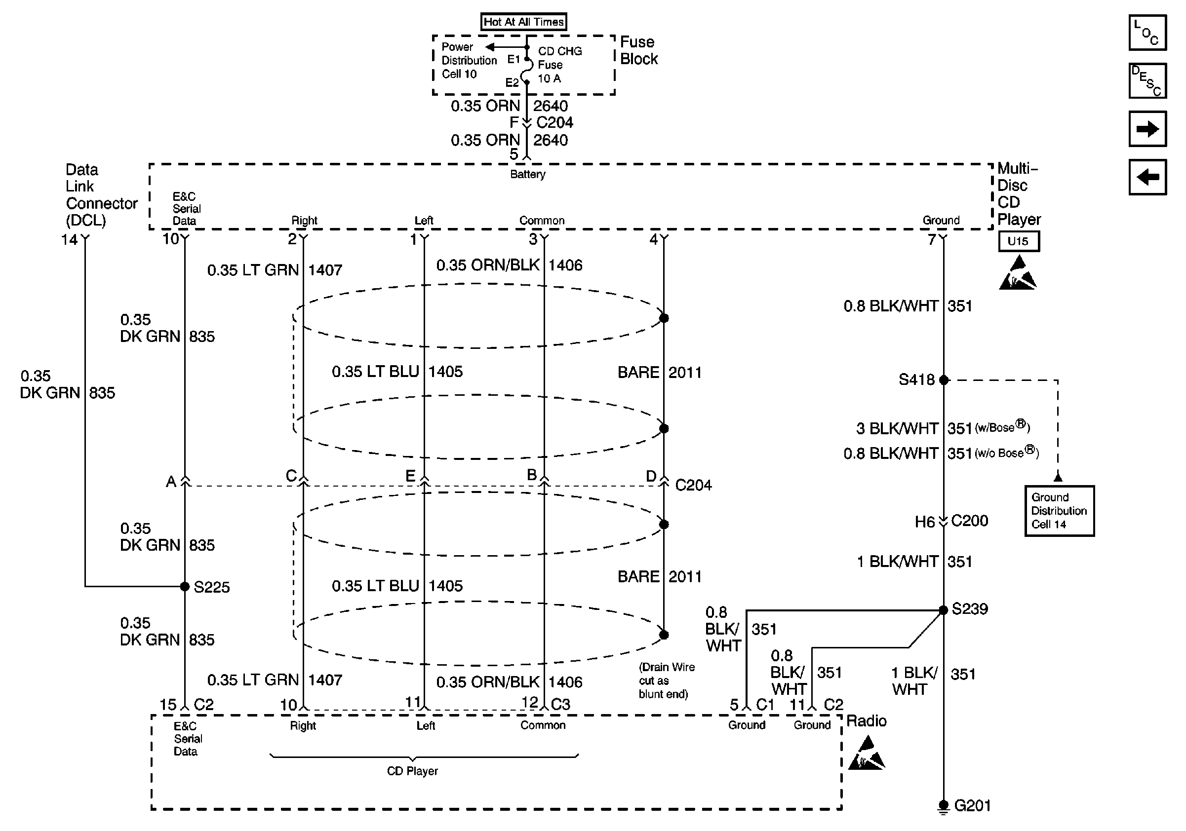
Radio/Audio System Circuit Description
Cell 150: 1 of 5
Cell 150: 3 of 5
Handling ESD Sensitive Parts Notice
Cell 14: LH I/P Ground G201
Handling ESD Sensitive Parts Notice
Cell 11: CD CHNG, AUX CNSL, STOP LAMP, INT LAMP, CIG LTR Fuses