GM Service Manual Online
For 1990-2009 cars only
Makes
🢒
Pontiac
🢒
2000
🢒
Grand Prix
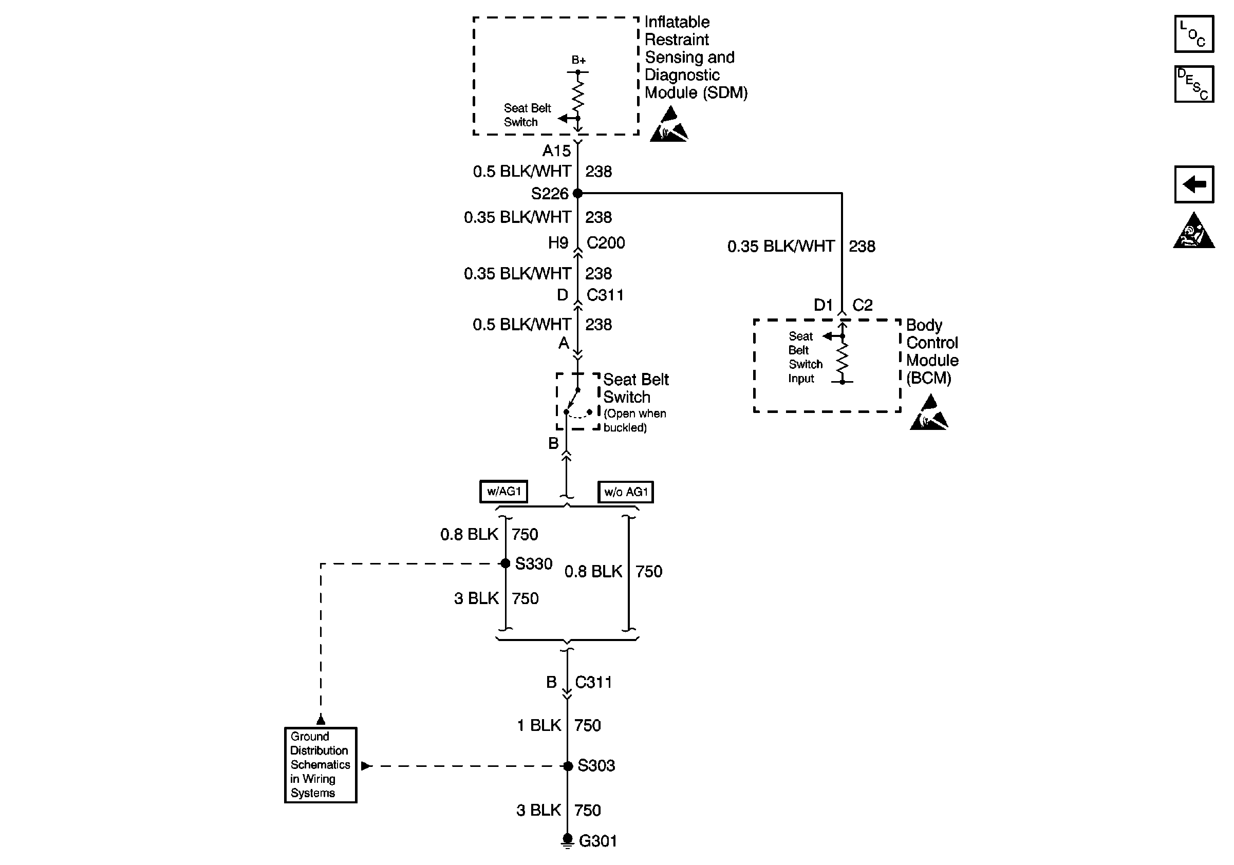
🢒 Seat Belt Switch Input
Seat Belt Switch Input
Seat Belt Switch Input
SIR Component Views
SIR System Component Description and Definitions
Power/Grounds, Inflator Modules
SIR Handling Caution