GM Service Manual Online
For 1990-2009 cars only

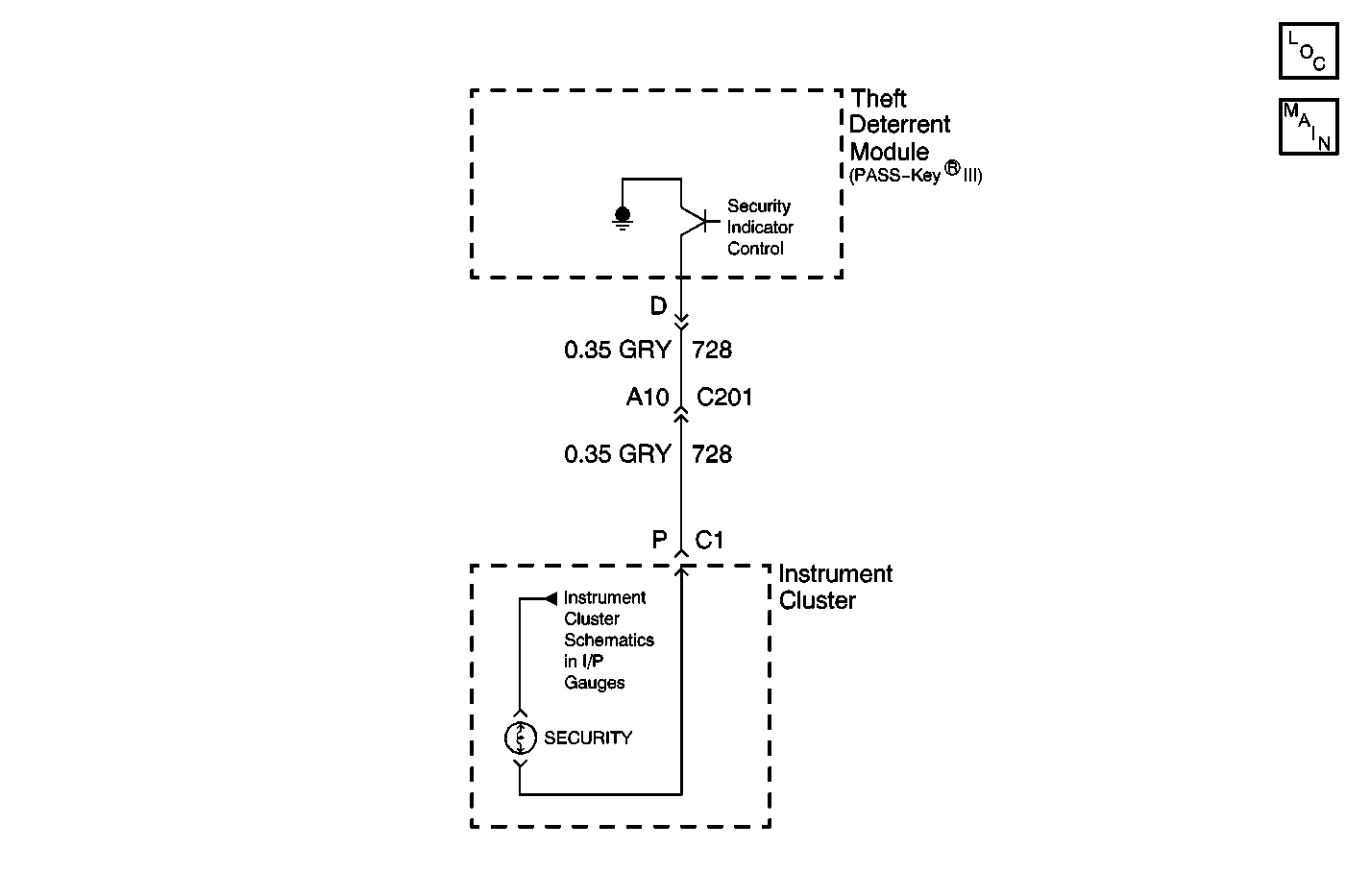
Object Number: 605074  Size: MF

Circuit Description

The SECURITY indicator lamp notifies the driver of the theft deterrent system status. The theft deterrent module controls the operation of the SECURITY indicator lamp. The SECURITY indicator lamp is part of the instrument panel cluster. The instrument panel cluster provides positive voltage to the SECURITY indicator lamp bulb when the ignition switch is in RUN, Bulb Test, or CRANK position. A control circuit is wired between the instrument panel cluster and the theft deterrent module. This control circuit allows the theft deterrent module to provide a path to ground to the SECURITY indicator lamp bulb causing it to remain off, turn on, or flash based on system status. Refer to system operation for indicator statues.

Conditions for Running the DTC

The ignition switch must be in the RUN, Bulb Test or START position.

Conditions for Setting the DTC

The theft deterrent module detects an over-current condition in the SECURITY indicator lamp control circuit for one second.

Action Taken When the DTC Sets

DTC B0686 sets as current DTCs in the theft deterrent module.

Conditions for Clearing the MIL/DTC

    • The theft deterrent module no longer detects an over-current condition in the SECURITY indicator lamp control circuit during the ignition cycle.
    •  A history DTC will clear after 100 consecutive fault-free ignition cycles. An ignition cycle consists of an ignition switch transition from LOCK/OFF to RUN.
    • Using a scan tool.

Diagnostic Aids

A poor or intermittent connection may cause this DTC to set. Refer to Testing for Intermittent Conditions and Poor Connections in Wiring Systems.

Test Description

  1. Determines whether the condition that cause this DTC to set is currently present or is intermittent.

  2. Tests for an intermittent short to B+ in the SECURITY indicator control circuit.

  3. Tests for a short to B+ in the SECURITY indicator lamp control circuit.

  4. Tests for a short to B+ within the instrument panel cluster. It also checks for a faulty indicator bulb.

Step

Action

Yes

No

1

Did you perform the diagnostic system check for the theft deterrent system?

Go to Step 2

Go to Diagnostic System Check - Theft Deterrent

2

While observing the SECURITY indicator, turn the ignition switch from LOCK/OFF to RUN.

Did the SECURITY indicator turn on for at least two seconds?

Go to Step 3

Go to Step 4

3

  1. Using scan tool, clear DTCs.
  2. Cycle the ignition switch from RUN to OFF, then back to RUN.
  3. Check for current DTCs.

Did this DTC reset as a current DTC?

Go to Step 4

Go to Diagnostic Aids

4

Test the control circuit of the SECURITY indicator lamp for a short to B+.

Refer to Circuit Testing and Wiring Repairs in Wiring Systems.

Did you find and correct the condition?

Go to Step 7

Go to Step 5

5

Inspect for a short to B+ in the instrument panel cluster or a faulty indicator bulb.

Did you find and correct the condition?

Go to Step  7

Go to Step 6

6

  1. Replace the theft deterrent module.
  2. Perform the PASSKey® programming procedure. Refer to Programming Theft Deterrent System Components .

Did you complete the replacement?

Go to Step 7

--

7

  1. Use the scan tool in order to clear DTCs.
  2. Operate the vehicle within the Conditions for Running the DTC as specified in the supporting text.

Does the DTC reset?

Go to Step 2

System OK