GM Service Manual Online
For 1990-2009 cars only

System Description

When the ignition is turned ON, the powertrain control module (PCM) will turn ON the in-tank fuel pump. The in-tank fuel pump will remain ON as long as the engine is cranking or running and the PCM is receiving ignition reference pulses. If there are no ignition reference pulses, the PCM will turn the in-tank fuel pump OFF 2 seconds after the ignition is turned ON or 2 seconds after the engine stops running.

The in-tank fuel pump is an electric pump attached to the fuel sender assembly. The fuel pump is designed to provide fuel at a pressure above the pressure needed by the fuel injectors. A fuel pressure regulator, attached to the fuel rail, keeps the fuel available to the fuel injectors at a regulated pressure. Unused fuel is returned to the fuel tank by a separate fuel return pipe.

Test Description

The numbers below refer to the step numbers on the diagnostic table.

  1. This step verifies that the fuel pump is operating.

  2. This step tests for an internal fuel leak. If the fuel pressure drops during this test, then an internal loss of pressure is indicated.

  3. This step tests the fuel pressure regulator. The fuel pressure regulator is controlled by engine vacuum. With engine vacuum applied, the pressure should drop the specified value.

  4. This step inspects the fuel pressure regulator for a fuel leak from the vacuum port. If fuel leaks from the fuel pressure regulator while the fuel pump is commanded ON, replace the fuel pressure regulator.

  5. This step tests for a loss of fuel pressure between the fuel feed pipe shut off adapter and the fuel pump.

  6. This step tests for a leaking fuel injector, or fuel pressure regulator. If the fuel pressure remains constant during this test, the fuel injectors are not leaking fuel.

  7. This step tests for a restricted fuel return pipe. If the fuel pressure is within the specified values, a restriction in the fuel return pipe is indicated.

  8. This step determines if the fuel pressure regulator, or the fuel pump, is the cause of the low fuel pressure. If the pressure rises above the specified value, the fuel pump is OK.

  9. This step verifies that a circuit condition is not the cause of a fuel pressure concern. Inspect all fuel pump electrical circuits thoroughly.

Step

Action

Values

Yes

No

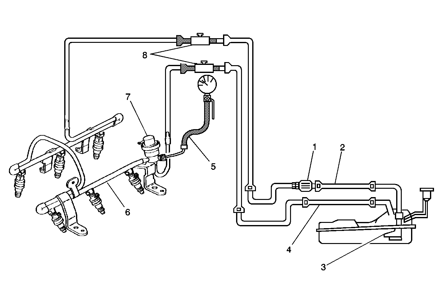
Schematic Reference:

Fuel Supply Components (VIN K)


Object Number: 12286  Size: MF
(1)In-Line Fuel Filter
(2)Fuel Feed Pipe
(3)In-Tank Fuel Pump
(4)Fuel Return Pipe
(5)Fuel Pressure Gauge
(6)Fuel Rail Assembly
(7)Fuel Pressure Regulator
(8)Fuel Pipe Shut-Off Adapters
or
Object Number: 694918  Size: MF
(1)Fuel filter
(2)Fuel feed pipe
(3)Fuel sender assembly
(4)Fuel return pipe
(5)Fuel pressure gauge
(6)Fuel rail assembly
(7)Fuel pressure regulator
(8)Fuel shut off adapters

1

Did you perform the Diagnostic System Check-Engine Controls?

--

Go to Step 2

Go to Diagnostic System Check - Engine Controls

2

Important: Inspect the fuel system for damage, or external leaks, before proceeding with this diagnostic.

  1. Turn ON the ignition, with the engine OFF.
  2. Command the fuel pump ON with a scan tool.

Does the fuel pump operate?

--

Go to Step 3

Go to Fuel Pump Electrical Circuit Diagnosis

3

Important: Verify there is adequate fuel in the fuel tank before proceeding with this diagnostic.

  1. Turn OFF the ignition.
  2. Install the fuel pressure gauge. Refer to Fuel Pressure Gage Installation and Removal .
  3. Tun ON the ignition, with the engine OFF.
  4. Command the fuel pump ON with a scan tool.
  5. Important: 

       • It may be necessary to command the fuel pump ON a few times, in order to obtain the highest possible fuel pressure.
       • Do not start the engine.

  6. Observe the fuel pressure gauge, with the fuel pump commanded ON.

Is the fuel pressure within the specified range?

364-405 kPa (53-59 psi) VIN K

336-375 kPa (48-54 psi) VIN 1

Go to Step 4

Go to Step 12

4

Important: The fuel pressure may vary slightly when the fuel pump stops running. After the fuel pump stops running, the fuel pressure should stabilize and remain constant.

Monitor the fuel pressure gauge for 1 minute.

Does the fuel pressure drop more than the specified value?

34 kPa (5 psi)

Go to Step 9

Go to Step 5

5

  1. Relieve the fuel pressure to the first specified value.
  2. Monitor the fuel pressure gauge for 5 minutes.

Does the fuel pressure drop more than the second specified value?

69 kPa (10 psi)

14 kPa (2 psi)

Go to Step 24

Go to Step 6

6

  1. Turn OFF the ignition for 15 seconds.
  2. Turn ON the ignition, with the engine OFF.
  3. Monitor the fuel pressure gauge.
  4. Start the engine.

Does the fuel pressure drop the specified value when the engine is started?

21-69 kPa (3-10 psi)

Go to Step 7

Go to Step 8

7

  1. Operate the vehicle within the conditions of the customers concern.
  2. Monitor the fuel related parameters with a scan tool.

Do any of the scan tool parameters indicate a lean condition?

--

Go to Step 17

Go to Symptoms - Engine Controls

8

  1. Disconnect the vacuum hose from the fuel pressure regulator.
  2. Monitor the fuel pressure gauge.
  3. Idle the engine.
  4. Apply 12-14 inches of vacuum to the fuel pressure regulator with a hand held vacuum pump.

Does the fuel pressure drop the specified value when the vacuum is applied?

21-69 kPa (3-10 psi)

Go to Step 21

Go to Step 23

9

  1. Turn OFF the ignition.
  2. Remove the vacuum hose from the fuel pressure regulator.
  3. Turn ON the ignition, with the engine OFF.
  4. Command the fuel pump ON with a scan tool.
  5. Inspect for a fuel leak from the fuel pressure regulator vacuum port.

Is the fuel pressure regulator leaking fuel?

--

Go to Step 23

Go to Step 10

10

  1. Turn OFF the ignition.
  2. Relieve the fuel pressure. Refer to Fuel Pressure Relief .
  3. Disconnect the fuel feed hose and the fuel return hose from the fuel rail pipes. Refer to Metal Collar Quick Connect Fitting Service .
  4. Install the J 37287 fuel pipe shut off adapters between the fuel hoses and the fuel rail pipes.
  5. Open the valves on the fuel pipe shut off adapters.
  6. Turn ON the ignition, with the engine OFF.
  7. Command the fuel pump ON with a scan tool.
  8. Bleed the air from the fuel pressure gauge.
  9. Command the fuel pump ON and then OFF with a scan tool.
  10. Close the fuel feed pipe shut off valve.
  11. Monitor the fuel pressure gauge for 1 minute.

Does the fuel pressure remain constant?

--

Go to Step 19

Go to Step 11

11

  1. Turn OFF the ignition.
  2. Open the fuel feed pipe shut off valve.
  3. Turn ON the ignition, with the engine OFF.
  4. Command the fuel pump ON and then OFF with a scan tool.
  5. Close the fuel return pipe shut off valve.
  6. Monitor the fuel pressure gauge for 1 minute.

Does the fuel pressure remain constant?

--

Go to Step 23

Go to Step 20

12

Is the fuel pressure above the specified value?

405 kPa (59 psi) VIN K

375 kPa (54 psi) VIN 1

Go to Step 14

Go to Step 13

13

Is the fuel pressure above the specified value?

0 kPa (0 psi)

Go to Step 16

Go to Step 17

14

  1. Turn OFF the ignition.
  2. Relieve the fuel pressure. Refer to Fuel Pressure Relief .
  3. Disconnect the fuel return hose from the fuel rail pipe. Refer to Metal Collar Quick Connect Fitting Service .
  4. Attach a length of flexible fuel hose to the fuel rail outlet passage.
  5. Place the open end of the flexible fuel hose into an approved gasoline container.
  6. Turn ON the ignition, with the engine OFF.
  7. Monitor the fuel pressure gauge while the fuel pump is operating.

Is the fuel pressure within the specified range?

364-405 kPa (53-59 psi) VIN K

336-375 kPa (48-54 psi) VIN 1

Go to Step 22

Go to Step 15

15

Inspect the fuel return pipe and the fuel rail outlet passage for a restriction.

Did you find and correct the condition?

--

Go to Step 25

Go to Step 23

16

  1. Turn OFF the ignition.
  2. Relieve the fuel pressure. Refer to Fuel Pressure Relief .
  3. Disconnect the fuel return hose from the fuel rail pipe. Refer to Metal Collar Quick Connect Fitting Service .
  4. Install the J 37287 fuel pipe shut off adapter between the fuel return pipe and the fuel rail.
  5. Open the valve in the fuel pipe shut off adapter.
  6. Turn ON the ignition with the engine OFF.
  7. Bleed the air from the fuel system.
  8. Monitor the fuel pressure gauge.
  9. Notice: DO NOT allow the fuel pressure to exceed 517 kPa (75 psi). Excessive pressure may damage the fuel system.

  10. Slowly close the valve in the fuel return pipe shut off adapter.
  11. Command the fuel pump ON with a scan tool.

Does the fuel pressure rise above the specified value?

405 kPa (59 psi) VIN K

375 kPa (54 psi) VIN 1

Go to Step 23

Go to Step 17

17

Inspect the following for a restriction:

    • Fuel filter
    • Fuel feed pipe

Did you find and correct the condition?

--

Go to Step 25

Go to Step 18

18

Inspect the harness connectors and ground circuits of the fuel pump for poor connections. Refer to Testing for Intermittent Conditions and Poor Connections and Connector Repairs in Wiring Systems.

Did you find and correct the condition?

--

Go to Step 25

Go to Step 19

19

  1. Remove the fuel sender assembly. Refer to Fuel Sender Assembly Replacement .
  2. Inspect the following items:
  3. • The fuel pump flex hose for damage
    • The in tank fuel pump harness connectors for poor connections
    • The fuel strainer for a restriction
    • Contaminates in the fuel tank

Did you find and correct the condition?

--

Go to Step 25

Go to Step 24

20

  1. Turn OFF the ignition.
  2. Raise the fuel rail, with the fuel lines connected. Refer to Fuel Injection Fuel Rail Assembly Replacement .
  3. Turn ON the ignition with the engine OFF.
  4. Command the fuel pump ON with a scan tool.
  5. Locate and replace the leaking fuel injector. Refer to Fuel Injector Replacement .

Did you complete the replacement?

--

Go to Step 25

--

21

Repair the vacuum source to the fuel pressure regulator.

Did you complete the repair?

--

Go to Step 25

--

22

Locate and repair the restricted fuel return line.

Did you complete the repair?

--

Go to Step 25

--

23

Important: Inspect for a missing or damaged fuel pressure regulator O-ring seal before replacing the fuel pressure regulator.

Replace the fuel pressure regulator. Refer to Fuel Pressure Regulator Replacement .

Did you complete the replacement?

--

Go to Step 25

--

24

Replace the fuel pump. Refer to Fuel Sender Assembly Replacement .

Did you complete the replacement?

--

Go to Step 25

--

25

Operate the system in order to verify the repair.

Did you correct the condition?

--

System OK

Go to Step 3