GM Service Manual Online
For 1990-2009 cars only
Makes
🢒
Pontiac
🢒
2001
🢒
Grand Prix
🢒
Engine
🢒
Engine Controls - 3.8L
🢒 Emission Hose Routing Diagram
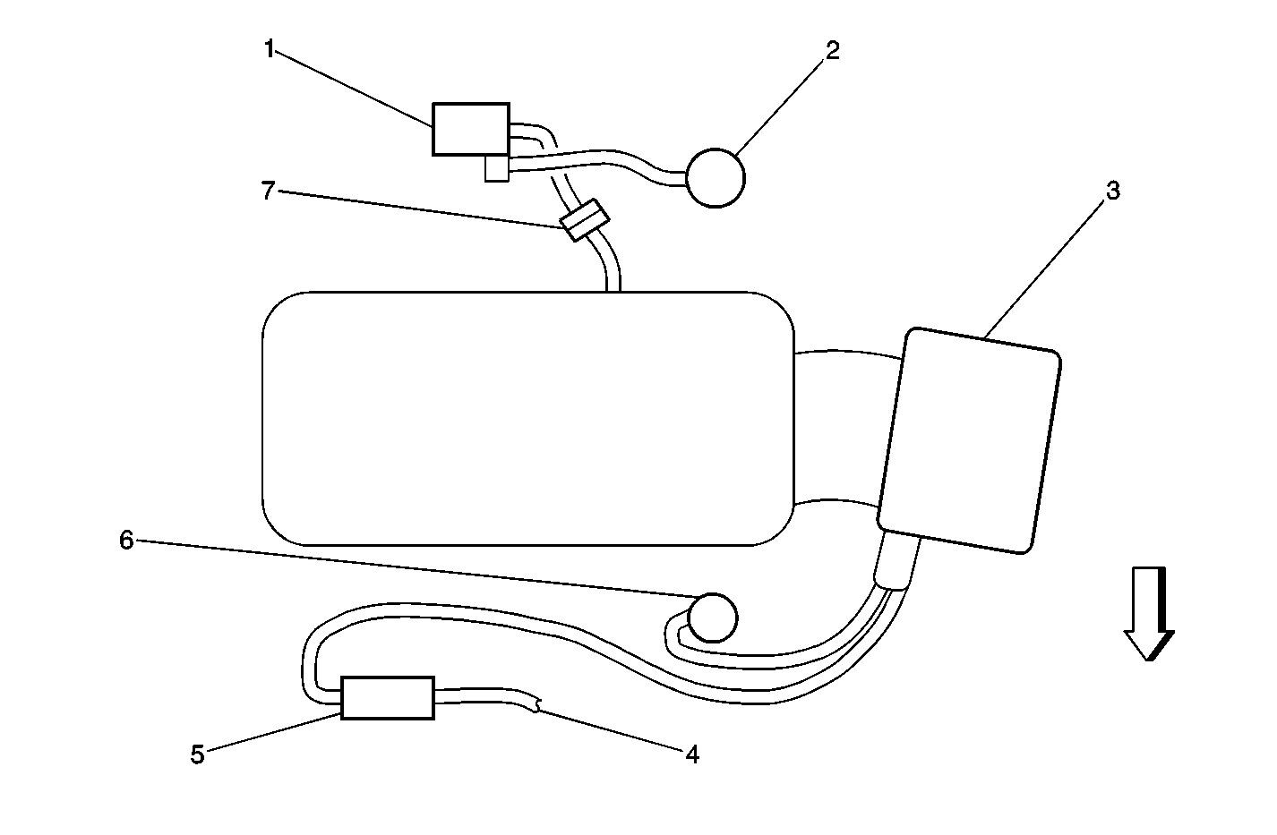
Figure
1:
Vacuum Hose Routing 3800 (Vin K)
(1)
Secondary Air Injection (AIR) Vacuum Control Solenoid Valve, if equipped
(2)
Secondary Air Injection (AIR) Shut-Off Valve, if equipped
(3)
Throttle Body
(4)
To EVAP Canister
(5)
EVAP Canister Purge Valve
(6)
Fuel Pressure Regulator
(7)
Secondary Air Injection (AIR) Vacuum Check Valve, if equipped
Figure
2:
Vacuum Hose Routing 3800 (VIN 1)
(1)
To EVAP Canister
(2)
PCV Valve
(3)
To Vacuum Brake Booster
(4)
Throttle Body
(5)
Supercharger Bypass Actuator (Bypass Valve Actuator)
(6)
Supercharger Bypass Solenoid (Boost Control Solenoid)
(7)
Fuel Pressure Regulator
(8)
Supercharger Assembly
(9)
EVAP Canister Purge Valve
(10)
Manifold Absolute Pressure (MAP) Sensor
Figure
3:
EVAP System Overview
(1)
EVAP Canister Purge Solenoid
(2)
EVAP Canister
(3)
Fuel Fill Neck/Fill Cap
(4)
Rollover Valve/Fuel Tank Pressure (FTP) Sensor
(5)
Fuel Tank
(6)
EVAP Canister Vent Solenoid
(7)
Vent Hose/Pipe
(8)
EVAP Vapor Pipe
(9)
EVAP Purge Pipe
(10)
EVAP Service Port