GM Service Manual Online
For 1990-2009 cars only

Removal Procedure

  1. Raise and support the vehicle. Refer to Lifting and Jacking the Vehicle in General Information.
  2. Remove the tire and wheel assembly. Refer to Tire and Wheel Removal and Installation in Tires and Wheels.

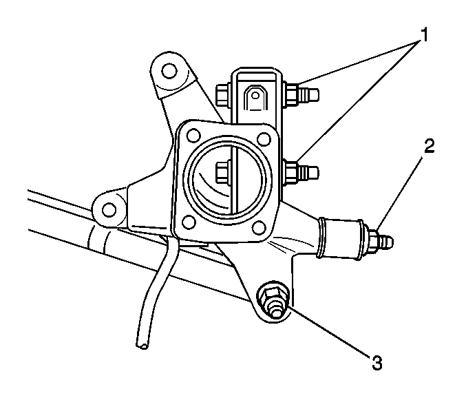
  3. Object Number: 614974  Size: SH

    Important: Use a transmission jack or suitable hoist stands in order to prop the rear suspension support .

  4. Remove the rear wheel spindle rod nut (1) at the rear suspension support.

  5. Object Number: 614976  Size: SH
  6. Remove the bolt, the nut (2), and the washer that retain the rear wheel spindle rod to the knuckle.
  7. Push the bolt forward enough to provide clearance for removal of the rear wheel spindle rod.
  8. Remove the rear wheel spindle rod.

Installation Procedure


    Object Number: 614974  Size: SH
  1. Install the rear wheel spindle rod to the rear suspension support.
  2. Install the bolt (1) that secures the rear wheel spindle rod to the rear suspension support.
  3. Notice: Use the correct fastener in the correct location. Replacement fasteners must be the correct part number for that application. Fasteners requiring replacement or fasteners requiring the use of thread locking compound or sealant are identified in the service procedure. Do not use paints, lubricants, or corrosion inhibitors on fasteners or fastener joint surfaces unless specified. These coatings affect fastener torque and joint clamping force and may damage the fastener. Use the correct tightening sequence and specifications when installing fasteners in order to avoid damage to parts and systems.

  4. Install the nut that retains the rear wheel spindle rod to the rear suspension support.
  5. Tighten
    Tighten the nut to 140 N·m (103 lb ft).

  6. Install the rear suspension support. Refer to Support Replacement .

  7. Object Number: 614975  Size: SH
  8. Install the bolt and the nut (1) which retain the rear wheel spindle rod to the knuckle.
  9. Tighten
    Tighten the nut to 150 N·m (110 lb ft).

  10. Install the tire and wheel assembly. Refer to Tire and Wheel Removal and Installation in Tires and Wheels.
  11. Lower the vehicle.
  12. Adjust the wheel toe angle. Refer to Rear Toe Adjustment in Wheel Alignment.