GM Service Manual Online
For 1990-2009 cars only
Makes
🢒
Pontiac
🢒
2001
🢒
Grand Prix
🢒
Steering
🢒
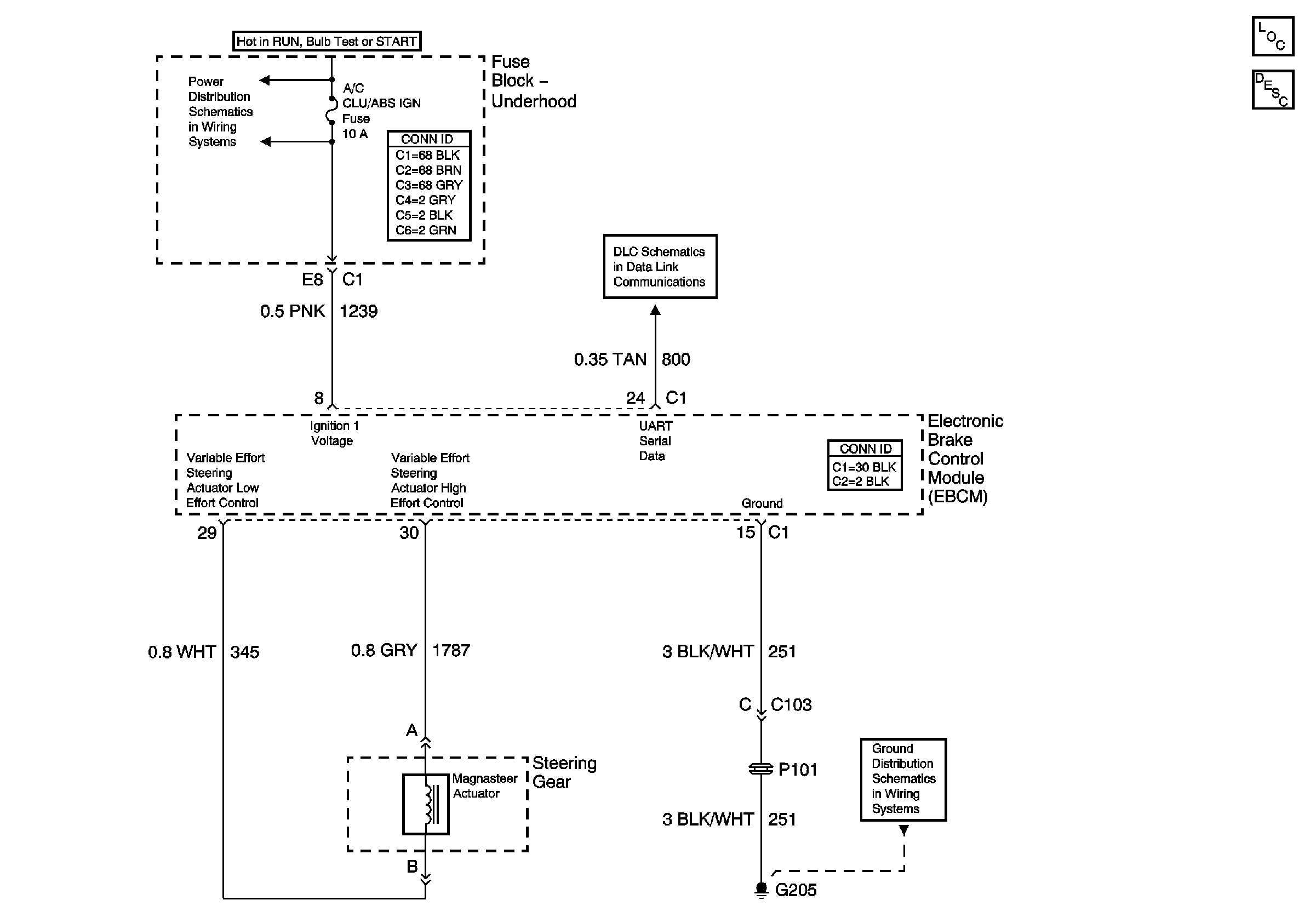
Variable Effort Steering
🢒 Steering Assist Schematics
Master Electrical Component List
TCC, ELEK IGN, and A/C CLU/ABS IGN Fuses
Data Link Connector Schematics
G205