GM Service Manual Online
For 1990-2009 cars only

Removal Procedure

    Important: The vehicle interface unit (VIU) has a specific set of unique numbers that tie the module to each vehicle. These numbers, the 10-digit station identification and the 11-digit electronic serial number, are used by the National Cellular Network and OnStar® to identify the specific vehicle. Because these numbers are tied to the vehicle identification number of the vehicle, you must never exchange these parts with those of another vehicle.

  1. Remove the VCU from the VIU. Refer to OnStar Vehicle Communication Unit Replacement .

  2. Object Number: 647041  Size: SH
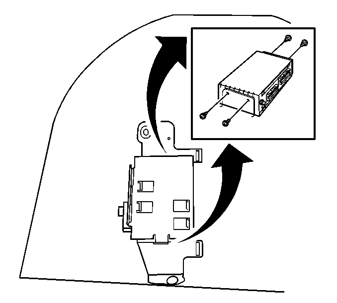
  3. Remove the nuts from the VIU/VCU bracket.
  4. Remove the VIU from the inner wheel housing.

  5. Object Number: 647072  Size: SH
  6. Disconnect the global positioning system (GPS) antenna cable from the VIU.

  7. Object Number: 647080  Size: SH
  8. Disconnect the red 32-way connector from the VIU.

  9. Object Number: 647030  Size: SH
  10. Disconnect the blue 32-way connector from the VIU.

  11. Object Number: 655028  Size: SH
  12. Remove the mounting screws from the VIU.
  13. Remove the VIU from the VIU/VCU bracket.
  14. The old VIU must be returned for core credit.

Installation Procedure

  1. Record the 10-digit STID number from the label on the VIU module.
  2. Position the VIU to the VIU/VCU bracket.
  3. Notice: Refer to Fastener Notice in the Preface section.


    Object Number: 655028  Size: SH
  4. Install the OnStar® mounting bracket screws to the VIU.
  5. Tighten
    Tighten the screws to 2 N·m (18 lb in).


    Object Number: 647072  Size: SH
  6. Connect the GPS antenna cable to the VIU.

  7. Object Number: 647080  Size: SH

    Notice: In order to avoid damage to the circuit board, do NOT over-tighten the thumb screws. Using your fingers, apply only a light pressure.

  8. Connect the red 32-way connector to the VIU.

  9. Object Number: 647030  Size: SH
  10. Connect the blue 32-way connector to the VIU.
  11. Position the VIU to the inner wheel housing.

  12. Object Number: 647041  Size: SH
  13. Install the OnStar® mounting bracket nuts to the VIU/VCU bracket.
  14. Tighten
    Tighten the bracket nuts to 3 N·m (27 lb in).

  15. Install the vehicle communication unit VCU. Refer to OnStar Vehicle Communication Unit Replacement .
  16. Important: After replacing the VIU, you must reconfigure the OnStar® system. Failure to reconfigure the system will result in an additional customer visit for repair.

  17. Reconfigure the OnStar® system. Refer to OnStar Reconfiguration .
  18. Return the old VIU for core credit.