GM Service Manual Online
For 1990-2009 cars only

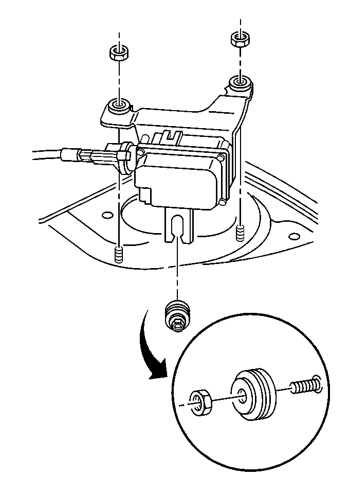
Removal Procedure


    Object Number: 294519  Size: SH

    Important: The cruise control module is mounted to the left strut tower. Service the cruise control module as a complete unit.

  1. Remove the cruise control cable from the cruise control module. Refer to Cruise Control Cable Replacement .
  2. Disconnect the electrical connector from the cruise control module.

  3. Object Number: 294525  Size: MH
  4. Remove the cruise control module mounting nuts.

Installation Procedure


    Object Number: 294525  Size: MH
  1. Install the cruise control module on the mounting studs.
  2. Notice: Use the correct fastener in the correct location. Replacement fasteners must be the correct part number for that application. Fasteners requiring replacement or fasteners requiring the use of thread locking compound or sealant are identified in the service procedure. Do not use paints, lubricants, or corrosion inhibitors on fasteners or fastener joint surfaces unless specified. These coatings affect fastener torque and joint clamping force and may damage the fastener. Use the correct tightening sequence and specifications when installing fasteners in order to avoid damage to parts and systems.

  3. Install the cruise control module mounting nuts on the strut tower.
  4. Tighten
    Tighten the mounting nuts to 2 N·m (18 lb in).


    Object Number: 294519  Size: SH
  5. Connect the electrical connector to the cruise control module.
  6. Install the cruise control cable to the cruise control module. Refer to Cruise Control Cable Replacement .
  7. Adjust the cruise control cable. Refer to Cruise Control Cable Adjustment .