GM Service Manual Online
For 1990-2009 cars only

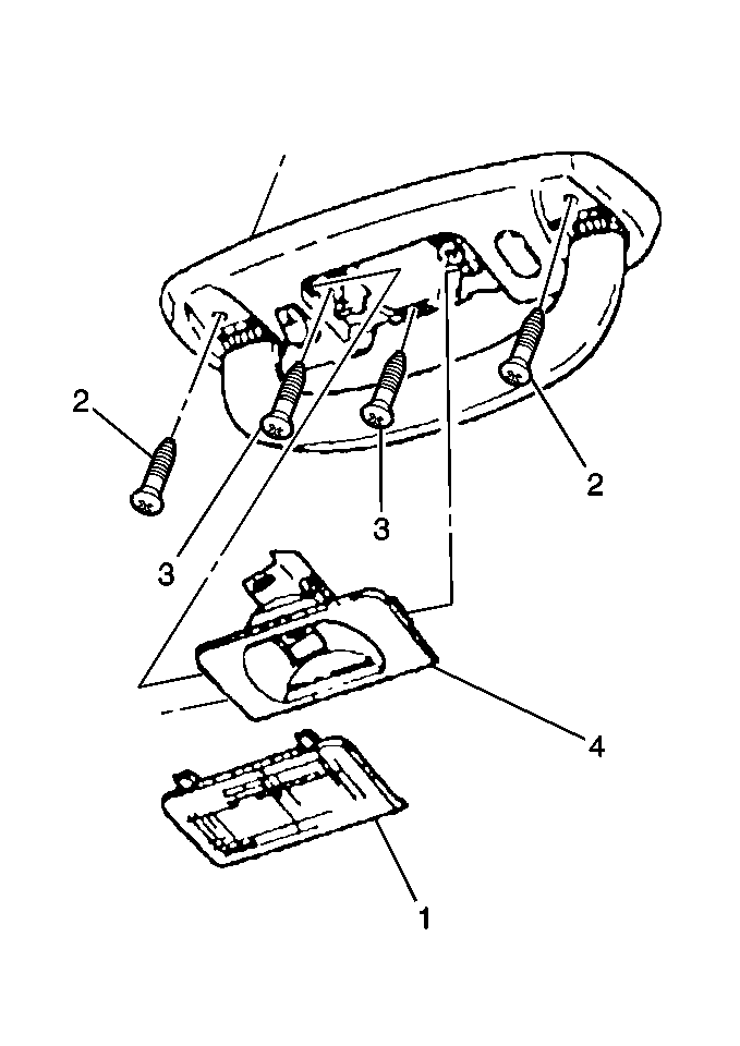
Removal Procedure


    Object Number: 384915  Size: MH

    Important: Do NOT remove the lamp screws (3) while the assist handle is attached. The lamp screw retainers will fall down behind the sheet metal.

  1. Pull down the assist handle and remove the screws (2).
  2. Pull the handle away from the roof and disconnect the roof rail lamp electric connector.
  3. Remove the assist handle from the vehicle.

Installation Procedure

  1. Position the rear assist handle to the headliner.

  2. Object Number: 384915  Size: MH
  3. Connect the roof rail lamp connector.
  4. Notice: Use the correct fastener in the correct location. Replacement fasteners must be the correct part number for that application. Fasteners requiring replacement or fasteners requiring the use of thread locking compound or sealant are identified in the service procedure. Do not use paints, lubricants, or corrosion inhibitors on fasteners or fastener joint surfaces unless specified. These coatings affect fastener torque and joint clamping force and may damage the fastener. Use the correct tightening sequence and specifications when installing fasteners in order to avoid damage to parts and systems.

  5. Install the assist handle screws (2).
  6. Tighten
    Tighten the screws to 3 N·m (27 lb in).