GM Service Manual Online
For 1990-2009 cars only

Removal Procedure

Important: Use due care not to cut adjacent panels when cutting the inner reinforcements.

  1. Remove all related panels and components.
  2. Position all wiring out of the way to prevent damage.
  3. Visually inspect and restore as much of the damage as possible to factory specifications.
  4. Remove sealers and anti-corrosion materials as necessary.
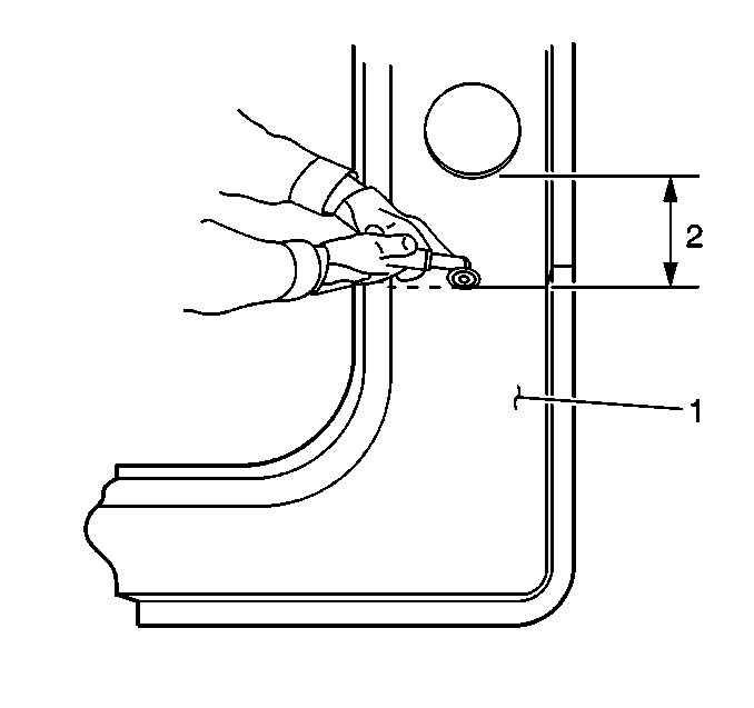
  5. On the original reinforcement panel (1) measure 140 mm (5 1/2 in) down from the large wiring harness hole in the hinge pillar (3) and mark a horizontal line.
  6. Cut the inner reinforcement along this line.
  7. Locate, mark, and drill out all factory welds, as necessary. Note the number and location of welds for installation of the service part.

  8. Object Number: 399887  Size: SH
  9. Remove the damaged section of the inner reinforcement (2).

Installation Procedure


    Object Number: 314551  Size: SH
  1. Cut and remove 30 mm (1 3/16 in) From the flanges on either side of the remaining section of the original hinge pillar to create a 30 mm (1 3/16 in) flange.
  2. Cut 5 mm (3/16 in) wide gaps in the bottom corners.

  3. Object Number: 314596  Size: SH
  4. Step the tabs inward to allow the door frame inner reinforcement service section to fit over the original inner reinforcement.
  5. Weld the tabs together along the edges (1).

  6. Object Number: 399889  Size: SH
  7. On the service part (1) measure 110 mm (4 5/16 in) down from the large wiring harness hole in the hinge pillar and mark a horizontal line.
  8. Cut the hinge pillar along this line.

  9. Object Number: 314555  Size: SH
  10. Drill 8 mm (5/16 in) plug weld holes as necessary in the locations noted from the original panel.
  11. Drill plug weld holes along the sectioning cut of the service part (2). These should be located approximately 15 mm (9/16 in) from the edge of the cut.
  12. Prepare mating surfaces and position the service section (2) over the stepped tab on the original inner reinforcement (1) allowing 30 mm (1 3/16 in) of overlap.
  13. Check and make sure the door hinge bolt holes are properly located.
  14. Plug weld accordingly.

  15. Object Number: 314556  Size: SH
  16. Stitch weld along the entire joint.
  17. Make 25 mm (1 in) gaps between.
  18. Go back and complete the stitch weld. This will create a solid joint with minimal heat distortion.
  19. Clean and prepare welded surfaces.
  20. Important: Prior to refinishing, refer to GM 4901MD-99 Refinishi Manual for recommended products. Do not combine paint systems. Refer to paint manufacturer's recommendations.

  21. Prime with 2-part catalyzed primer.
  22. Apply sealers and anti-corrosion materials as necessary.
  23. Install all related panels and components.