GM Service Manual Online
For 1990-2009 cars only
Makes
🢒
Pontiac
🢒
2001
🢒
Grand Prix
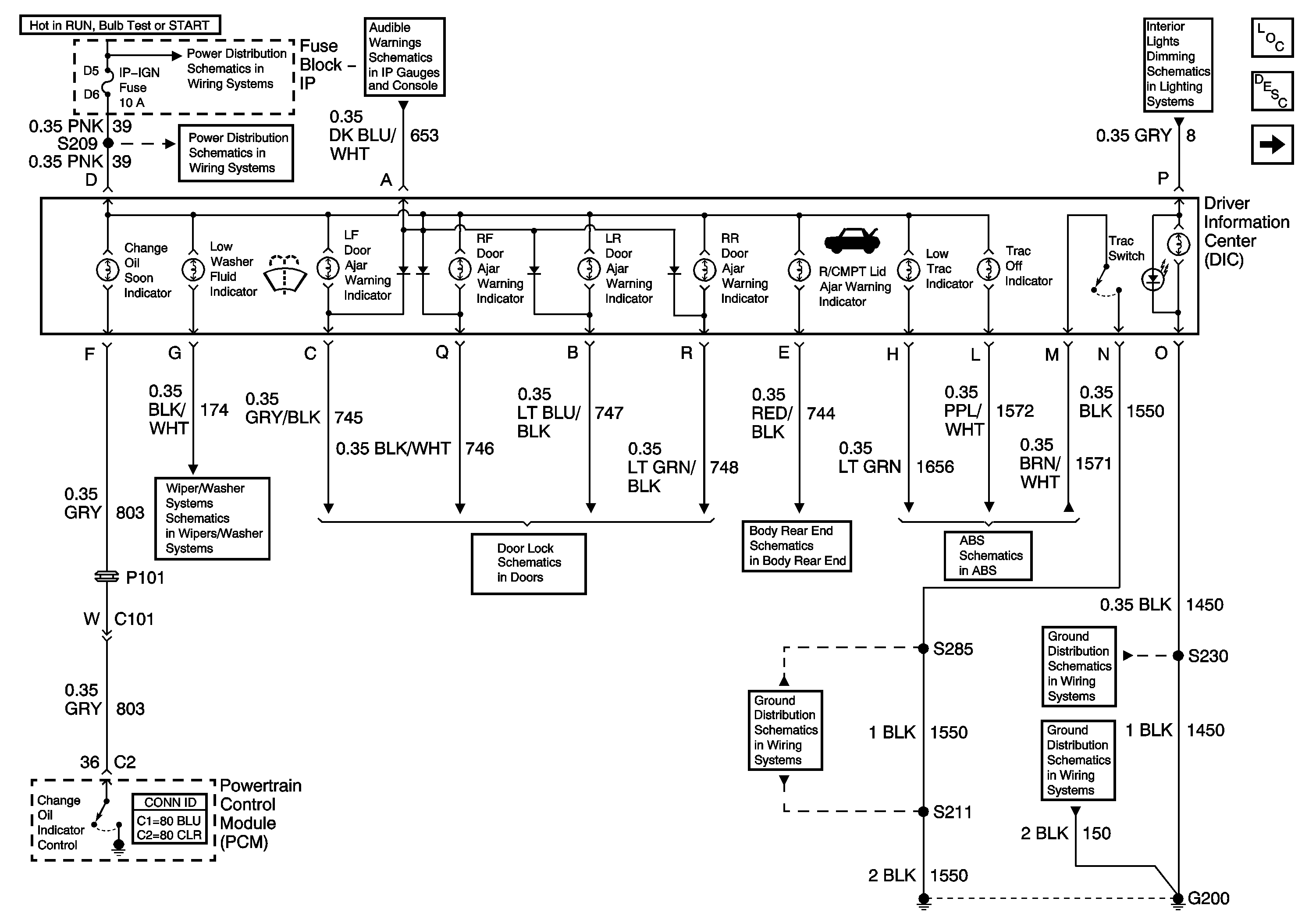
🢒 Driver Information Center (DIC) (W/O U40)
Driver Information Center (DIC) (W/O U40)
Driver Information Center (DIC) (W/O U40)
IP-IGN, CRUISE, ECM Fuses
Audible Warning
IP-IGN, CRUISE, ECM Fuses
Wiper/Washer
Driver Information Center Door Ajar Indicators W/O RPO U40
Body Rear End
Traction Control
G200, S211, S285
G200, S230
G200, S213, S375
Headlamp Switch and Instrument Panel Lighting
Master Electrical Component List
Driver Information Center (DIC) (W/U40)