GM Service Manual Online
For 1990-2009 cars only
Makes
🢒
Pontiac
🢒
2001
🢒
Grand Prix
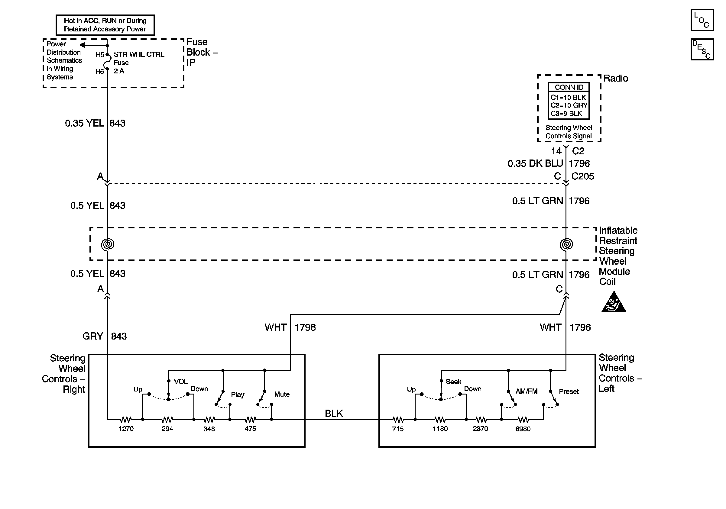
🢒 Steering Wheel Controls Schematics
Steering Wheel Controls Schematics
Master Electrical Component List
Entertainment Connector End Views
IGN-MAIN 2, RADIO, SUNROOF, STR WHL CTRL, PWR WDO, WIPER, MALL, MALL PGM Fuses
Entertainment Schematic Icons