GM Service Manual Online
For 1990-2009 cars only

Seat Belt Retractor Replacement - Right Front 4 Door

Removal Procedure


    Object Number: 157282  Size: SH
  1. Open the seat belt guide loop cover.
  2. Remove the seat belt guide loop nut.
  3. Remove the seat belt guide loop from the guide adjuster bracket.
  4. Remove the upper center pillar panel trim. Refer to Center Pillar Upper Trim Panel Replacement in Interior Trim.
  5. Remove the upper center pillar panel trim. Refer to Center Pillar Lower Trim Panel Replacement in Interior Trim.

  6. Object Number: 371847  Size: SH
  7. Remove the seat belt intermediate guide bolts.

  8. Object Number: 370563  Size: SH
  9. Remove the anchor plate nut from the seat stud.
  10. Remove the anchor plate from the seat stud.

  11. Object Number: 371832  Size: SH
  12. Remove the retractor side seat belt bolt.
  13. Remove the retractor side seat belt from the lower center pillar.

Installation Procedure


    Object Number: 371832  Size: SH
  1. Install the seat belt retractor into the T-slot in the center pillar.
  2. Notice: Use the correct fastener in the correct location. Replacement fasteners must be the correct part number for that application. Fasteners requiring replacement or fasteners requiring the use of thread locking compound or sealant are identified in the service procedure. Do not use paints, lubricants, or corrosion inhibitors on fasteners or fastener joint surfaces unless specified. These coatings affect fastener torque and joint clamping force and may damage the fastener. Use the correct tightening sequence and specifications when installing fasteners in order to avoid damage to parts and systems.

  3. Install the retractor side seat belt bolt.
  4. Tighten
    Tighten the bolt to 68 N·m (50 lb ft).


    Object Number: 371847  Size: SH
  5. Install the seat belt intermediate guide bolts.
  6. Tighten
    Tighten the bolts to 10 N·m (89 lb in).


    Object Number: 370563  Size: SH
  7. Position the anchor plate to the seat stud.
  8. Install the anchor plate nut to the seat stud.
  9. Tighten
    Tighten the nut to 42 N·m (31 lb ft).

  10. Install the lower center pillar panel trim. Refer to Center Pillar Lower Trim Panel Replacement in Interior Trim.
  11. Install the upper center pillar panel trim. Refer to Center Pillar Upper Trim Panel Replacement in Interior Trim.

  12. Object Number: 157282  Size: SH
  13. Position the seat belt guide loop to the guide adjuster bracket.
  14. Install the seat belt guide loop nut.
  15. Tighten
    Tighten the seat belt guide loop nut to 42 N·m (31 lb ft).

  16. Close the seat belt guide loop cover.

Seat Belt Retractor Replacement - Right Front 2 Door

Removal Procedure


    Object Number: 157284  Size: SH
  1. Remove the rear seat cushion and seat back.
  2. • Refer to Rear Seat Cushion Replacement in Seats.
    • Refer to Rear Seat Back Replacement in Seats.
  3. Open the seat belt guide loop cover.
  4. Remove the seat belt guide loop bolt.
  5. Remove the seat belt guide loop from the upper quarter trim panel.
  6. Remove the upper quarter trim panel. Refer to Rear Quarter Upper Trim Panel Replacement in Interior Trim.
  7. Remove the lower quarter trim panel. Refer to Rear Quarter Lower Trim Panel Replacement in Interior Trim.

  8. Object Number: 157287  Size: SH
  9. Remove the anchor plate nut from the seat stud.
  10. Remove the seat belt from the anchor plate.
  11. Remove the seat belt intermediate guide bolts (1).
  12. Remove the seat belt intermediate guide (2).

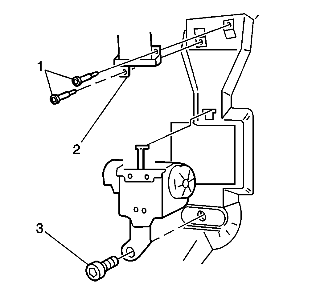
  13. Object Number: 157285  Size: SH
  14. Remove the retractor seat belt bolt (3).
  15. Remove the retractor seat belt from the lower center pillar.

Installation Procedure


    Object Number: 157285  Size: SH
  1. Install the seat belt retractor into the T-slot in the lower quarter trim panel.
  2. Notice: Use the correct fastener in the correct location. Replacement fasteners must be the correct part number for that application. Fasteners requiring replacement or fasteners requiring the use of thread locking compound or sealant are identified in the service procedure. Do not use paints, lubricants, or corrosion inhibitors on fasteners or fastener joint surfaces unless specified. These coatings affect fastener torque and joint clamping force and may damage the fastener. Use the correct tightening sequence and specifications when installing fasteners in order to avoid damage to parts and systems.

  3. Install the retractor seat bolt (3).
  4. Tighten
    Tighten the seat belt retractor bolt (3) to 68 N·m (50 lb ft).

  5. Install the anchor plate to the seat stud.

  6. Object Number: 157287  Size: SH
  7. Install the anchor plate nut.
  8. Tighten
    Tighten the anchor plate nut to 42 N·m (31 lb ft).


    Object Number: 157285  Size: SH
  9. Install the intermediate guide bolts (1).
  10. Tighten
    Tighten the seat belt intermediate guide bolts to 10 N·m (89 lb in).

  11. Install the lower quarter trim panel. Refer to Rear Quarter Lower Trim Panel Replacement in Interior Trim.
  12. Install the upper quarter trim panel. Refer to Rear Quarter Upper Trim Panel Replacement in Interior Trim.
  13. Position the seat belt guide loop to the upper quarter trim panel.

  14. Object Number: 157284  Size: SH
  15. Install the seat belt guide loop bolt.
  16. Tighten
    Tighten the seat belt guide loop bolt to 42 N·m (31 lb ft).

  17. Close the seat belt guide loop cover.
  18. Install the rear seat back. Refer to Rear Seat Back Replacement in Seats.
  19. Install the rear seat cushion. Refer to Rear Seat Cushion Replacement in Seats.