GM Service Manual Online
For 1990-2009 cars only
Makes
🢒
Pontiac
🢒
2003
🢒
Grand Prix
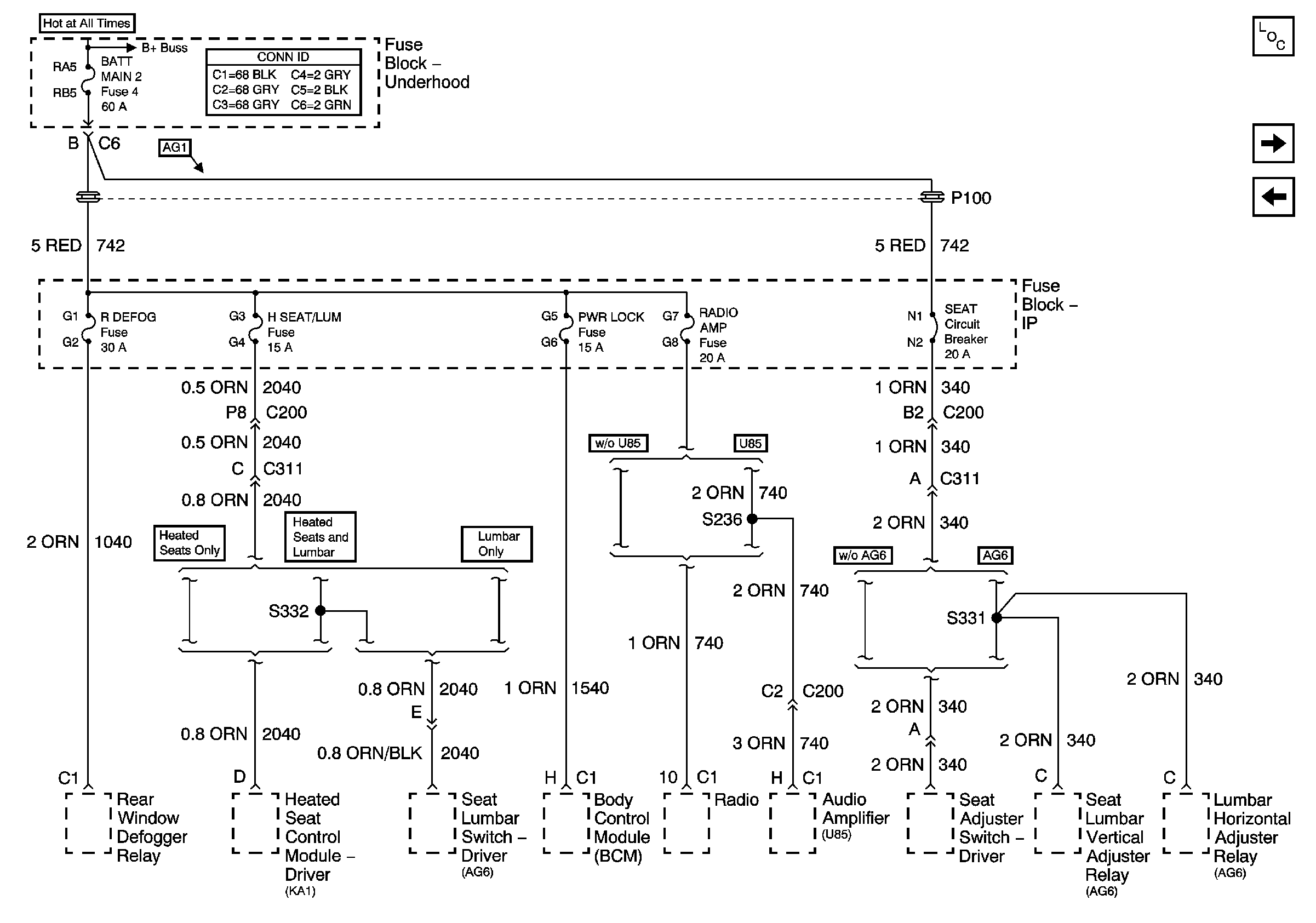
🢒 BATT MAIN 2, R DEFOG, H SEAT/LUM, PWR LOCK, RADIO AMP Fuses and SEAT Circuit Breaker
BATT MAIN 2, R DEFOG, H SEAT/LUM, PWR LOCK, RADIO AMP Fuses and SEAT Circuit Breaker
BATT MAIN 2, R DEFOG, H SEAT/LUM, PWR LOCK, RADIO AMP Fuses, and SEAT Circuit Breaker
BATT MAIN 1, 2 IGN MAIN 1, 2 HEADLAMPS, PARK LP, HVAC/RKE BATT, AIR, ECM SENSE, ALT SENSE, B/U LAMP, COOL FAN 1, 2 FUEL PUMP, FOG LP, HORN, INJ, IGN1-UH, ELEK IGN, TCC, A/C CLU/ABS IGN Fuses
Master Electrical Component List
HEADLAMPS, HVAC HI, PWR MIR, HAZARD, RAP, PASS-KEY Fuses and HEADLAMP Circuit Breaker
BATT MAIN 1, ONSTAR, STOPLAMP, INT LAMP, and CIG LTR Fuses