GM Service Manual Online
For 1990-2009 cars only
Table 1: Brake Fluid Pressure Sensor (JL4)
Table 2: Electronic Brake Control Module (EBCM)
Table 3: Steering Angle Sensor (JL4)
Table 4: Traction Control Switch
Table 5: Wheel Speed Sensor (WSS) - LF
Table 6: Wheel Speed Sensor (WSS) - LR
Table 7: Wheel Speed Sensor (WSS) - RF
Table 8: Wheel Speed Sensor (WSS) - RR
Table 9: Yaw and Lateral Acceleration Sensor (JL4)

Brake Fluid Pressure Sensor (JL4)


Object Number: 1243672  Size: CH

Connector Part Information

    • 2-967642-1
    • 3-Way F AMP (BK)

Pin

Wire Color

Circuit Number

Function

1

GY/BK

1798

Ground

2

OG

1575

Brake Pressure Sensor Signal

3

GY

596

5 Volt Reference

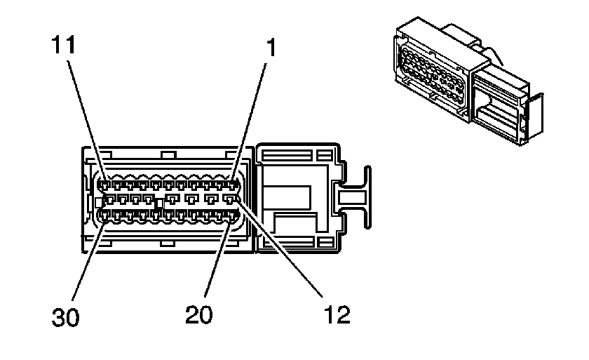
Electronic Brake Control Module (EBCM)


Object Number: 831364  Size: CH

Connector Part Information

    • 12191495
    • 30-Way F GT 150, 280 (BK)

Pin

Wire Color

Circuit Number

Function

1

BN/WH

2086

Yaw Rate Sensor Test Control (JL4)

2

BN

882

Right Rear Wheel Speed Sensor Signal

3

WH

883

Right Rear Wheel Speed Sensor Low Reference

4

D-GN

872

Right Front Wheel Speed Sensor Signal

5

TN

833

Right Front Wheel Speed Sensor Low Reference

6

WH

17

Stop Lamp Switch Signal

7

WH

121

Engine Speed Signal (JL4)

8

PK

1039

Ignition 1 Voltage

9

TN/BK

464

Delivered Torque Signal (L32)

10

L-BU

715

Lateral Accelerometer Signal (JL4)

11

WH

121

Engine Speed Signal (W/O JL4)

TN

2501

High Speed GMLAN Serial Data Bus - (JL4)

12

BK/WH

251

Ground

13

RD

1442

Battery Positive Voltage

14

OG

1740

Battery Positive Voltage

15

BK/WH

251

Ground

16

GY

930

5 Volt Reference (JL4)

17

OG

1575

Brake Pressure Sensor Signal (JL4)

18

GY/BK

1798

Ground (JL4)

19

TN/WH

2500

High Speed GMLAN Serial Data Bus + (JL4)

20

L-BU

830

Left Front Wheel Speed Sensor Signal

21

YE

873

Left Front Wheel Speed Sensor Low Reference

22

BK

884

Left Rear Wheel Speed Sensor Signal

23

RD

885

Left Rear Wheel Speed Sensor Low Reference

24

--

--

Not Used

25

L-BU

1122

ABS/TCS Class 2 Serial Data

26

D-BU

716

Yaw Rate Sensor Signal (JL4)

27

OG/BK

463

Requested Torque Signal (L32)

28

GY

596

5 Volt Reference (JL4)

29

BN

1295

Variable Effort Steering Actuator Control

30

WH

1294

Variable Effort Steering Actuator Supply Voltage

Steering Angle Sensor (JL4)


Object Number: 1243680  Size: CH

Connector Part Information

    • 1-928-404-025
    • 7-Way F Bosch (BK)

Pin

Wire Color

Circuit Number

Function

1

1798

GY/BK

Ground

2

1039

PK

Ignition 1 Voltage

3

2500

TN/WH

High Speed GMLAN Serial Data Bus +

4

2501

TN

High Speed GMLAN Serial Data Bus-

5-7

--

--

Not Used

Traction Control Switch


Object Number: 39660  Size: CH

Connector Part Information

    • 12047785
    • 4-Way F Metri-Pack 150 Series (BK)

Pin

Wire Color

Circuit Number

Function

A

BK

150

Ground

B

--

--

Not Used

C

BN/WH

1571

Traction Control Switch Signal

D

GY

8

Instrument Panel Lamp Supply Voltage

Wheel Speed Sensor (WSS) - LF


Object Number: 537107  Size: CH

Connector Part Information

    • 12052644
    • 2-Way F Metri-Pack 150 Series, Sealed (GY)

Pin

Wire Color

Circuit Number

Function

A

YE

873

Left Front Wheel Speed Sensor Low Reference

B

L-BU

830

Left Front Wheel Speed Sensor Signal

Wheel Speed Sensor (WSS) - LR


Object Number: 537107  Size: CH

Connector Part Information

    • 12052644
    • 2-Way F Metri-Pack 150 Series, Sealed (GY)

Pin

Wire Color

Circuit Number

Function

A

RD

885

Left Rear Wheel Speed Sensor Low Reference

B

BK

884

Left Rear Wheel Speed Sensor Signal

Wheel Speed Sensor (WSS) - RF


Object Number: 537107  Size: CH

Connector Part Information

    • 12052644
    • 2-Way F Metri-Pack 150 Series, Sealed (GY)

Pin

Wire Color

Circuit Number

Function

A

TN

833

Right Front Wheel Speed Sensor Low Reference

B

D-GN

872

Right Front Wheel Speed Sensor Signal

Wheel Speed Sensor (WSS) - RR


Object Number: 537107  Size: CH

Connector Part Information

    • 12052644
    • 2-Way F Metri-Pack 150 Series, Sealed (GY)

Pin

Wire Color

Circuit Number

Function

A

WH

883

Right Rear Wheel Speed Sensor Low Reference

B

BN

882

Right Rear Wheel Speed Sensor Signal

Yaw and Lateral Acceleration Sensor (JL4)


Object Number: 831393  Size: CH

Connector Part Information

    • 1-967616-1
    • 6-Way F AMP (BK)

Pin

Wire Color

Circuit Number

Function

1

GY

930

5 Volt Reference

2

BN/WH

2086

Yaw Rate Sensor Test Control

3

PK

1039

Ignition 1 Voltage

4

D-BU

716

Yaw Rate Sensor Signal

5

L-BU

715

Lateral Accelerometer Signal

6

GY/BK

1798

Ground