GM Service Manual Online
For 1990-2009 cars only
Table 1: Inflatable Restraint Front End Sensor
Table 2: Inflatable Restraint I/P Module
Table 3: Inflatable Restraint Roof Rail Module - Left (AY1)
Table 4: Inflatable Restraint Roof Rail Module - Right (AY1)
Table 5: Inflatable Restraint Seat Belt Pretensioner - Left
Table 6: Inflatable Restraint Seat Belt Pretensioner - Right
Table 7: Inflatable Restraint Sensing and Diagnostic Module (SDM)
Table 8: Inflatable Restraint Side Impact Sensor - Left (AY1)
Table 9: Inflatable Restraint Side Impact Sensor - Right (AY1)
Table 10: Inflatable Restraint Steering Wheel Module Coil, C1
Table 11: Inflatable Restraint Steering Wheel Module Coil, C2
Table 12: Inflatable Restraint Steering Wheel Module Coil, C3
Table 13: Inflatable Restraint Steering Wheel Module Coil, C4 (W/O UK3)
Table 14: Inflatable Restraint Steering Wheel Module Coil, C4 (UK3)
Table 15: Inflatable Restraint Steering Wheel Module Coil, C5

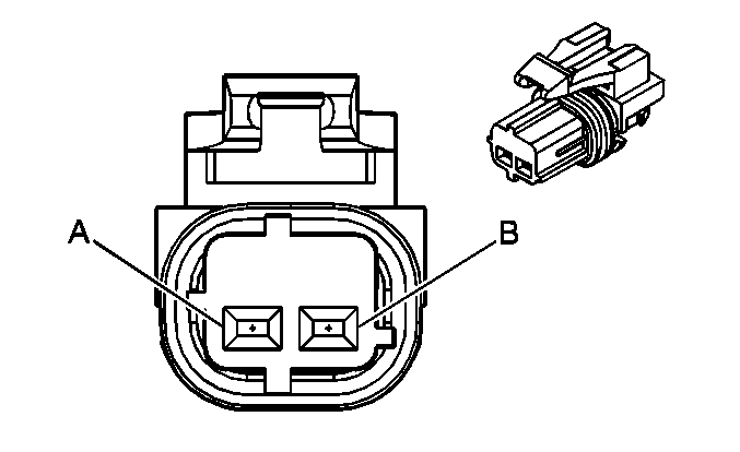
Inflatable Restraint Front End Sensor


Object Number: 707456  Size: CH

Connector Part Information

    • 15356720
    • 2-Way F GT Series Sealed (YE)

Pin

Wire Color

Circuit No.

Function

A

GY

2260

Front End Sensor - Signal

B

YE

2160

Front End Sensor - Voltage

Inflatable Restraint I/P Module


Object Number: 707474  Size: CH

Connector Part Information

    • 15358741
    • 4-Way M Metri-Pack 280 Series (YE)

Pin

Wire Color

Circuit No.

Function

A1

YE

3025

I/P Module - Stage 1 - High Control

A2

OG

3024

I/P Module - Stage 1 - Low Control

B1

GY

3027

I/P Module - Stage 2 - High Control

B2

PU

3026

I/P Module - Stage 2 - Low Control

Inflatable Restraint Roof Rail Module - Left (AY1)


Object Number: 739643  Size: CH

Connector Part Information

    • CA-252-92-4 R
    • 2-Way (YE)

Pin

Wire Color

Circuit No.

Function

1

BN

2137

Roof Rail Module - Left - High Control

2

YE/BK

2138

Roof Rail Module - Left - Low Control

Inflatable Restraint Roof Rail Module - Right (AY1)


Object Number: 739643  Size: CH

Connector Part Information

    • CA-252-92-4 R
    • 2-Way (YE)

Pin

Wire Color

Circuit No.

Function

1

BK/WH

2135

Roof Rail Module - Right - High Control

2

L-GN

2136

Roof Rail Module - Right - Low Control

Inflatable Restraint Seat Belt Pretensioner - Left


Object Number: 130685  Size: CH

Connector Part Information

    • 12186989
    • 2-Way M Micro-Pack 280 Series (YE)

Pin

Wire Color

Circuit No.

Function

A

BK/WH

2118

Seat Belt Pretenioner - Left - High Control

B

OG/BK

2119

Seat Belt Pretenioner - Left - Low Control

Inflatable Restraint Seat Belt Pretensioner - Right


Object Number: 130685  Size: CH

Connector Part Information

    • 12186989
    • 2-Way M Micro-Pack 280 Series (YE)

Pin

Wire Color

Circuit No.

Function

A

L-GN

2116

Seat Belt Pretenioner - Right - High Control

B

OG

2117

Seat Belt Pretenioner - Right - Low Control

Inflatable Restraint Sensing and Diagnostic Module (SDM)


Object Number: 470412  Size: CH

Connector Part Information

    • 15357038
    • 34-Way F Micro-Pack 100W Series (YE)

Pin

Wire Color

Circuit No.

Function

A1

TN

3021

Steering Wheel Module - Stage 1 - High Control

A2

BN

3020

Steering Wheel Module - Stage 1 - Low Control

A3

OG

3024

I/P Module - Stage 1 - Low Control

A4

YE

3025

I/P Module - Stage 1 - High Control

A5

BK/WH

2118

Seat Belt Pretensioner - Left - High Control

A6

OG/BK

2119

Seat Belt Pretensioner - Left - Low Control

A7

OG

2117

Seat Belt Pretensioner - Right - Low Control

A8

L-GN

2116

Seat Belt Pretensioner - Right - High Control

A9

BK/WH

1751

Ground

A10

YE

1139

Ignition 1 Voltage

A11

D-BU

1128

SDM Class 2 Serial Data

A12-A13

--

--

Not Used

A14

BK/WH

238

Seat Belt Switch - Left

A15-A18

--

--

Not Used

B1

WH

3023

Steering Wheel Module - Stage 2 - High Control

B2

PK

3022

Steering Wheel Module - Stage 2 - Low Control

B3

PU

3026

I/P Module - Stage 2 - Low Control

B4

GY

3027

I/P Module - Stage 2 - High Control

B5-B6

--

--

Not Used

B7

GY

2260

Front End Sensor - Signal

B8

YE

2160

Front End Sensor - Voltage

C1

BN

2137

Roof Rail Module - Left - High Control (AY1)

C2

YE/BK

2138

Roof Rail Module - Left - Low Control (AY1)

C3

L-GN

2136

Roof Rail Module - Right - Low Control (AY1)

C4

BK/WH

2135

Roof Rail Module - Right - High Control (AY1)

C5

YE

2131

Side Impact Sensor - Left - Voltage (AY1)

C6

WH

2132

Side Impact Sensor - Left - Signal (AY1)

C7

D-GN

2134

Side Impact Sensor - Right - Signal (AY1)

C8

TN

2133

Side Impact Sensor - Right - Voltage (AY1)

Inflatable Restraint Side Impact Sensor - Left (AY1)


Object Number: 489937  Size: CH

Connector Part Information

    • 15304992
    • 2-Way Metri-Pack 150 Series (YE)

Pin

Wire Color

Circuit No.

Function

A

WH

2132

Side Impact Sensor - Left - Signal

B

YE

2131

Side Impact Sensor - Left - Voltage

Inflatable Restraint Side Impact Sensor - Right (AY1)


Object Number: 489937  Size: CH

Connector Part Information

    • 15304992
    • 2-Way Metri-Pack 150 Series (YE)

Pin

Wire Color

Circuit No.

Function

A

D-GN

2134

Side Impact Sensor - Right - Signal

B

TN

2133

Side Impact Sensor - Right - Voltage

Inflatable Restraint Steering Wheel Module Coil, C1


Object Number: 684931  Size: CH

Connector Part Information

    • 15336476
    • 4-Way M Metri-Pack 280 Series (YE)

Pin

Wire Color

Circuit No.

Function

A1

TN

3021

Steering Wheel Module - Stage 1 - High Control

A2

BN

3020

Steering Wheel Module - Stage 1 - Low Control

B1

WH

3023

Steering Wheel Module - Stage 2 - High Control

B2

PK

3022

Steering Wheel Module - Stage 2 - Low Control

Inflatable Restraint Steering Wheel Module Coil, C2


Object Number: 739643  Size: CH

Connector Part Information

    • CA-252-92-4 R
    • 2-Way F (GY) With (YE) Case

Pin

Wire Color

Circuit No.

Function

1

TN

3021

Steering Wheel Module - Stage 1 - High Control

2

BN

3020

Steering Wheel Module - Stage 1 - Low Control

Inflatable Restraint Steering Wheel Module Coil, C3


Object Number: 739646  Size: CH

Connector Part Information

    • CA-252-92-5 Q
    • 2-Way F (PU) With (YE) Case

Pin

Wire Color

Circuit No.

Function

1

WH

3023

Steering Wheel Module - Stage 2 - High Control

2

PK

3022

Steering Wheel Module - Stage 2 - Low Control

Inflatable Restraint Steering Wheel Module Coil, C4 (W/O UK3)


Object Number: 795620  Size: CH

Connector Part Information

    • 15326050
    • 4-Way M Metri-Pack 150 Series (BK)

Pin

Wire Color

Circuit Number

Function

A

L-GN

696

Cruise Control Cancel Signal

B

PK

1539

Ignition 1 Voltage

C

GY

1884

Cruise Control Set/Coast and Resume/Accelerate Switch Signal

D

--

--

Not Used

Inflatable Restraint Steering Wheel Module Coil, C4 (UK3)


Object Number: 62434  Size: CH

Connector Part Information

    • 12045688
    • 8-Way M Metri-Pack 150 Series (BK)

Pin

Wire Color

Circuit Number

Function

A

L-GN

696

Cruise Control Cancel Signal

B

PK

1539

Ignition 1 Voltage

C

GY

1884

Cruise Control Set/Coast and Resume/Accelerate Switch Signal

D

YE

1996

Remote Shift Selector Signal

E

PU

1375

Remote Radio Control Supply Voltage

F

GY/BK

1458

Instrument Panel Lamp Supply Voltage

G

D-BU

1796

Steering Wheel Controls Signal

H

BK

1450

Ground

Inflatable Restraint Steering Wheel Module Coil, C5


Object Number: 62434  Size: CH

Connector Part Information

    • 12045688
    • 8-Way M Metri-Pack 150 Series (BK)

Pin

Wire Color

Circuit Number

Function

A

GN

696

Cruise Control Cancel Signal

B

PK

1539

Ignition 1 Voltage

PK

1539

Ignition 1 Voltage (KB7)

C

GY

1884

Cruise Control Set/Coast and Resume/Accelerate Switch Signal

D

YE

1996

Remote Shift Selector Signal (KB7)

E

PU

1375

Remote Radio Control Supply Voltage (UK3)

F

GY/BK

1458

Instrument Panel Lamp Supply Voltage (UK3)

GY/BK

1458

Instrument Panel Lamp Supply Voltage (UK3)

G

D-BU

1796

Steering Wheel Controls Signal (UK3)

D-BU

1796

Steering Wheel Controls Signal (UK3)

H

BK

1450

Ground (UK3)

BK

1450

Ground (UK3)