GM Service Manual Online
For 1990-2009 cars only

If a tire goes flat, avoid further tire and wheel damage by driving slowly to a level place. Turn on the vehicle's hazard warning flashers. See Hazard Warning Flashers .

Caution: Changing a tire can be dangerous. The vehicle can slip off the jack and roll over or fall on you or other people. You and they could be badly injured or even killed. Find a level place to change your tire. To help prevent the vehicle from moving:

  1. Set the parking brake firmly.
  2. Put the shift lever in P (Park).
  3. Turn off the engine and do not restart while the vehicle is raised.
  4. Do not allow passengers to remain in the vehicle.
To be even more certain the vehicle will not move, you should put blocks at the front and rear of the tire farthest away from the one being changed. That would be the tire, on the other side, at the opposite end of the vehicle.


Object Number: 824541  Size: B4

To use the jack and change a tire perform the following steps.

Removing the Spare Tire and Tools

The equipment needed to change a tire is in the trunk.

  1. Open the trunk and lift up the carpet.

  2. Object Number: 809436  Size: A2

    Turn the center nut on the compact spare tire cover counterclockwise to remove it.


    Object Number: 812528  Size: B3
  3. Remove the compact spare tire. See Compact Spare Tire for more information about the compact spare tire.

  4. Object Number: 869060  Size: B3
  5. Turn the nut holding the jack counterclockwise and remove it. Then remove the jack and wrench.

  6. Object Number: 869066  Size: B3
  7. The tools you will be using include the jack (A) extension and protector/guide (B) and the wheel wrench (C).

Removing Bolt-On Wheel Covers with Nut Caps on Steel Wheels


Object Number: 1114244  Size: A2

If the vehicle has steel wheel covers with functional, plastic nut caps, loosen them with the wheel wrench in a counterclockwise direction.

If needed, finish loosening them by hand. The nut caps will not come off. Use the flat end of the wheel wrench to pry along the edge of the cover until it comes off. The edge of the wheel cover could be sharp, so do not try to remove the cover with bare hands. Do not drop or lay the cover face down, as it could become scratched or damaged.

Removing Bolt-On Wheel Covers with Center Caps on Steel Wheels

If the vehicle has steel wheel covers with center caps, the wheel nuts are behind the caps. Pry off the center caps by inserting the flat end of the wheel wrench at the notch on the cap. Use the wheel wrench to loosen the plastic wheel nut caps in a counterclockwise direction. If needed, finish loosening them by hand. The nut caps will not come off. Use the flat end of the wheel wrench and pry along the edge of the cover until it comes off. The edge of the wheel cover could be sharp, so do not try to remove the cover with bare hands. Do not drop or lay the cover face down, as it could become scratched or damaged.

Removing Snap-In Center Caps on Aluminum Wheels

If the vehicle has aluminum wheels and wheel center caps, the wheel nuts are behind the center cap. Pry off the wheel center caps by using the flat end of the wheel wrench at the notch. Do not drop or lay the cover face down, as it could become scratched or damaged.

Removing Bolt-On Center Caps on Aluminum Wheels

If the vehicle has aluminum wheels and bolts on plastic, center caps, loosen the nut caps with the wheel wrench in a counterclockwise direction. If needed, finish loosening them by hand. The nut caps can not be removed from the cap. Remove the cap from the wheel. Do not drop or lay the cap face down, as it could become scratched or damaged.

Removing Decorative Nut Caps on Aluminum Wheels

If the vehicle has aluminum wheels with decorative nut caps, loosen the plastic nut caps with the wheel wrench in a counterclockwise direction. If needed, finish loosening them by hand.

Removing the Flat Tire and Installing the Spare Tire


    Object Number: 869074  Size: B3
  1. Using the wheel wrench, loosen all the wheel nuts. Do not remove them yet.

  2. Object Number: 869078  Size: B4
  3. Turn the jack handle clockwise to raise the vehicle. Raise the vehicle far enough off the ground for the spare tire to fit underneath the wheel well.
  4. Caution: Getting under a vehicle when it is jacked up is dangerous. If the vehicle slips off the jack you could be badly injured or killed. Never get under a vehicle when it is supported only by a jack.

    Caution: Raising your vehicle with the jack improperly positioned can damage the vehicle and even make the vehicle fall. To help avoid personal injury and vehicle damage, be sure to fit the jack lift head into the proper location before raising the vehicle.

    Caution: Lifting a vehicle and getting under it to do maintenance or repairs is dangerous without the appropriate safety equipment and training. If a jack is provided with the vehicle, it is designed only for changing a flat tire. If it is used for anything else, you or others could be badly injured or killed if the vehicle slips off the jack. If a jack is provided with the vehicle, only use it for changing a flat tire.


    Object Number: 1171183  Size: B4
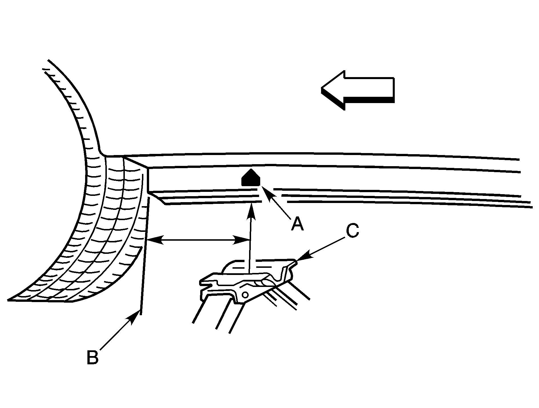
  5. For jacking at the vehicle's front location, put the jack lift head (C) about 6 inches (15 cm) from the rear edge of the front wheel opening (B). Line up the jack with the arrow (A) as shown.
  6. Put the compact spare tire near you.


    Object Number: 1003802  Size: B4
  7. For jacking at the vehicle's rear location, put the jack lift head (B) about 9 inches (23 cm) from the front edge of the rear wheel opening (C). Line up the jack with the arrow (A) as shown.
  8. Put the compact spare tire near you.

  9. Raise the vehicle by turning the jack handle clockwise. Raise the vehicle far enough off the ground for the spare tire to fit underneath the wheel well. Remove all wheel nuts and take off the flat tire.

  10. Object Number: 809249  Size: A2
  11. Remove any rust or dirt from the wheel bolts, mounting surfaces and spare wheel.
  12. Caution: Rust or dirt on a wheel or other parts to which it is fastened, can make the wheel nuts become loose and eventually the wheel could come off and cause a crash. Always remove all rust and dirt from wheels and other parts.

    Caution: Never use oil or grease on bolts or nuts because the nuts might come loose. The vehicle's wheel could fall off, causing a crash.

  13. Place the spare on the wheel mounting surface.

  14. Object Number: 822590  Size: A3
  15. Reinstall the wheel nuts with the rounded end of the nuts toward the wheel. Tighten each nut by hand until the wheel is held against the hub.

  16. Object Number: 869080  Size: B3
  17. Lower the vehicle by turning the jack handle counterclockwise. Lower the jack completely.

  18. Object Number: 808642  Size: A2
  19. Tighten the wheel nuts firmly in a crisscross sequence as shown.
  20. Reinstall the wheel trim. If the vehicle has plastic caps tighten them by hand. With the wheel wrench, tighten the plastic caps an additional quarter turn clockwise.
  21. Caution: Incorrect or improperly tightened wheel nuts can cause the wheel to come loose and even come off. This could lead to a crash. If you have to replace them, be sure to get new original equipment wheel nuts. Stop somewhere as soon as you can and have the nuts tightened with a torque wrench to the proper torque specification. See Capacities and Specifications for wheel nut torque specification.

    Notice: Improperly tightened wheel nuts can lead to brake pulsation and rotor damage. To avoid expensive brake repairs, evenly tighten the wheel nuts in the proper sequence and to the proper torque specification. See Capacities and Specifications for the wheel nut torque specification.

  22. Do not try to put the wheel cover on the compact spare tire. It will not fit. Store the wheel cover in the trunk until the flat tire is repaired or replaced.

Notice: Wheel covers will not fit on your vehicle's compact spare. If you try to put a wheel cover on the compact spare, the cover or the spare could be damaged.

Storing the Flat Tire and Tools

Caution: Storing a jack, a tire, or other equipment in the passenger compartment of the vehicle could cause injury. In a sudden stop or collision, loose equipment could strike someone. Store all these in the proper place.

After the compact spare tire is put on the vehicle, store the flat tire in the trunk. Use the following procedure to secure the flat tire in the trunk.


Object Number: 824543  Size: B3

When storing a full-size tire, use the extension and protector/guide, located in the foam holder to help avoid wheel surface damage. To store a full-size tire, place the tire in the trunk with the valve stem facing down, and the protector/guide placed through a wheel bolt hole. Remove the protector and attach the retainer securely. When putting the compact spare back in the trunk, place the protector/guide back in the foam holder. Store the cover as far forward as possible.

Storing the Spare Tire and Tools

Caution: Storing a jack, a tire, or other equipment in the passenger compartment of the vehicle could cause injury. In a sudden stop or collision, loose equipment could strike someone. Store all these in the proper place.

Compact Spare Tire

The compact spare tire is for temporary use only. Replace the compact spare tire with a full-size tire as soon as possible. See Compact Spare Tire . See the storage instructions label on the trunk lid to properly position the compact spare tire in the trunk.


Object Number: 870395  Size: A4
       • 
  1. Retainer
  2.    • 
  3. Cover
  4.    • 
  5. Compact Spare Tire
  6.    • 
  7. Nut
  8.    • 
  9. Jack
  10.    • 
  11. Wheel Wrench
  12.    • 
  13. Extension and Protective Guide
  14.    • 
  15. Bolt Screw
  16.    • 
  17. Foam Holder