GM Service Manual Online
For 1990-2009 cars only

Cleaning Procedure


    Object Number: 1272799  Size: SH
  1. Remove and discard the intake manifold-to-cylinder head gaskets (514).

  2. Object Number: 1411911  Size: SH
  3. Remove the manifold absolute pressure (MAP) sensor (714). Refer to Intake Manifold Removal .

  4. Object Number: 1411900  Size: SH
  5. Remove the evaporative emission (EVAP) canister purge solenoid valve (730), EVAP tube (729), and fuel rail with injectors. Refer to Fuel Rail and Injectors Removal .
  6. Remove the throttle body and gasket. Refer to Throttle Body Removal .
  7. Clean the intake manifold in solvent.
  8. Caution: Refer to Safety Glasses Caution in the Preface section.

  9. Dry the intake manifold with compressed air.

Inspection Procedure


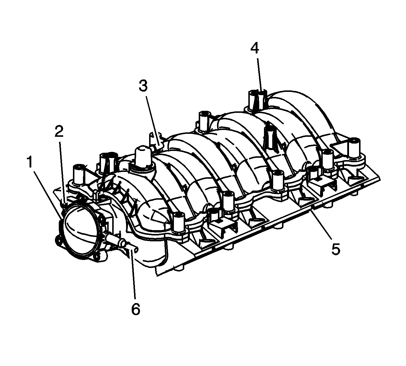
    Object Number: 1630632  Size: SH
  1. Inspect the manifold for the following conditions:
  2. • Damaged gasket or sealing surfaces (1, 5)
    • Loose threaded inserts or studs (2, 4)
    • Debris or restrictions within the passages of the manifold
    • Damaged or broken hose fittings (3, 6)
    • Inspect the composite intake manifold assembly for cracks or other damage.
  3. Inspect the intake manifold cylinder head deck for warpage.
  4. 2.1. Locate a straight edge across the intake manifold cylinder head deck surface.

    Position the straight edge across a minimum of 2 runner port openings.

    2.2. Insert a feeler gage between the intake manifold and the straight edge.

    An intake manifold with warpage in excess of 3 mm (0.118 in) over a 200 mm (7.87 in) area is warped and should be replaced.