GM Service Manual Online
For 1990-2009 cars only

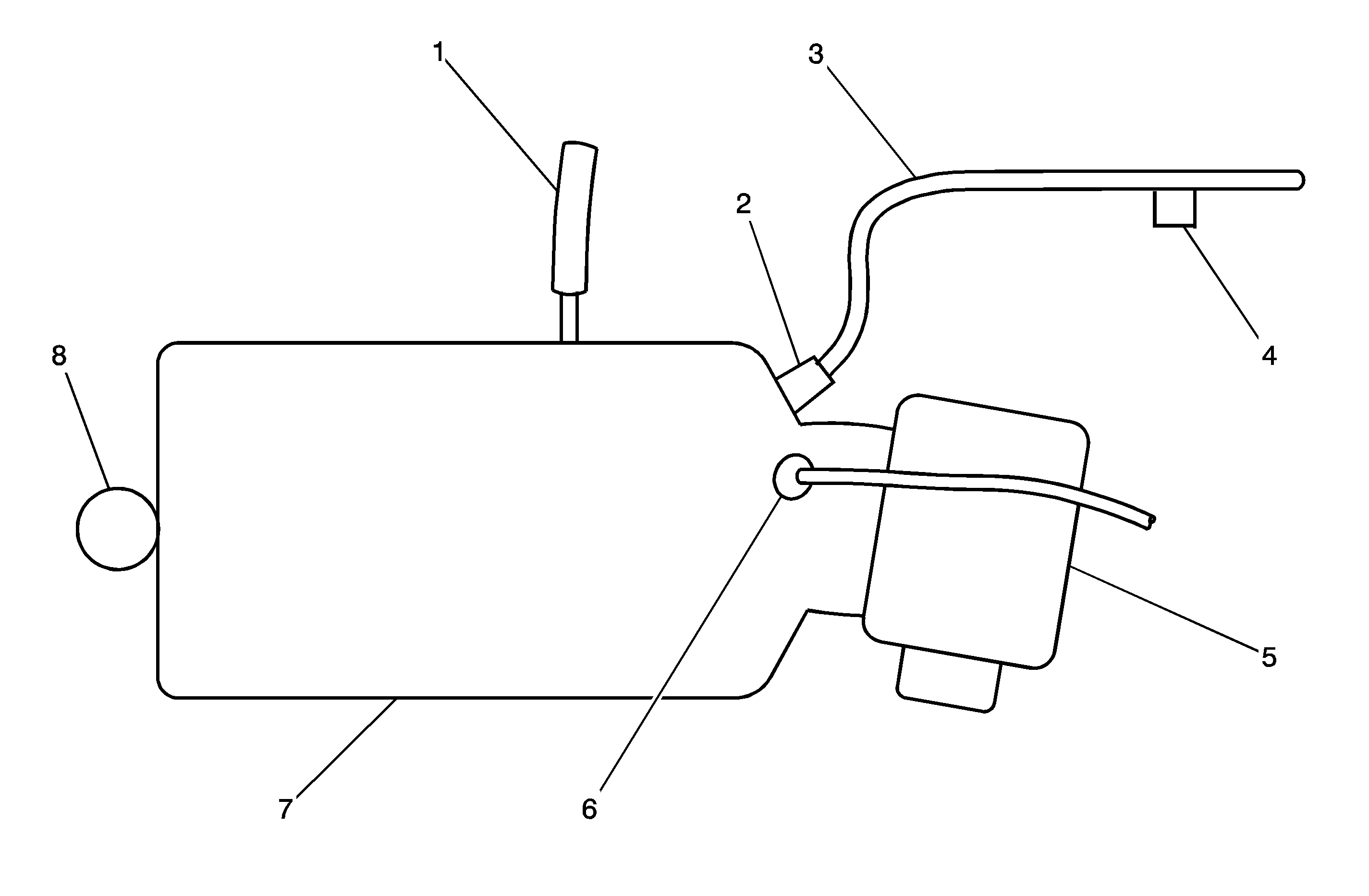
Emission Hose Routing Diagram L26/L32

Emission Hose Routing Diagram 3800 (L26-VIN 2)


Object Number: 1284927  Size: MF
(1)To Vacuum Brake Booster
(2)EVAP Canister Purge Solenoid Valve
(3)EVAP Purge Line
(4)EVAP Service Port
(5)Throttle Actuator Control
(6)PCV Valve
(7)Intake Manifold
(8)MAP Sensor

Emission Hose Routing Diagram 3800 (L32-VIN 4)


Object Number: 1284926  Size: MF
(1)MAP Sensor
(2)To Vacuum Brake Booster
(3)EVAP Canister Purge Solenoid Valve
(4)PCV Valve
(5)Throttle Actuator Control
(6) Supercharger Bypass Actuator
(7)Supercharger Bypass Solenoid
(8)Intake Manifold
(9) Super Charger Assembly
(10)BARO Sensor

Emission Hose Routing Diagram L26, NU3


Object Number: 1403758  Size: MF
(1)To Vacuum Brake Booster
(2)AIR Check Valve
(3)AIR Pressure Sensor
(4)AIR Pipe to Exhaust Manifold
(5)Exhaust Gas Recirculation (EGR) Valve
(6)EVAP Purge Line
(7)EVAP Service Port
(8)EVAP Canister Purge Solenoid Valve
(9)AIR Pump Outlet Pipe
(10)Throttle Actuator Control (TAC) Assembly
(11)Air Intake Duct
(12)Mass Airflow (MAF)/Intake Air Temperature (IAT) Sensor
(13)Air Cleaner Assembly
(14)AIR Pump Fresh Air Inlet Tube
(15)AIR Pump
(16)AIR Pump Outlet Pipe
(17)Breather Tube
(18)Intake Manifold
(19)Manifold Absolute Pressure (MAP) Sensor