GM Service Manual Online
For 1990-2009 cars only

Removal Procedure

  1. Remove the rear door trim panel. Refer to Rear Side Door Trim Panel Replacement .
  2. Raise the door window to the full up position.

  3. Object Number: 788784  Size: SH
  4. Remove the rivet (3) from the inside handle.
  5. 3.1. Use a center punch to drive the inside handle mounting rivet (3) mandrel into the rivet head to create a pilot hole.
    3.2. Use a 6 mm (1/4 in) drill bit to drill out the rivet.
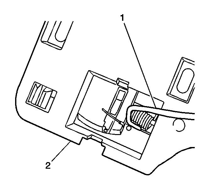
    3.3. Remove the inside handle rod (1) from the lock rod guide block.

    Object Number: 788789  Size: SH
  6. Remove the inside handle (2) by sliding it forward until it releases from the door.
  7. Turn the inside handle clockwise to release the rod (1) from the inside handle.
  8. Remove the inside handle from the door.

Installation Procedure


    Object Number: 788789  Size: SH
  1. Install the inside handle to the door.
  2. Turn the inside handle counterclockwise to install the rod (1).
  3. Install the inside handle (2) into the slots in the door, then slide it rearward to lock it in place.
  4. Install the inside handle rod (1) to the lock rod guide block.
  5. Use a 6 mm (1/4 in) to install the inside handle rivet (3).
  6. Inspect the door for proper operation.
  7. Install the rear door trim panel. Refer to Rear Side Door Trim Panel Replacement .