GM Service Manual Online
For 1990-2009 cars only

DTC P0842 3.8L


Object Number: 2004221  Size: MF
Master Electrical Component List
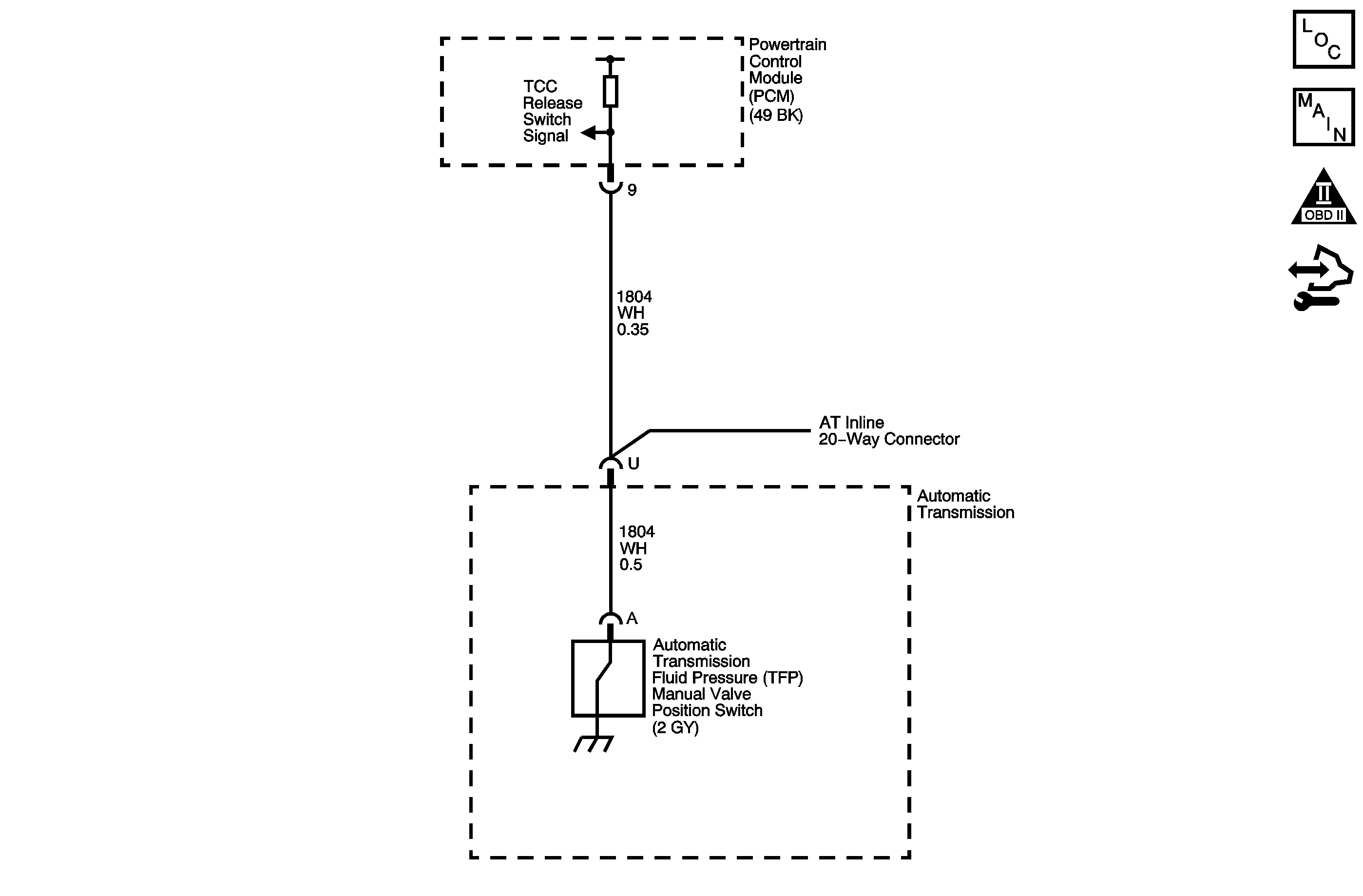
Automatic Transmission Controls Schematics LS4
Automatic Transmission Controls Schematics L26, L32
OBD II Symbol Description Notice
Control Module References

Circuit Description

The torque converter clutch (TCC) release switch is part of the transmission fluid pressure (TFP) manual valve position switch. The TFP manual valve position switch is mounted to the transmission valve body. The TCC release switch is normally-closed.

The switch signals the powertrain control module (PCM) that the TCC is released. This is accomplished by torque converter release fluid pressure acting on the switch contact which opens the circuit. When the circuit voltage is high, the PCM recognizes that the TCC is no longer engaged.

If the PCM determines that the TCC release switch is closed indicating that the TCC is applied and the TCC slip speed indicates that the TCC is not applied, then DTC P0842 sets. DTC P0842 is a type B DTC.

DTC Descriptor

This diagnostic procedure supports the following DTC:

DTC P0842 Transmission Fluid Pressure (TFP) Sensor Circuit Low Voltage

Conditions for Running the DTC

    • No ISS DTC P0716 or P0717.
    • No TCC PWM solenoid valve performance DTC P0741 or P0742.
    • The engine speed is greater than 500 RPM for 5 seconds.
    • The TCC is commanded OFF.
    • The transmission fluid temperature is 20-130°C (68-266°F).
    • The TCC slip speed is greater than 80 RPM.
    • The engine torque is greater than 30 N·m (22 lb ft).
    • The vehicle speed is 16 km/h (10 mph) or greater.

Conditions for Setting the DTC

The TCC release pressure switch is closed, indicating release pressure is not present, TCC applied, when the PCM is commanding the TCC off and TCC slip shows the TCC is OFF for 6 seconds continuous twice during the same ignition cycle.

Action Taken When the DTC Sets

    • The PCM illuminates the malfunction indicator lamp (MIL) during the second consecutive trip in which the Conditions for Setting the DTC are met.
    • The PCM forces the TCC ON at maximum capacity.
    • The PCM commands maximum line pressure.
    • The PCM disables TAP shift operation, if equipped.
    • The PCM inhibits 4th gear if the transmission is in Hot Mode.
    • The PCM commands an alternate coast shift pattern where downshifts occur at higher vehicle speeds while coasting.
    • The PCM freezes transmission adaptive functions.
    • The PCM records the operating conditions when the Conditions for Setting the DTC are met. The PCM stores this information as Freeze Frame and Failure Records.
    • The PCM stores DTC P0842 in PCM history during the second consecutive trip in which the Conditions for Setting the DTC are met.

Conditions for Clearing the DTC

    • The PCM turns OFF the MIL during the third consecutive trip in which the diagnostic test runs and passes.
    • A scan tool can clear the DTC.
    • The PCM clears the DTC from PCM history if the vehicle completes 40 warm-up cycles without an emission related diagnostic fault occurring.
    • The PCM cancels the DTC default actions when the ignition switch is OFF long enough in order to power down the PCM.

Diagnostic Aids

    • The default actions from DTC P0842 can cause DTC P0742 to falsely set. If DTC P0742 is also set, diagnose DTC P0842 first.
    • Do not replace the torque converter for this condition, refer to the Torque Converter Replacement Guide for other concerns.
    • Ensure the wiring harness is not stretched too tightly or other components are pressing on the automatic transmission inline 20-way connector body. Also inspect for proper clearance to any other components and wiring. Refer to Testing for Intermittent Conditions and Poor Connections.

Step

Action

Yes

No

1

Did you perform the Diagnostic System Check - Vehicle?

Go to Step 2

Go to Diagnostic System Check - Vehicle

2

  1. Install a scan tool.
  2. Start the vehicle.
  3. Important: Before clearing the DTCs, use the scan tool in order to record the Freeze Frame and Failure Records for reference. Using the Clear DTC Information function will erase the stored Freeze Frame and Failure Records from the PCM.

  4. Record the Freeze Frame and Failure Records.
  5. Clear the DTC.
  6. With the scan tool, observe the TCC Release Pressure parameter.

Does the scan tool indicate Yes for TCC Release Pressure?

Go to Testing for Intermittent Conditions and Poor Connections

Go to Step 3

3

  1. Turn OFF the ignition.
  2. Disconnect the automatic transmission inline 20-way connector. Additional DTCs may set.
  3. Turn ON the ignition with the engine OFF.
  4. Observe the TCC Release Pressure parameter.

Does the scan tool indicate Yes for TCC Release Pressure?

Go to Step 4

Go to Step 5

4

Test the TCC release switch signal circuit for a short to ground between the automatic transmission inline 20-way connector and the TFP manual valve position switch. Refer to Testing for Short to Ground.

Did you find a condition?

Go to Step 6

Go to Step 7

5

Test the TCC release switch signal for a short to ground between the PCM and the automatic transmission inline 20-way connector. Refer to Testing for Short to Ground and Wiring Repairs.

Did you find and correct the condition?

Go to Step 9

Go to Step 8

6

Replace the automatic transmission wiring harness assembly. Refer to Wiring Harness Replacement.

Did you complete the replacement?

Go to Step 9

--

7

Replace the TFP manual valve position switch. Refer to Transmission Fluid Pressure Manual Valve Position Switch Replacement.

Did you complete the replacement?

Go to Step 9

--

8

Replace the PCM. Refer to Control Module References for replacement, setup and programming.

Did you complete the replacement?

Go to Step 9

--

9

Perform the following procedure in order to verify the repair:

  1. Select DTC.
  2. Select Clear DTC Info.
  3. Operate the vehicle under the following conditions:
  4. • Start the vehicle.
    • Observe TCC release pressure on the scan tool.
    • Ensure that the TCC release pressure status is YES for at least 5 seconds.
  5. Select Specific DTC.
  6. Enter DTC P0842.

Has the test run and passed?

Go to Step 10

Go to Step 2

10

With a scan tool, observe the stored information, capture info and DTC info.

Does the scan tool display any DTCs that you have not diagnosed?

Go to Diagnostic Trouble Code (DTC) List - Vehicle

System OK