GM Service Manual Online
For 1990-2009 cars only

DTC P0843 3.8L


Object Number: 2004219  Size: MF
Master Electrical Component List
Automatic Transmission Controls Schematics
OBD II Symbol Description Notice
Control Module References

Circuit Description

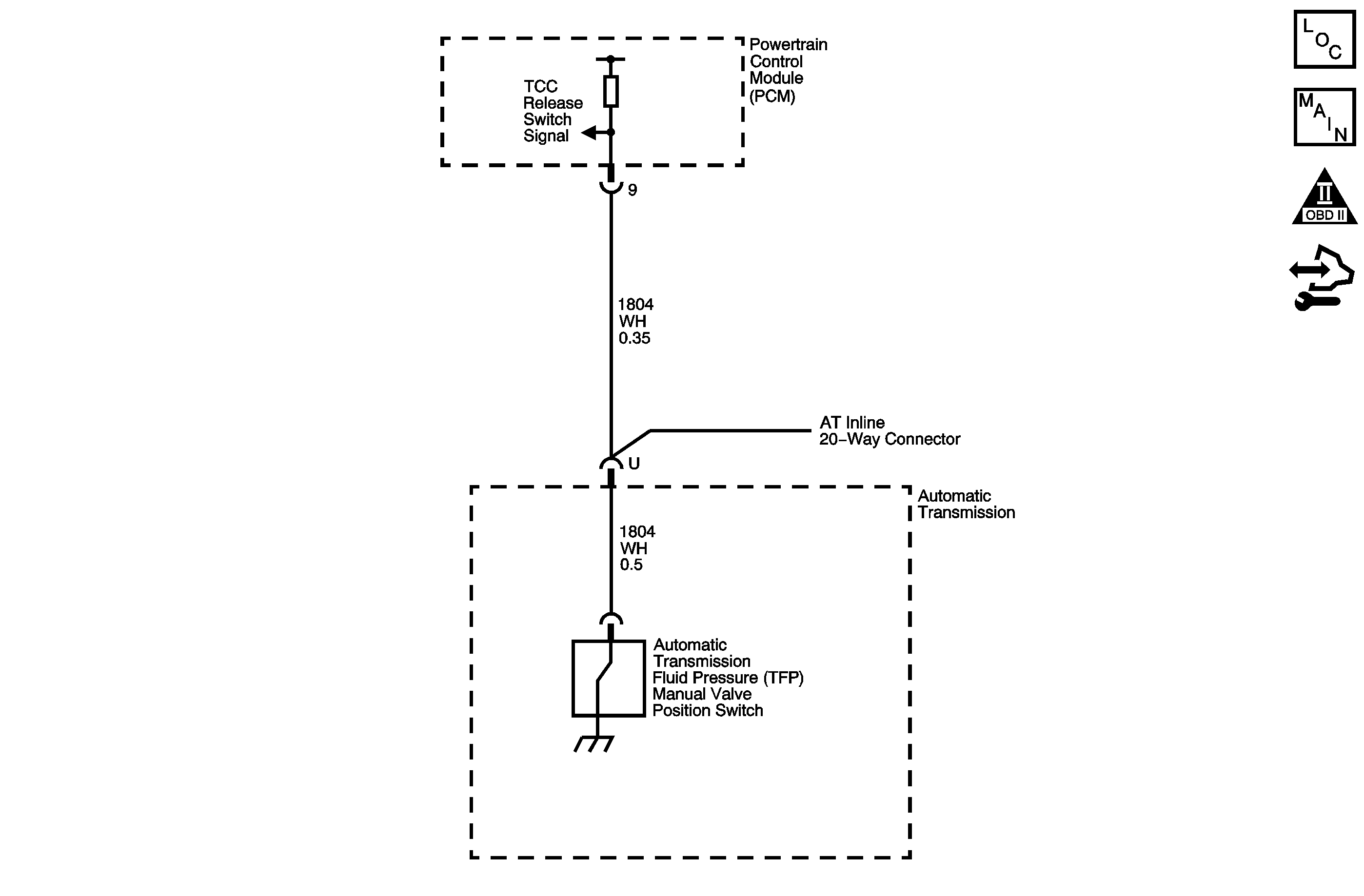
The torque converter clutch (TCC) release switch is part of the transmission fluid pressure (TFP) manual valve position switch. The TFP manual valve position switch is mounted to the transmission valve body. The TCC release switch is normally-closed.

The switch signals the powertrain control module (PCM) that the TCC is released. This is accomplished by torque converter release fluid pressure acting on the switch contact which opens the circuit. When the circuit voltage is high, the PCM recognizes that the TCC is no longer engaged.

If the PCM determines that the TCC release switch is open, indicating the TCC is not applied and the TCC slip speed indicates the TCC is applied, then DTC P0843 sets. DTC P0843 is a type B DTC.

DTC Descriptor

This diagnostic procedure supports the following DTC:

DTC P0843 Transmission Fluid Pressure (TFP) Sensor Circuit High Voltage

Conditions for Running the DTC

    • No ISS DTC P0716 or P0717.
    • No TCC performance DTC P0741 or P0742.
    • The TCC is commanded ON.
    • The engine speed is greater than 500 RPM for 5 seconds.
    • The transmission fluid temperature (TFT) is between 20°C (68°F) and 130°C (266°F).
    • The TCC slip speed is greater than 20 RPM.
    • The engine torque is 30 N·m (22 lb ft) or greater.
    • The vehicle speed is 16 km/h (10 mph) or greater.

Conditions for Setting the DTC

The TCC release pressure switch is open, indicating release pressure present, TCC released, when the PCM is commanding the TCC on and TCC slip shows the TCC is ON for 6 seconds continuous twice during the same ignition cycle.

Action Taken When the DTC Sets

    • The PCM illuminates the malfunction indicator lamp (MIL) during the second consecutive trip in which the Conditions for Setting the DTC are met.
    • The PCM forces the TCC OFF.
    • The PCM inhibits 4th gear if the transmission is in Hot Mode.
    • The PCM freezes transmission adaptive functions.
    • The PCM records the operating conditions when the Conditions for Setting the DTC are met. The PCM stores this information as Freeze Frame and Failure Records.
    • The PCM stores DTC P0843 in PCM history during the second consecutive trip in which the Conditions for Setting the DTC are met.

Conditions for Clearing the MIL/DTC

    • The PCM turns OFF the MIL after the third consecutive trip in which the diagnostic test runs and passes.
    • A scan tool can clear the MIL/DTC.
    • The PCM clears the DTC from PCM history if the vehicle completes 40 warm-up cycles without an emission related diagnostic fault occurring.
    • The PCM cancels the DTC default actions when the ignition switch is OFF long enough in order to power down the PCM.

Diagnostic Aids

    • Do not replace the torque converter for this condition. Refer to Torque Converter Replacement Guide for other concerns.
    • Ensure the wiring harness is not stretched too tightly or other components are pressing on the automatic transmission inline 20-way connector body. Also inspect for proper clearance to any other components and wiring. Refer to Testing for Intermittent Conditions and Poor Connections .

Test Description

The numbers below refer to the step numbers on the diagnostic table.

  1. This step tests the ability of the PCM to recognize a grounded circuit.

  2. A short to ground in this circuit would set DTC P0742.

  3. A short to ground in this circuit would set DTC P0742.

Step

Action

Yes

No

1

Did you perform the Diagnostic System Check -- Vehicle?

Go to Step 2

Go to Diagnostic System Check - Vehicle

2

  1. Install a scan tool.
  2. Turn ON the ignition, with the engine OFF.
  3. Important: Before clearing the DTCs, use the scan tool in order to record the Freeze Frame and Failure Records for reference. Using the Clear Info function will erase the stored Freeze Frame and Failure Records from the PCM.

  4. Record the Freeze Frame and Failure Records.
  5. Clear the DTC.
  6. With the scan tool, observe the TCC Release Pressure parameter.

Does the scan tool indicate Yes for TCC Release Pressure?

Go to Step 3

Go to Step 6

3

  1. Turn OFF the ignition.
  2. Disconnect the automatic transmission inline 20-way connector. Additional DTCs may set.
  3. Connect the J 44152 jumper harness on the engine side of the 20-way connector.
  4. Using the J 35616 GM terminal test kit, connect a fused jumper wire from the TFP manual valve position switch to a good ground.
  5. Refer to Automatic Transmission Inline 20-Way Connector End View .

  6. Turn ON the ignition, with the engine OFF.
  7. Observe the TCC Release Pressure parameter.

Does the scan tool indicate Yes for TCC Release Pressure?

Go to Step 4

Go to Step 5

4

Test the signal circuit of the TCC release switch for an open between the PCM connector and the automatic transmission inline 20-way connector. Refer to Testing for Continuity and Wiring Repairs .

Did you find and correct a condition?

Go to Step 11

Go to Step 10

5

Test the signal circuit of the TCC release switch for an open between the automatic transmission inline 20-way connector and the TFP manual valve position switch. Refer to Automatic Transmission Inline 20-Way Connector End View and Testing for Continuity .

Did you find a condition?

Go to Step 8

Go to Step 9

6

  1. Using the scan tool, observe TCC Slip Speed and TCC Release Pressure.
  2. Drive the vehicle with the range selector in D4 until the TCC is applied and slip speed is below 50 RPM.

Does the scan tool indicate Yes for TCC Release Pressure?

Go to Step 7

Go to Testing for Intermittent Conditions and Poor Connections

7

Inspect for the following conditions of mechanical components and hydraulic circuits that could cause TCC release pressure at the TCC release switch when the TCC is applied:

    • The turbine shaft O-ring seal leaking
    • The turbine shaft oil seal rings missing or damaged
        Refer to Torque Converter Assembly Removal .
    • The TCC control valve damaged
        Refer to Control Valve Body Disassemble .
    • The #1 checkball damaged
    • The spacer plate release exhaust blocked with debris
    • The case cover or spacer plate gaskets improperly installed
        Refer to Case Cover Removal .

Did you complete the repair?

Go to Step 11

--

8

Replace the automatic transmission wiring harness assembly. Refer to Wiring Harness Replacement .

Did you complete the replacement?

Go to Step 11

--

9

Replace the TFP manual valve position switch. Refer to Transmission Fluid Pressure Manual Valve Position Switch Replacement .

Did you complete the replacement?

Go to Step 11

--

10

Replace the PCM. Refer to Control Module References for replacement, setup and programming.

Did you complete the replacement?

Go to Step 11

--

11

Perform the following procedure in order to verify the repair:

  1. Select DTC.
  2. Select Clear Info.
  3. Operate the vehicle under the following conditions:
  4. • Drive the vehicle in D4 until the transmission shifts into 4th gear and the TCC is commanded ON.
    • Observe TCC release pressure on the scan tool.
    • Ensure the TCC release pressure status is NO for at least 5 seconds.
  5. Select Specific DTC.
  6. Enter DTC P0843.

Has the test run and passed?

Go to Step 12

Go to Step 2

12

With a scan tool, observe the stored information, capture info and DTC info.

Does the scan tool display any DTCs that you have not diagnosed?

Go to Diagnostic Trouble Code (DTC) List - Vehicle

System OK