GM Service Manual Online
For 1990-2009 cars only

DTC P1823 3.8L


Object Number: 1440602  Size: LF
Master Electrical Component List
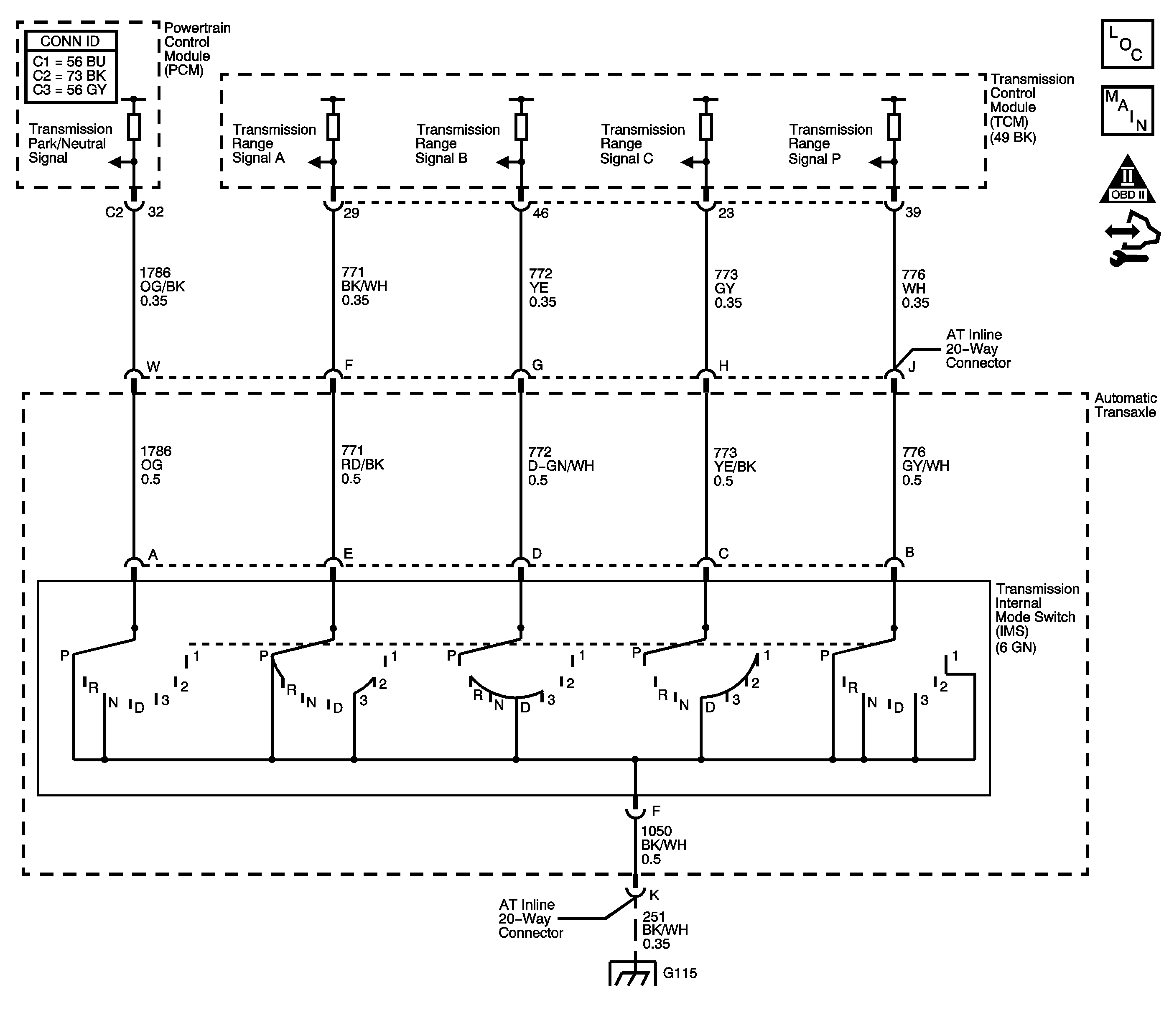
Automatic Transmission Controls Schematics (LS4)
Automatic Transmission Controls Schematics (L26, L32)
OBD II Symbol Description Notice
Control Module References

Circuit Description

The transmission internal mode switch (IMS) is a sliding contact switch attached to the selector detent inside the transmission side cover. The 4 inputs to the powertrain control module (PCM) indicate the position of the transmission range selector. The input voltage level at the PCM is high, B+, when the IMS is open and low when the switch is closed to ground. The four input parameters represented are Signals A, B, C and P - Parity. Refer to Transmission Internal Mode Switch Logic .

If the PCM detects that IMS Signal P is always low, then DTC P1823 sets. DTC P1823 is a type B DTC.

DTC Descriptor

This diagnostic procedure supports the following DTC:

DTC P1823 Internal Mode Switch P Circuit Low Voltage

Conditions for Running the DTC

    • No MAP DTC P0107 or P0108.
    • The engine speed is greater than 500 RPM for 5 seconds and not in fuel cut off.
    • Engine torque is 55-407 N·m (40-300 lb ft).
    • The IMS indicates PARK for 2 seconds.

Conditions for Setting the DTC

The IMS Signal P is continuously low this ignition cycle, and the IMS indicates transitional position N-D4 for 8 seconds.

Action Taken When the DTC Sets

    • The PCM illuminates the malfunction indicator lamp (MIL) during the second consecutive trip in which the Conditions for Setting the DTC are met.
    • The PCM commands maximum line pressure.
    • The PCM inhibits TAP shift operation, if equipped.
    • The PCM freezes transmission adaptive functions.
    • The PCM assumes D4 for shifting.
    • The PCM records the operating conditions when the Conditions for Setting the DTC are met. The PCM stores this information as Freeze Frame and Failure Records.
    • The PCM stores DTC P1823 in PCM history during the second consecutive trip in which the Conditions for Setting the DTC are met.

Conditions for Clearing the MIL/DTC

    • The PCM turns OFF the MIL during the third consecutive trip in which the diagnostic test runs and passes.
    • A scan tool can clear the MIL/DTC.
    • The PCM clears the DTC from PCM history if the vehicle completes 40 warm-up cycles without an emission related diagnostic fault occurring.
    • The PCM cancels the DTC default actions when the ignition switch is OFF long enough in order to power down the PCM.

Test Description

The numbers below refer to the step numbers on the diagnostic table.

  1. A LOW signal indicates a short to ground in the vehicle harness or the PCM.

  2. This step tests the internal transmission harness without the IMS connected.

Step

Action

Yes

No

1

Did you perform the Diagnostic System Check - Vehicle?

Go to Step 2

Go to Diagnostic System Check - Vehicle

2

  1. Install a scan tool.
  2. Turn ON the ignition with the engine OFF.
  3. Important: Before clearing the DTC, use the scan tool in order to record the Failure Records. Using the Clear DTC Information function erases the Failure Records from the PCM.

  4. Record the DTC Freeze Frame and Failure Records.
  5. Clear the DTC.
  6. Select IMS on the scan tool.
  7. Place the range selector in D4.

Does the scan tool IMS parameter indicate Drive 4?

Go to Testing for Intermittent Conditions and Poor Connections

Go to Step 3

3

  1. Turn OFF the ignition.
  2. Disconnect the automatic transmission inline 20-way connector. Additional DTCs may set.
  3. Turn ON the ignition, with the engine OFF.
  4. Select IMS A/B/C/P on the scan tool.

Does IMS signal P indicate LOW?

Go to Step 4

Go to Step 5

4

Test the TR signal P circuit of the IMS for a short to ground between the PCM and the automatic transmission inline 20-way connector. Refer to Testing for Short to Ground and Wiring Repairs .

Did you find and correct the condition?

Go to Step 9

Go to Step 8

5

  1. Turn OFF the ignition.
  2. Connect the automatic transmission inline 20-way connector.
  3. Disconnect the automatic transmission wiring harness at the IMS.
  4. Turn ON the ignition, with the engine OFF.
  5. Select IMS A/B/C/P on the scan tool.

Does IMS signal P indicate LOW?

Go to Step 6

Go to Step 7

6

Replace the automatic transmission wiring harness assembly. Refer to Wiring Harness Replacement .

Did you complete the replacement?

Go to Step 9

--

7

Replace the lever assembly manual shaft detent with internal mode switch. Refer to Manual Shift Detent Lever with Shaft Position Switch Assembly Removal l.

Did you complete the replacement?

Go to Step 9

--

8

Replace the PCM. Refer to Control Module References for replacement, setup and programming.

Did you complete the replacement?

Go to Step 9

--

9

Perform the following procedure in order to verify the repair:

  1. Select DTC.
  2. Select Clear DTC Information.
  3. Start and idle the engine in PARK for 10 seconds.
  4. Select IMS A/B/C/P on the scan tool.
  5. Move the range selector from PARK to D4.
  6. Ensure that IMS signal P changes from LOW to HI.
  7. Select Specific DTC.
  8. Enter DTC P1823.

Has the test run and passed?

Go to Step 10

Go to Step 2

10

With a scan tool, observe the stored information, capture info and DTC info.

Does the scan tool display any DTCs that you have not diagnosed?

Go to Diagnostic Trouble Code (DTC) List - Vehicle

System OK

DTC P1823 5.3L


Object Number: 1701738  Size: LF
Master Electrical Component List
Automatic Transmission Controls Schematics (LS4)
Automatic Transmission Controls Schematics (L26, L32)
OBD II Symbol Description Notice
Control Module References

Circuit Description

The transmission internal mode switch (IMS) is a sliding contact switch attached to the selector detent inside the transmission side cover. The four inputs to the TCM indicate the position of the transmission range selector. The input voltage level at the TCM is high, B+, when the IMS is open and low when the switch is closed to ground. The four input parameters represented are Signals A, B, C and P - Parity. Refer to Transmission Internal Mode Switch Logic .

If the TCM detects that IMS Signal P is always low, then DTC P1823 sets. DTC P1823 is a type B DTC.

DTC Descriptor

This diagnostic procedure supports the following DTC:

DTC P1823 Internal Mode Switch P Circuit Low Voltage

Conditions for Running the DTC

    • The engine speed is greater than 500 RPM for 5 seconds.
    • No engine torque malfunction.
    • The engine torque is greater than 50 N·m (37 lb ft).
    • The IMS indicates PARK for 1 second or more.

Conditions for Setting the DTC

The IMS Signal P is continuously low this ignition cycle, and the IMS indicates transitional position N-D4 for 8 seconds or more.

Action Taken When the DTC Sets

    • The TCM requests the ECM to illuminate the malfunction indicator lamp (MIL) during the consecutive trip in which the Conditions for Setting the DTC are met.
    • The TCM commands maximum line pressure.
    • The TCM disables TAP shift operation, if equipped.
    • The TCM commands an alternate coast shift pattern where downshifts occur at higher vehicle speeds while coasting.
    • The TCM freezes transmission adaptive functions.
    • The TCM assumes D4 for shifting.
    • The TCM records the operating conditions when the Conditions for Setting the DTC are met. The TCM stores this information as Failure Records.
    • The TCM stores DTC P1823 in TCM history during the consecutive trip in which the Conditions for Setting the DTC are met.

Conditions for Clearing the DTC

    • A scan tool can clear the DTC.
    • The TCM clears the DTC from TCM history if the vehicle completes 40 warm-up cycles without an emission related diagnostic fault occurring.
    • The TCM cancels the DTC default actions when the ignition switch is OFF long enough in order to power down the TCM.

Test Description

The numbers below refer to the step numbers on the diagnostic table.

  1. A LOW signal indicates a short to ground in the vehicle harness or the TCM.

  2. This step tests the internal transmission harness without the IMS connected.

Step

Action

Yes

No

1

Did you perform the Diagnostic System Check - Vehicle?

Go to Step 2

Go to Diagnostic System Check - Vehicle

2

  1. Install a scan tool.
  2. Turn ON the ignition with the engine OFF.
  3. Important: Before clearing the DTC, use the scan tool in order to record the Failure Records. Using the Clear Info function erases the Failure Records from the TCM.

  4. Record the DTC Freeze Frame and Failure Records.
  5. Clear the DTC.
  6. Select IMS on the scan tool.
  7. Place the range selector in D4.

Does the scan tool IMS parameter indicate Drive 4?

Go to Testing for Intermittent Conditions and Poor Connections

Go to Step 3

3

  1. Turn OFF the ignition.
  2. Disconnect the automatic transmission inline 20-way connector. Additional DTCs may set.
  3. Turn ON the ignition, with the engine OFF.
  4. Select IMS A/B/C/P on the scan tool.

Does IMS signal P indicate LOW?

Go to Step 4

Go to Step 5

4

Test the TR signal P circuit of the IMS for a short to ground between the TCM connector and the automatic transmission inline 20-way connector. Refer to Testing for Short to Ground and Wiring Repairs .

Did you find and correct the condition?

Go to Step 9

Go to Step 8

5

  1. Turn OFF the ignition.
  2. Connect the automatic transmission inline 20-way connector.
  3. Disconnect the automatic transmission wiring harness at the IMS.
  4. Turn ON the ignition, with the engine OFF.
  5. Select IMS A/B/C/P on the scan tool.

Does IMS signal P indicate LOW?

Go to Step 6

Go to Step 7

6

Replace the automatic transmission wiring harness assembly. Refer to Wiring Harness Replacement .

Did you complete the replacement?

Go to Step 9

--

7

Replace the lever assembly manual shaft detent with internal mode switch. Refer to Manual Shift Detent Lever with Shaft Position Switch Assembly Removal .

Did you complete the replacement?

Go to Step 9

--

8

Replace the TCM. Refer to Control Module References for replacement, setup and programming.

Did you complete the replacement?

Go to Step 9

--

9

Perform the following procedure in order to verify the repair:

  1. Select DTC.
  2. Select Clear Info.
  3. Start and idle the engine in PARK for 1 second.
  4. Select IMS A/B/C/P on the scan tool.
  5. Move the range selector from PARK to D4.
  6. Ensure that IMS signal P changes from LOW to HI for 4 seconds or more.
  7. Select Specific DTC.
  8. Enter DTC P1823.

Has the test run and passed?

Go to Step 10

Go to Step 2

10

With a scan tool, observe the stored information, capture info and DTC info.

Does the scan tool display any DTCs that you have not diagnosed?

Go to Diagnostic Trouble Code (DTC) List - Vehicle

System OK