GM Service Manual Online
For 1990-2009 cars only

CAMPAIGN SEAT BELT BUCKLES

Models: 1988 Optima

General Motors of Canada has determined that a defect which relates to motor vehicle safety may exist in certain 1988 Optima Model vehicles. The seat belt buckles on these vehicles may not properly latch. It could appear to the occupant(s) that their seat belt buckle is latched, but the latch plate can be removed from the buckle without pressing the release button. In the event of a sudden vehicle stop or collision a seat belt buckle with this condition could release, increasing the risk of injury to those occupants.

To prevent the possibility of this condition occurring, the seat belt buckles will be replaced with new buckles on all involved vehicles.

VEHICLES INVOLVED:

Involved are certain 1988 Optima vehicles produced within the following VIN breakpoints:

Plant From Through and Including ------------ -------- ------------------- Pupyong (Korea) JB100001 ** JB103373

All affected vehicles have been identified by the VIN listing provided to involved Dealers with this bulletin. Any Dealer not receiving a listing was not shipped any of the affected vehicles.

DEALER CAMPAIGN RESPONSIBILITY:

Dealers are to service all vehicles subject to this campaign at no charge to owners, regardless of mileage, age of vehicle, or ownership, from this time forward.

Whenever a vehicle subject to this campaign is taken into your new or used vehicle inventory, or it is in your Dealership for service in the future, you should take the steps necessary to be sure the campaign correction has been made before reselling or releasing the vehicle.

Owners of vehicles recently sold from your new vehicle inventory are to be contacted by the Dealer, and arrangements made to make the required modification according to instructions contained in this bulletin.

CAMPAIGN PROCEDURE:

Refer to Section 4 of the Service Policies and Procedures Manual for the detailed procedure on handling Product Campaigns. Dealers are requested to complete the campaign on all transfers as soon as possible.

OWNER NOTIFICATION:

All owners of record at the time of campaign release are shown on the attached computer listing and have been notified by first class mail from General Motors. The listings provided are for campaign activity only and should not be used for any other purpose.

PARTS INFORMATION:

Parts required should be ordered through regular channels, as follows:

Quantity/ Part Number Description Vehicle ---------- ------------------------- --------- 90245579 Buckle - Seat Assy. Front Left 1 (Driver Side)

90245578 Buckle - Seat Assy. Front Right 1 (Passenger Side)

90245580 Buckle - Seat Assy. Rear Left & 2 Right

90245581 Buckle - Seat Assy. Rear Centre 1

90196103 Bolt - Anchor (Front Seat Belt 2 Attaching - Black)

9288603 Bolt - Anchor (Rear Seat Belt 2 Attaching - Silver)

Quantity/ Part Number Description Vehicle ----------- -------------------- -------- 9428369 Washer - Spring (Front Seat 2 Buckle Attaching)

90196045 Bolt - 13mm Hex HD (Front Seat 8 Track Retaining)

NPN Tie Strap 1

PARTS AND LABOUR CLAIM INFORMATION:

Credit for the campaign work performed will be paid upon receipt of a properly completed campaign claim card, RAPID terminal or DCS transmission in accordance with the following:

Repair Code Description Time Allowance ----------- -------------------- ------------ 2A Replace Seat Belt Buckle 0.8 Assemblies

Time allowance includes 0.1 hour for Dealer administrative detail associated with this campaign. Parts credit will be based on Dealer net plus 30% to cover parts handling.

SERVICE PROCEDURE:

FRONT SEAT BELT BUCKLES: REMOVAL --------------------------------- 1. Slide seat to full rearward position.

2. "GLS" models only (Figure 1):

(A) Remove outboard seat track cover retaining screw using a Phillips head (+) screwdriver.

(B) Remove seat track cover.

3. Remove cover from outboard seat track retaining bolt. Remove and discard two (2) 13mm retaining bolts from front inboard and outboard seat tracks.

4. Drivers side only: Reach under front of seat and disconnect buckle harness connector.

5. Slide seat to full forward position and fold seat back forward to provide access. For two-door vehicles use seat back release lever on outboard side of seat back. For sedan use recliner adjuster knob at base of inboard side of seat track.

6. Remove protective covers from rear of seat tracks (Figure 2). Use a regular screwdriver (-) to release two (2) clips on inboard cover; outboard cover is removed by pulling rearward.

7. Remove and discard 13mm bolt from rear of inboard seat track.

8. Loosen - BUT DO NOT REMOVE AT THIS TIME - outboard 13mm retaining bolts (this will allow easier alignment of seat track during reinstallation).

9. Tip seat assembly sideways (outboard) into door opening and support inboard seat track in raised position to provide access to seat belt buckle anchor bolt (Figure 3).

10. Remove and discard 21mm anchor bolt, spring washer and buckle assembly (see Step 11 for special instructions for driver's side buckle). Remove seat track support, return seat to previous position.

11. Driver's side only:

(A) From outside of car, reach under rear of front seat and locate plastic tie strap which retains buckle wiring harness to underside of seat. Note location for later installation. Cut tie strap and release wiring harness from underside of seat.

NOTICE: Do not pull or tug on wiring harness excessively as it could pull wiring under seat track.

(B) Remove buckle and harness assembly.

FRONT SEAT BUCKLES: INSTALLATION --------------------------------- 12. Tip seat sideways into door opening and support as in Step 9.

13. Attach new buckle assembly to seat using new anchor bolt (P/N 90196103 - black) and spring washer (P/N 9428369). Tighten anchor bolt to 35 N.m (26 lbs. ft.) torque.

14. Driver's side only:

(A) Feed wiring harness between seat and seat track (Figure 4).

(B) Remove seat track support and set seat on floor.

(C) Attach harness to seat spring using a new plastic tie strap at location noted in Step 11A. Route harness forward to connector, passing over transverse seat adjusting actuator rod.

(D) Slide seat rearward and make wiring harness connection under front of seat.

15. Install new seat track retaining bolts (P/N 90196045) to front inboard and outboard attaching points, (two [2] places) - DO NOT TIGHTEN - some movement of seat track will be necessary to permit installation of rear bolts.

16. Slide seat to full forward position, remove and discard remaining original seat track retaining bolt f rom rear of outboard track.

17. Install new seat track retaining bolts (P/N 90196045) to rear inboard and outboard attaching points (two [2] places) - Do NOT TIGHTEN.

18. Adjust seat to central location to provide access to both front and rear seat track retaining bolts.

19. Tighten seat track retaining bolts to 20 N.m (15 lbs. ft.) in the following sequence:

1 - Front Inboard 2 - Rear Inboard 3 - Front Outboard 4 - Rear Outboard

20. Install rear seat track protective covers (see Step 21 for "GLS" models) and front outboard track retaining bolt cover.

21. "GLS" models only: Install outboard seat track cover before installing rear protective cover to outboard track end.

REAR SEAT BUCKLES - ONE PIECE REAR SEAT BACK (NOT "GLS" MODEL) - REMOVAL:

1. Slide both front seats to full forward position and incline seat backs forward.

2. Raise rear cushion to vertical position by pulling up on centre pull strap at rear of cushion.

3. Release latch on rear seat back (located at top, outboard sides of seat back) and pull seat back forward slightly to disengage seat back latch. Lift up seat back and insert support between floor and bottom of seat back (Figure 5).

4. Remove and discard two (2) 21mm seat belt buckle anchor bolts and three (3) buckle assemblies. Retain belt and tongue assembly for centre occupant position, to be reinstalled later.

REAR SEAT BUCKLES - ONE PIECE REAR SEAT BACK (NOT "GLS" MODEL) - INSTALLATION: --------------------------------------------------------------------------- 5. Install three (3) new rear seat belt buckle assemblies. P/N 90245580 in right and left hand occupant positions, P/N 90245581 in centre occupant position and original centre occupant belt and tongue assembly using two (2) new anchor bolts (P/N 9288603 - silver). For correct orientation of these parts, see Figure 5. Buckle part numbers are stamped on underside of each buckle.

6. Tighten anchor bolts to 35 N.m (26 lbs. ft.) torque.

7. Remove seat back support and latch seat back in place, return seat cushion to original position ensuring that seat belt buckles and centre occupant belt are accessible.

8. Install Campaign Identification Label.

REAR SEAT BUCKLES - SPLIT SEAT ("GLS" MODEL) - REMOVAL:

1. Slide both front seats to full forward position and incline seat backs forward.

2. Raise both rear seat cushions to vertical position by pulling up on pull strap at rear of each cushion.

3. Remove Phillips (+) head screw from centre seat back pivot (Figure 6) and remove bearing shell. Lower both rear seat backs and remove bearing cap (Figure 7). Raise rear seat backs to upright, unlatched position.

4. Raise inboard ends of seat backs (at centre pivot) and support in raised position to provide sufficient access to seat belt buckle anchor bolts.

5. Remove and discard two (2) 21mm seat belt buckle anchor bolts and three (3) buckle assemblies. Retain belt and tongue assembly for centre occupant position, to be reinstalled later.

REAR SEAT BUCKLES - SPLIT SEAT ("GLS" MODEL) - INSTALLATION:

6. Install three (3) new rear seat belt buckle assemblies. P/N 90245580 in right and left hand occupant positions, P/N 90245581 in centre occupant position and original centre occupant belt and tongue assembly using two (2) new anchor bolts (P/N 9288603 - silver). For correct orientation of these parts, see Figure 5. Buckle part numbers are stamped on underside of each buckle.

7. Tighten anchor bolts to 35 N.m (26 lbs. ft.) torque.

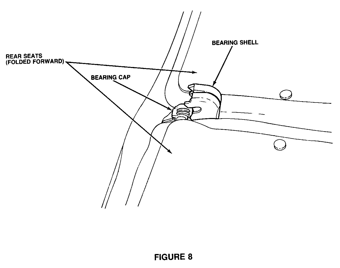
8. Remove seat back support(s) and reseat pivots in lower bearing cap and bearing shell (Figure 8). Raise both seat backs, align bearing shell and screw hole and install screw.

9. Return seat backs to latched position and cushions to down position, ensuring that seat belts and buckles are accessible.

10. Install Campaign Identification Label.

INSTALLATION OF CAMPAIGN IDENTIFICATION LABEL

Clean surface of radiator upper mounting panel and apply a Campaign Identification Label. Make sure the correct campaign number is inserted on the label. This will indicate that the campaign has been completed.

Dear Passport Customer:

This notice is sent to you in accordance with the Canada Motor Vehicle Safety Act. General Motors of Canada has determined that a defect which relates to motor vehicle safety may exist in certain 1988 Optima Model vehicles. The seat belt buckles on these vehicles may not properly latch. It could appear to the occupant(s) that their seat belt buckle is latched, but the latch plate can be removed from the buckle without pressing the release button. In the event of a sudden vehicle stop or collision a seat belt buckle with this condition could release, increasing the risk of injury to those occupants. To prevent the possibility of this condition occurring on your vehicle, all the seat belt buckles will be replaced with new buckles. This service will be performed for you at no charge.

Please contact your Passport Dealer as soon as possible to arrange a service date. Instructions for making this correction have been sent to your Dealer. The labour time necessary to perform this service is approximately forty-five (45) minutes. Please ask your Dealer if you wish to know how much additional time will be needed to process your vehicle.

This letter identifies your vehicle. Presentation of this letter to your Dealer will assist their Service personnel in completing the necessary correction to your vehicle in the shortest possible time.

Further information, if required, may be obtained by calling the Passport Answer Line at 1-800-263-1999 from 8:00 a.m. to 5:00 p.m. Eastern Time, Monday to Friday.

We are sorry to cause you this inconvenience; however, we have taken this action in the interest of your continued satisfaction with our products.


Object Number: 88139  Size: FS


Object Number: 81566  Size: FS


Object Number: 76864  Size: FS


Object Number: 85360  Size: FS


Object Number: 75736  Size: FS


Object Number: 83444  Size: FS


Object Number: 85979  Size: FS


Object Number: 75735  Size: FS

General Motors bulletins are intended for use by professional technicians, not a "do-it-yourselfer". They are written to inform those technicians of conditions that may occur on some vehicles, or to provide information that could assist in the proper service of a vehicle. Properly trained technicians have the equipment, tools, safety instructions and know-how to do a job properly and safely. If a condition is described, do not assume that the bulletin applies to your vehicle, or that your vehicle will have that condition. See a General Motors dealer servicing your brand of General Motors vehicle for information on whether your vehicle may benefit from the information.