GM Service Manual Online
For 1990-2009 cars only

Structure of a Tire


Object Number: 1223330  Size: SH

Tread

The tread (2) is the part of the tire that contacts the road surfaces directly and is fixed on the outside of the tire carcass and breaker. It is a strong rubber coat made of high anti-abrasion rubber. Its running performance depends on its surface profile.

Breaker

The breaker (1) is a cord belt between the tread and carcass. It prevents damages of the inner code due to outer shock and vibration.

Carcass

This major part of the carcass (3), made by piling code papers of strong synthetic fiber, forms a structure of the tire. Since it maintains tire pressure and endures applied load and shock to the tire, it should have a high anti-fatigue characteristic.

Bead

The bead (4) is a steel wire winding the ending part of the carcass code, coated with rubber film and wrapped with nylon cord papers. It fixes the tire to a rim.

Valve

Tires used in current vehicle are mostly tubeless tires. In some cases, the tire has a valve (5).

Side Wall

The side wall (6) provides comfortable driving by protecting the carcass and cushion movement.

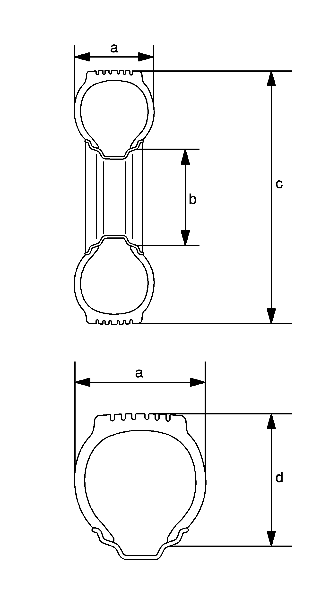
Nomenclature


Object Number: 1225460  Size: LH
(a)Width
(b)Inside Diameter
(c)Outside Diameter
(d)Height

Notice: Modifications made to the following can affect the vehicle's emission controls and may cause the Malfunction Indicator Lamp (MIL), Check Engine or Service Engine Soon lamp to illuminate:

   • The engine
   • The transmission
   • The exhaust
   • The fuel system
Replacement tires that do not meet the same Tire Performance Criteria (TPC) of the original tires can also affect the vehicle's emission controls. This may also cause the Malfunction Indicator Lamp (MIL), Check Engine or Service Engine Soon lamp to illuminate.

Modifications to these systems or the installation of incorrect TPC tires could lead to repairs that are not covered by the manufacturer's warranty. This may also cause a required Emission Inspection/Maintenance test to fail.

Notice: Modifications made to the engine or its individual components can effect the vehicle's emission controls and may cause the Malfunction Indicator Lamp (MIL), Check Engine, or Service Engine Soon lamp to illuminate. Modifications may also cause the vehicle to fail a required Emission Inspection/Maintenance test.

Tire Size Description

175/60R13

77H

175

Width (mm)

60

Aspect ratio = (Height/Width) x 100

R

Radial

13

Rim diameter = Tire I.D. (inch)

77

Max. load index

H

Max. speed symbol

Hydroplaning


Object Number: 1223332  Size: SH

The condition of driving a vehicle fast (1) on the road surface covered with water can cause tires to fail to rotate with a good contact on the surface, and results in remaining them afloat. This is called hydroplaning. It causes brake failure, lower tractive force, and losing the steering performance so it is a very vulnerable condition.

Standing Wave


Object Number: 1223333  Size: SH

The tread of the tire repetitively changes and restores itself while the vehicle is moving. When the vehicle speed reaches high, the changes happening in the treads never have a chance to restore, causing a trembling wave to appear. The lower the tire pressure, the more severe the trembling wave appears.