GM Service Manual Online
For 1990-2009 cars only

Brake Pedal Assembly Replacement Left-Hand Drive

Removal Procedure

  1. Remove the stop lamp switch. Refer to Stop Lamp Switch Replacement .

  2. Object Number: 1221495  Size: SH
  3. Remove and discard the cotter pin (1).
  4. Remove the clevis pin (2).

  5. Object Number: 1282322  Size: SH
  6. Remove the brake pedal nut and the brake pedal bolt (1).

  7. Object Number: 1282323  Size: SH
  8. Remove the brake pedal spring (2).
  9. Remove the bushings (1).
  10. Remove the cushion (4).
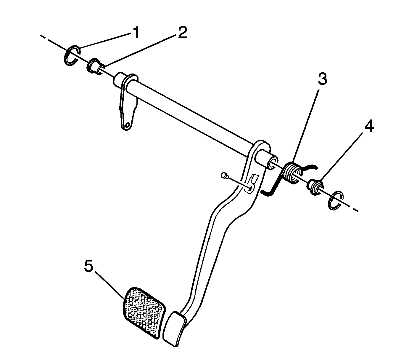
  11. Remove the brake pedal pad (3).
  12. Remove the brake pedal.

Installation Procedure


    Object Number: 1282323  Size: SH
  1. Install the brake pedal pad (3).
  2. Install the cushion (4).
  3. Install the bushings (1).
  4. Install the brake pedal spring (2).
  5. Notice: Refer to Fastener Notice in the Preface section.


    Object Number: 1282322  Size: SH
  6. Install the brake pedal to the pedal bracket with a bolt (1) and a nut.
  7. Tighten
    Tighten the bolt and the nut to 18 N·m (13 lb ft).


    Object Number: 1221495  Size: SH
  8. Install the clevis pin (2).
  9. Install a NEW cotter pin (1).
  10. Install the stop lamp switch. Refer to Stop Lamp Switch Replacement .

Brake Pedal Assembly Replacement Right-Hand Drive

Removal Procedure


    Object Number: 1282325  Size: SH
  1. Remove the instrument panel assembly. Refer to Instrument Panel Assembly Replacement in Instrument Panel, Gages, and Console.
  2. Disconnect the brake pedal rod from the power booster. Refer to Power Vacuum Brake Booster Replacement .

  3. Object Number: 1282330  Size: SH
  4. Remove the stop lamp switch (1).
  5. Remove the bolts (3).
  6. Remove the stop lamp switch bracket (2).

  7. Object Number: 1282327  Size: SH
  8. Remove the bolts mounting brake pedal bracket (2).
  9. Remove the nuts mounting brake pedal bracket (1).

  10. Object Number: 1282328  Size: SH
  11. Remove the evaporative canister. Refer to Evaporative Emission Canister Replacement in Engine Controls.
  12. Remove the bolt mounting brake pedal bracket in the engine compartment (1).

  13. Object Number: 1282331  Size: SH
  14. Remove the brake pedal snap rings (1).
  15. Remove the bushings (2).
  16. Remove the brake pedal spring (3).
  17. Remove the cushion (4).
  18. Remove the brake pedal pad (5).
  19. Remove the brake pedal.

Installation Procedure


    Object Number: 1282332  Size: SH
  1. Install the brake pedal with pad, spring, bushings, and cushion.
  2. Notice: Refer to Fastener Notice in the Preface section.

  3. Install the mounting brake pedal bracket bolt (1) in the engine compartment.
  4. Tighten
    Tighten the bolt to 18-26 N·m (13-20 lb ft).

  5. Install the evaporative canister. Refer to Evaporative Emission Canister Replacement in Engine Controls.

  6. Object Number: 1282333  Size: SH
  7. Install the brake pedal with the snap rings.
  8. Install the mounting brake pedal bracket bolts (2) and nuts (1).
  9. Tighten

    • Tighten the bolts mounting brake pedal bracket to 18-26 N·m (13-20 lb ft).
    • Tighten the nuts mounting brake pedal bracket to 18-26 N·m (13-20 lb ft).

    Object Number: 1282334  Size: SH
  10. Install the stoplamp switch with the bracket and the bolts (1).
  11. Tighten
    Tighten the mounting bolts to 9-12 N·m (80-106 lb in).

  12. Connect the brake pedal rod to the power booster. Refer to Power Vacuum Brake Booster Replacement .
  13. Install the instrument panel assembly. Refer to Instrument Panel Assembly Replacement in Instrument Panel, Gages, and Console.