Disassembly Procedure
- Remove
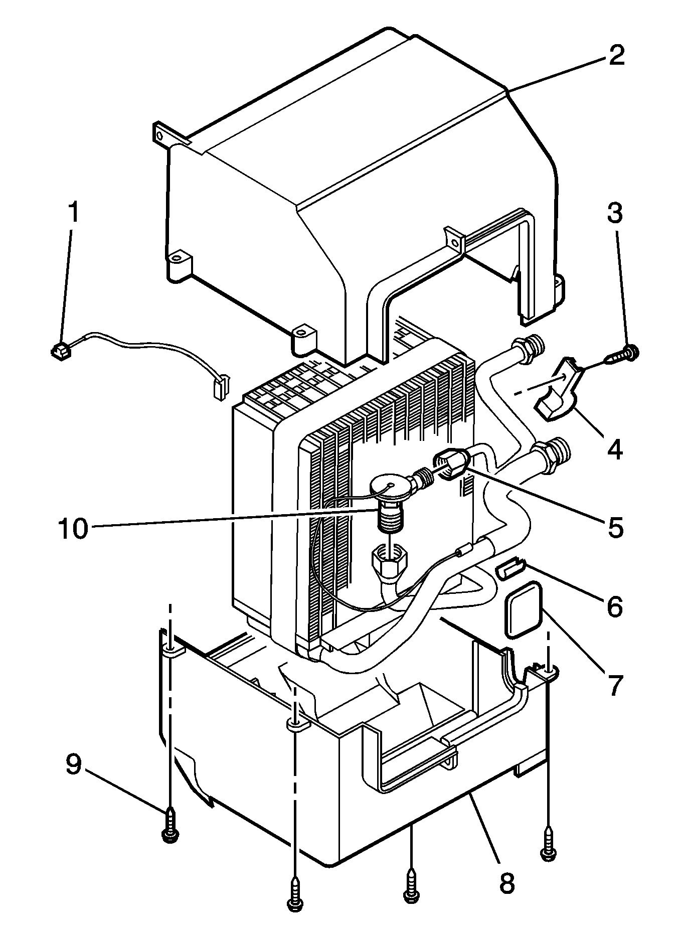
the evaporator unit. Refer to
Evaporator Core and Drain Hose Replacement
.
- Remove the screws (3) and the clamp (4).
- Remove the screws securing the evaporator case cover (9).
- Remove the upper evaporator case cover (2).
- Remove the lower evaporator case cover (8).
- Remove the thermistor (1).
- Loosen the fitting and remove the high pressure pipe line (5) and
remove the tape (7).
- Remove the evaporator plate seal (6).
- Loosen the fitting and remove the expansion valve (10).
- Remove the evaporator core and expansion valve.
Assembly Procedure
Notice: Refer to Fastener Notice in the Preface section.
- Install the expansion valve with the fitting (2).
Tighten
Tighten the expansion valve fitting to 22 N·m (16 lb ft).
- Install the evaporator plate seal.
- Install the tape.
- Install the high pressure pipe line with the fitting (1).
Tighten
Tighten the high pressure pipe line fitting to 17 N·m (13 lb ft).
- Install the thermistor.
- Install the screws securing the evaporator case cover.
- Install the clamp and the screw.
- Install the evaporator unit. Refer to
Evaporator Core and Drain Hose Replacement
.