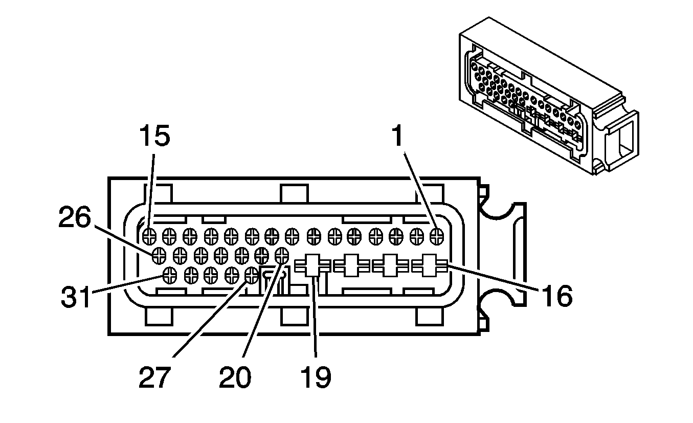
| Table 1: | Electronic Brake Control Module (EBCM) |
| Table 2: | Oil Feeding Connector |
| Table 3: | Wheel Speed Sensor - Left Front |
| Table 4: | Wheel Speed Sensor - Left Rear |
| Table 5: | Wheel Speed Sensor - Right Front |
| Table 6: | Wheel Speed Sensor - Right Rear |
| |||||||
|---|---|---|---|---|---|---|---|
Connector Part Information |
| ||||||
Pin | Wire Color | Circuit Number | Function | ||||
1 | -- | -- | Not Used | ||||
2 | BN/YE | 886 | Rough Road Signal | ||||
3-8 | -- | -- | Not Used | ||||
9 | BN | 882 | Wheel Speed Sensor Signal - Right Rear | ||||
10 | WH | 883 | Wheel Speed Sensor Return - Right Rear | ||||
11 | D-BU/YE | 774 | Serial Data - Electronic Brake Control Module (EBCM) (w/ABS) | ||||
12 | D-GN/BK | 872 | Wheel Speed Sensor Return - Right Front | ||||
13 | BN/D-GN | 833 | Wheel Speed Sensor Signal - Right Front | ||||
14 | D-BU | 830 | Wheel Speed Sensor Return - Left Front | ||||
15 | RD/YE | 39 | Ignition 1 Voltage | ||||
16 | BK | 50 | Ground | ||||
17 | RD | 42 | Battery Positive Voltage | ||||
18 | RD | 42 | Battery Positive Voltage | ||||
19 | BK | 501 | Ground | ||||
20 | D-GN/GY | 867 | ABS Failure Indicator Control | ||||
21 | -- | -- | Not Used | ||||
22 | BK | 884 | Wheel Speed Sensor Return - Left Rear | ||||
23 | RD | 885 | Wheel Speed Sensor Signal - Left Rear | ||||
24 | YE | 20 | Stop Lamp Switch Signal | ||||
25 | YE | 873 | Wheel Speed Sensor Signal - Left Front | ||||
26-31 | -- | -- | Not Used | ||||
| |||||||
|---|---|---|---|---|---|---|---|
Connector Part Information |
| ||||||
Pin | Wire Color | Circuit Number | Function | ||||
1 | D-BU/YE | 774 | Serial Data - Electronic Brake Control Module (EBCM) (w/ABS) | ||||
2 | YE | 50 | Ground | ||||
| |||||||
|---|---|---|---|---|---|---|---|
Connector Part Information |
| ||||||
Pin | Wire Color | Circuit Number | Function | ||||
1 | D-BU | 830 | Wheel Speed Sensor Return - Left Front | ||||
2 | YE | 873 | Wheel Speed Sensor Signal - Left Front | ||||
| |||||||
|---|---|---|---|---|---|---|---|
Connector Part Information |
| ||||||
Pin | Wire Color | Circuit Number | Function | ||||
1 | RD | 885 | Wheel Speed Sensor Signal - Left Rear | ||||
2 | BK | 884 | Wheel Speed Sensor Return - Left Rear | ||||
| |||||||
|---|---|---|---|---|---|---|---|
Connector Part Information |
| ||||||
Pin | Wire Color | Circuit Number | Function | ||||
1 | D-GN/BK | 872 | Wheel Speed Sensor Return - Right Front | ||||
2 | BN/D-GN | 833 | Wheel Speed Sensor Signal - Right Front | ||||
| |||||||
|---|---|---|---|---|---|---|---|
Connector Part Information |
| ||||||
Pin | Wire Color | Circuit Number | Function | ||||
1 | WH | 883 | Wheel Speed Sensor Signal - Right Rear | ||||
2 | BN | 882 | Wheel Speed Sensor Return - Right Rear | ||||