GM Service Manual Online
For 1990-2009 cars only
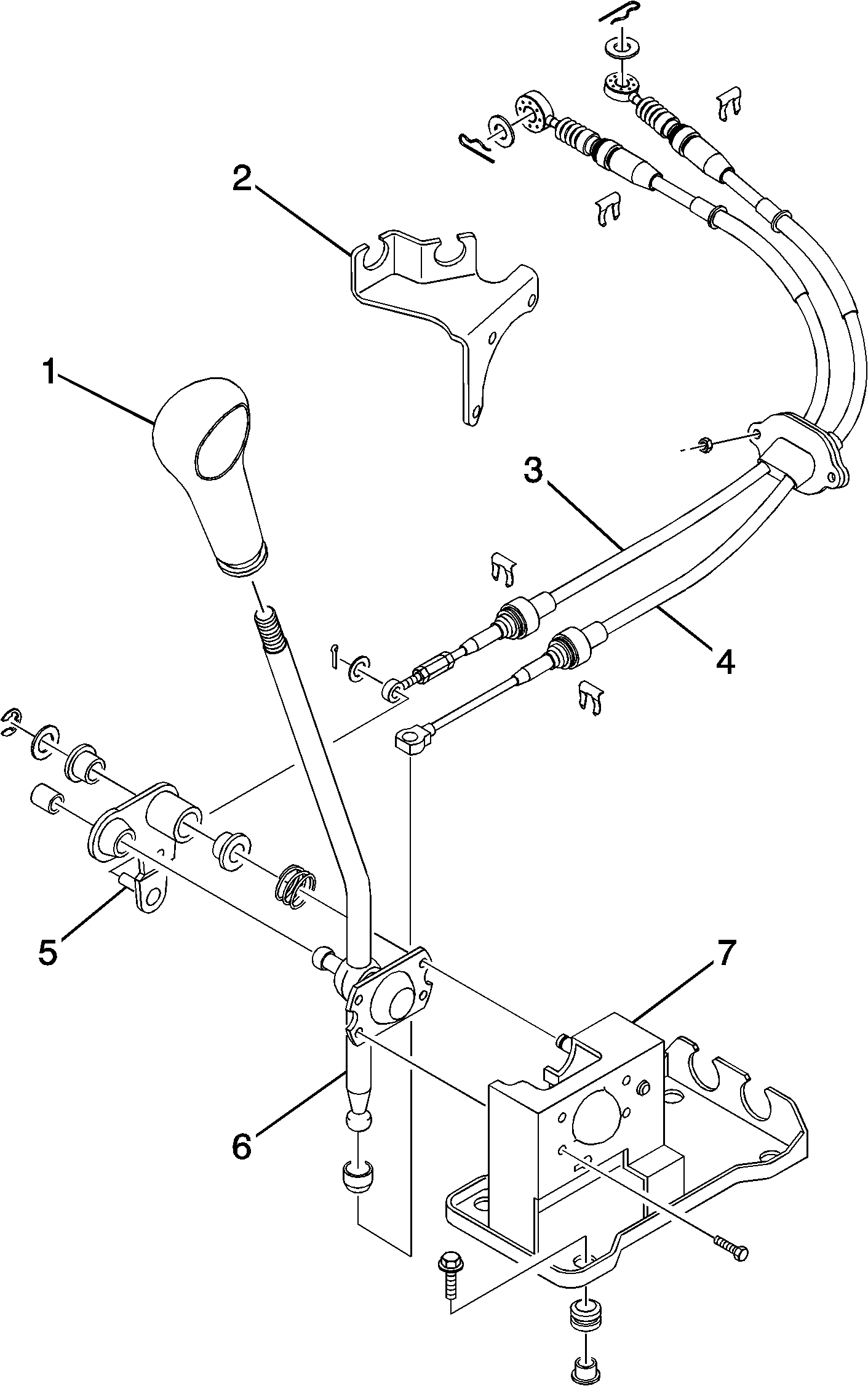
Figure 1:

Gear Shift Control


Object Number: 1225500  Size: LF
(1)Gear Shift Control Lever Knob
(2)Gear Shift Cable Bracket
(3)Select Cable
(4)Shift Cable
(5)Select Arm
(6)Gear Shift Control Lever
(7)Gear Shift Control Lever Guide
Figure 2:

Input Shaft and Counter Shaft Gear


Object Number: 1225502  Size: LF
(1)Input Shaft Circlip
(2)5th Gear Synchronizer Plate
(3)5th Gear Synchronizer Sleeve
(4)5th Gear Synchronizer Spring
(5)5th Gear Synchronizer Key
(6)5th Gear Synchronizer Hub
(7)5th Gear Synchronizer Ring
(7-1)Wave Spring
(8)Input Shaft 5th Gear
(9)Input Shaft 5th Gear Bearing
(10)Input Shaft 5th Gear Spacer
(11)Input Shaft Bearing - Left
(12)Input Shaft 4th Gear
(13)4th Gear Synchronizer Ring
(13-1)Wave Spring
(14)Input Shaft 4th Gear Bearing
(15)3rd-4th Gear Synchronizer Sleeve
(16)3rd-4th Gear Synchronizer Spring
(17)3rd-4th Gear Synchronizer Key
(18)3rd-4th Gear Synchronizer Hub
(19)3rd Gear Synchronizer Ring
(20)Input Shaft 3rd Gear
(21)Input Shaft 3rd Gear Bearing
(22)Input Shaft
(23)Input Shaft Bearing - Right
(24)Input Shaft Oil Seal
(25)Reverse Gear Shaft Bolt
(26)Reverse Gear Shaft
(27)Reverse Idle Gear
(28)Counter Shaft Nut
(29)Counter Shaft 5th Gear
(30)Counter Shaft Bearing Shim
(31)Counter Shaft Bearing - Left
(32)Counter Shaft 4th Gear
(33)Counter Shaft 3rd-4th Gear Spacer
(34)Counter Shaft 3rd Gear
(35)Counter Shaft 2nd Gear
(36)2nd Gear Synchronizer Ring
(37)Counter Shaft 2nd Gear Bearing
(38)1st-2nd Gear Synchronizer Circlip
(39)1st-2nd Gear Synchronizer Sleeve
(40)1st-2nd Gear Synchronizer Spring
(41)1st-2nd Gear Synchronizer Key
(42)1st-2nd Gear Synchronizer Hub
(43)1st Gear Synchronizer Ring
(44)Counter Shaft 1st Gear
(45)Counter Shaft 1st Gear Bearing
(46)Counter Shaft
(47)Counter Shaft Bearing - Right
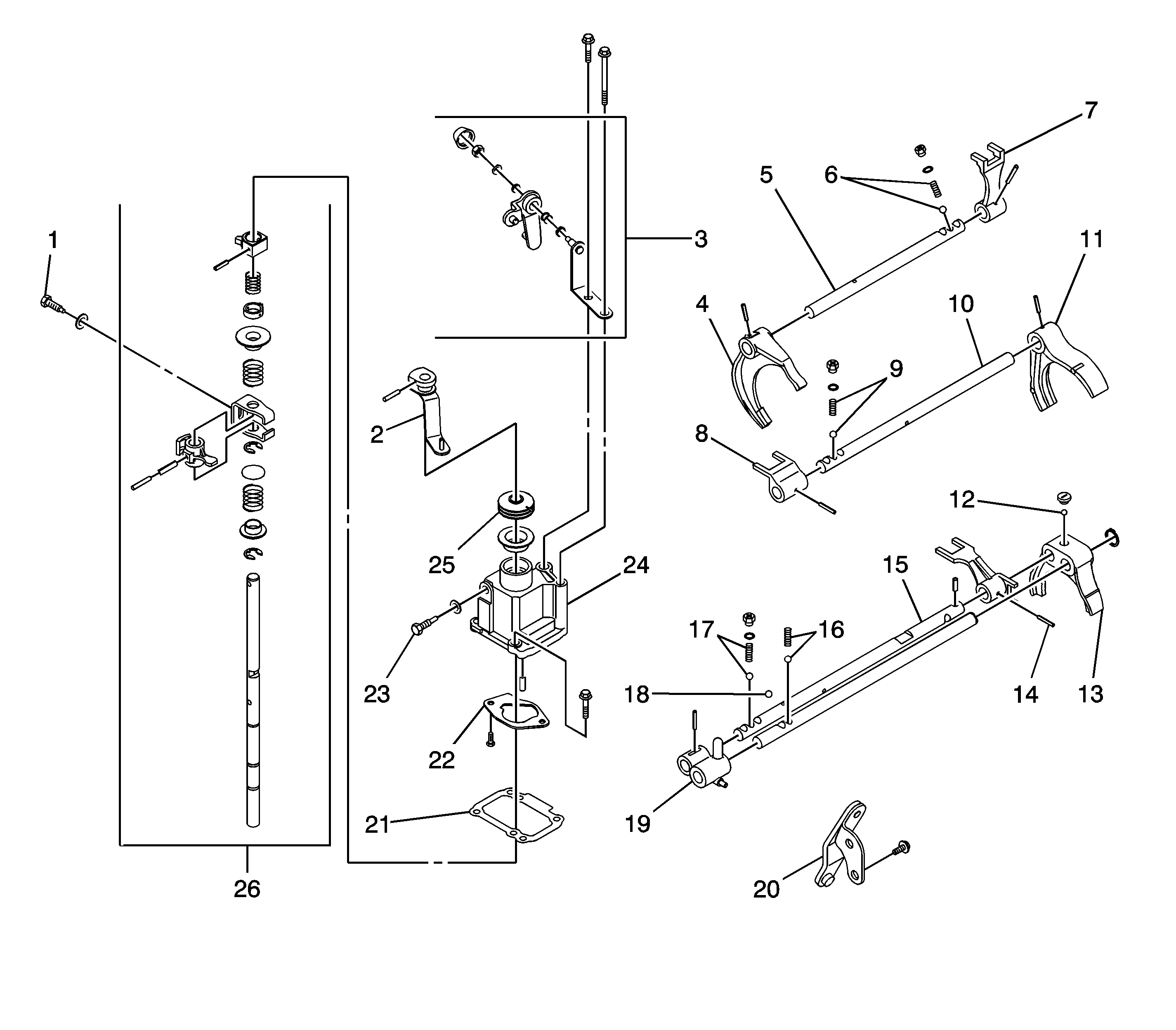
Figure 3:

Gear Shift Fork


Object Number: 1225503  Size: LF
(1)Shift Interlock Bolt
(2)Shift Lever
(3)Select Lever
(4)Low Speed Shift Fork
(5)Low Speed Shift Shaft
(6)Low Speed Shift Shaft Spring/Ball
(7)Low Speed Shift Fork
(8)High Speed Shift Fork
(9)High Speed Shaft Spring/Ball
(10)High Speed Shift Shaft
(11)High Speed Shift Fork
(12)5th/Shift Fork Guide Ball
(13)5th/Shift Fork
(14)5th/Reverse Shift York
(15)5th/Reverse Shift Shaft
(16)Reverse Shift Shaft Guide Spring/Ball
(17)5th/Reverse Shift Shaft Spring/Ball
(18)5th/Reverse Shift Ball
(19)Reverse Shift Arm
(20)Reverse Shift Lever
(21)Gearshift Control Case Gasket
(22)Gearshift Control Case Guide Plate
(23)Shift Guide Bolt
(24)Gearshift Control Case
(25)Shift and Select Shaft Boot
(26)Shift and Select Shaft
Figure 4:

Differential and Case


Object Number: 1225505  Size: LF
(1)Speedometer Driven Gear - Vehicle Speed Sensor (VSS)
(2)Oil Level Plug
(3)Case Cap O-ring - Left
(4)Case Cap - Left
(5)Backup Lamp Switch
(6)Transaxle Case - Right
(7)Oil Plate
(8)Transaxle Case - Left
(9)Oil Drain Plug
(10)Oil Gutter
(11)Side Cover Plate
(12)Side Cover
(13)Differential Ring Gear
(14)Differential Oil Seal - Left
(15)Differential Bearing - Left
(16)Differential Case
(17)Speedometer Drive Gear
(18)Differential Bearing - Right
(19)Differential Oil Seal - Right
(20)Differential Pinion Gear Shaft Pin
(21)Differential Side Gear Adjust Shim
(22)Differential Side Gear
(23)Differential Pinion Gear Shaft
(24)Differential Pinion Gear
(25)Differential Pinion Gear Washer