GM Service Manual Online
For 1990-2009 cars only

Removal Procedure


    Object Number: 1225028  Size: SH
  1. Disconnect the manifold absolute pressure (MAP) connector (2).
  2. Disconnect the vacuum hose from the MAP sensor (1).

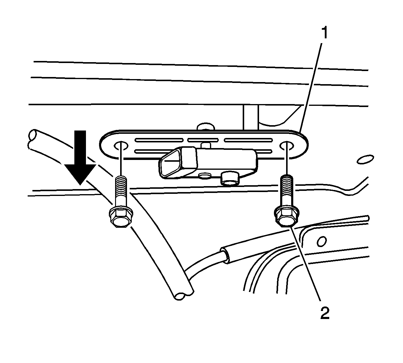
  3. Object Number: 1225045  Size: SH
  4. Remove the MAP sensor bolts (2).
  5. Remove the MAP sensor with the bracket (2).

Installation Procedure

    Caution: Refer to Fastener Caution in the Preface section.


    Object Number: 1225045  Size: SH
  1. Install the MAP sensor and bracket (1) with bolts and nuts (2) and tighten to 8-12 N·m (71-106 lb in).

  2. Object Number: 1225028  Size: SH

    Note: Inspect the MAP sensor vacuum hose for the tear and damages.

  3. Connect the vacuum hose to the MAP sensor (1).
  4. Connect the MAP connector (2).