GM Service Manual Online
For 1990-2009 cars only

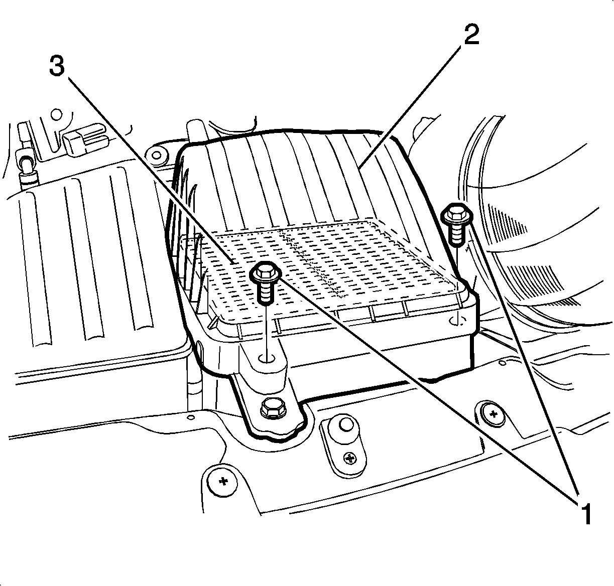
Removal Procedure


    Object Number: 1203470  Size: SH
  1. Remove the bolts (1).
  2. Remove the air filter upper housing with manifold air temperature sensor and intake tube connected (2)
  3. Remove the air filter element (3).

Installation Procedure


    Object Number: 1203489  Size: SH
  1. Air filter element (2).
  2. Install the air filter upper housing (1).
  3. Install the upper housing bolts.