GM Service Manual Online
For 1990-2009 cars only
Figure 1:

Transmission Cut Away View


Object Number: 1348448  Size: LF
Figure 2:

Internal Components


Object Number: 1282573  Size: LF
(1)Drive Plate Flange
(2)Drive Plate
(3)Rear Drive Plate
(4)Torque Converter
(5)Oil Pump Assembly
(6)Input Shaft Assembly
(7)Output Gear Assembly
(8)Reduction Gear Assembly
(9)Differential Assembly
(10)Low and Reverse Brake Assembly
(11)Low Clutch Assembly
(12)Rear Internal Gear Assembly
(13)Rear Planetary Carrier Assembly
(14)Rear Sun Gear
(15)Front Planetary Carrier Assembly
(16)Front Sun Gear Assembly
(17)Low One-Way Clutch Assembly
(18)High Clutch Hub Assembly
(19)High Clutch Assembly
(20)Bearing
(21)Seal Ring
(22)Reverse Clutch Assembly
(23)Bearing Race
(24)Seal Ring
(25)Washer
(26)Anchor End Pin
(27)Brake Band
(28)Band Servo Piston Assembly
Figure 3:

Case and Associated Parts


Object Number: 1282574  Size: LF
(1)Converter Housing
(2)Transmission Case
(3)Transmission Side Cover
(4)Magnet
(5)Oil Pan
(6)Oil Level Gauge/Oil Filler Tube
(7)Parking Lock Assembly
(8)Manual Shaft Assembly
(9)Park/Neutral Position (PNP) Switch
(10)Control Valve Assembly
(11)Solenoid Terminal
(12)Vehicle Speed Sensor (VSS)
(13)Oil Cooler
(14)Input Shaft Speed (ISS) Sensor
Figure 4:

Oil Pump


Object Number: 1282575  Size: MF
(1)Oil Pump Cover
(2)Inner Rotor
(3)Outer Rotor
(4)Oil Pump Housing
Figure 5:

Reverse Clutch


Object Number: 1282576  Size: MF
(1)Snap Ring
(2)Retaining Plate
(3)Reverse Clutch Plate
(4)Friction Plates
(5)Separator Plates
(6)Snap Ring
(7)Spring Retainer Assembly
(8)Reverse Clutch Piston
(9)O-Ring
(10)Reverse Clutch Drum
Figure 6:

High Clutch


Object Number: 1282577  Size: MF
(1)Spring Ring
(2)Retaining Plate
(3)High Clutch Plates
(4)Friction Plates
(5)Separator Plates
(6)Spring Retainer
(7)Snap Ring
(8)Spring
(9)High Clutch Piston
(10)O-Ring
(11)High Clutch Drum
(12)Bearing
(13)Seal Ring
Figure 7:

Low Clutch


Object Number: 1282578  Size: MF
(1)Friction Plates
(2)Separator Plates
(3)Retaining Plates
(4)Snap Ring
(5)Low Clutch Plates
(6)Cushion Plates
(7)Spring Retainera
(8)Spring
(9)Cancel Cover
(10)Low Clutch Piston
(11)Low Clutch Drum
(12)O-Ring
Figure 8:

First Reverse Brake


Object Number: 1282636  Size: MF
(1)Separator Plates
(2)Friction Plates
(3)Retaining Plates
(4)Snap Ring
(5)Low and Reverse Brake Plates
(6)Cushion Plate
(7)Spring Retainer Assembly
(8)Low and Reverse Brake Piston
(9)O-Ring
Figure 9:

Control Valve Body


Object Number: 1346374  Size: LF
(1)Upper Control Valve Body
(2)Separator Plate A
(3)Intermediate Control Valve Body
(4)Separator Plate B
(5)Lower Control Valve Body
(6)Shift Solenoid B
(7)Line Pressure Solenoid
(8)Shift Solenoid A
(9)Oil Strainer
(10)Lock-Up Solenoid
Figure 10:

Upper Control Valve Body


Object Number: 1346386  Size: MF
(1)Retainer Plate Pin
(2)Spring
(3)Neutral Shift Valve
(4)Throttle Pressure Accumulator
(5)Spring
(6)Retainer Plate Pin
(7)Retainer Plate Pin
(8)Spring
(9)Shift Valve A
(10)Parallel Pin
(11)Plug
(12)Spring
(13)Pressure Modifier Valve
(14)Manual Valve
(15)Retainer Plate Pin
(16)Spring
(17)Line Pressure Relief Valve
Figure 11:

Intermediate Control Valve Body


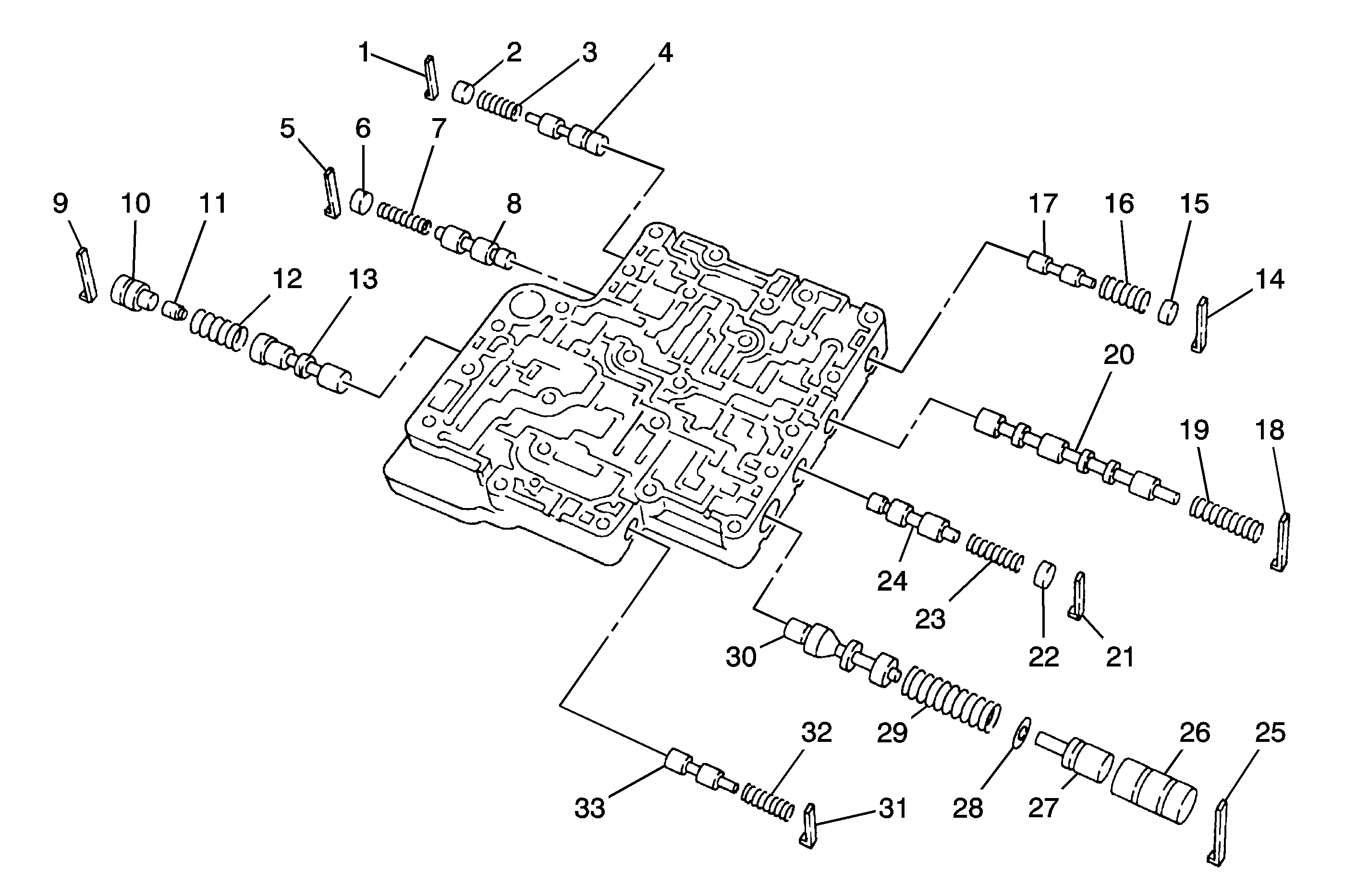
Object Number: 1346392  Size: MF
(1)Retainer Plate Pin
(2)Plug
(3)Spring
(4)1-2 Modulator Valve
(5)Retainer Plate Pin
(6)Plug
(7)Spring
(8)Neutral Control Valve
(9)Retainer Plate Pin
(10)Valve Sleeve
(11)Valve Plug
(12)Spring
(13)Lock-Up Control Valve
(14)Retainer Plate Pin
(15)Plug
(16)Spring
(17)Servo Release Timing Valve
(18)Retainer Plate Pin
(19)Spring
(20)Shift Valve B
(21)Retainer Plate Pin
(22)Plug
(23)Spring
(24)Accumulator Control Valve
(25)Retainer Plate Pin
(26)Valve Sleeve
(27)Valve Plug
(28)Spring Seat
(29)Spring
(30)Pressure Regulator Valve
(31)Retainer Plate Pin
(32)Spring
(33)Pilot Valve
Figure 12:

Lower Control Valve Body


Object Number: 1346394  Size: MF
(1)Retainer Plate Pin
(2)Spring
(3)Torque Converter Relief Valve
(4)Retainer Plate Pin
(5)Plug
(6)Spring
(7)1-2 Accumulator
(8)Retainer Plate Pin
(9)Plug
(10)Spring Outer
(11)Spring Inner
(12)Throttle Pressure Accumulator
(13)Retainer Plate Pin
(14)Plug
(15)Spring Outer
(16)Spring Inner
(17)Low Clutch Accumulator
Figure 13:

Control Valve Body Bolt Installation Position


Object Number: 1346396  Size: MF
(1)Shift Solenoid A
(2)Lock Up Solenoid
(3)Line Pressure Solenoid
(4)Shift Solenoid B

Bolt

Bolt Length (mm)

Bolt Length (in)

A

20

0.8

B

77

3.0

C

12

0.5

D

87

3.4

E

90

3.5

Important: All bolts are torqued to 8 N·m (70 lb in).