GM Service Manual Online
For 1990-2009 cars only

55 MPH CRADLE RESONANCE INFORMATION

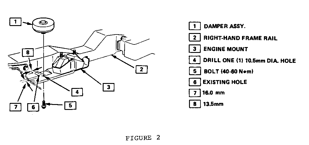
VEHICLES AFFECTED: 1982 'A' AND 'X' SERIES WITH L4 ENGINE SOME 1982 'A' AND 'X' SERIES VEHICLES EQUIPPED WITH THE L-4 ENGINE MAY EXHIBIT A CRADLE RESONANCE AT APPROXIMATELY 55 MPH. IF A VEHICLE IS FOUND TO EXHIBIT THIS CONDITION, FOLLOW THIS PROCEDURE: 1.RAISE CAR ON HOIST. 2.REMOVE CRADLE DAMPER (SEE FIG. 1). 3.DRILL ONE (1) 10.5MM HOLE IN RIGHT-HAND FRAME RAIL USING THE DIMENSIONS SHOWN IN FIGURE 2. 4.INSTALL THE NEW DAMPER ASSEMBLY (PART NUMBER 10024452) USING THE BOLT (PART NUMBER 11502788). TIGHTEN THE BOLT TO 60 N.M. 5.LOWER CAR.


Object Number: 87307  Size: MF


Object Number: 85535  Size: FS

General Motors bulletins are intended for use by professional technicians, not a "do-it-yourselfer". They are written to inform those technicians of conditions that may occur on some vehicles, or to provide information that could assist in the proper service of a vehicle. Properly trained technicians have the equipment, tools, safety instructions and know-how to do a job properly and safely. If a condition is described, do not assume that the bulletin applies to your vehicle, or that your vehicle will have that condition. See a General Motors dealer servicing your brand of General Motors vehicle for information on whether your vehicle may benefit from the information.