GM Service Manual Online
For 1990-2009 cars only

Water Leaking on Front Passenger Side Floor of Vehicle, Water Blowing Out of Vents (Seal Heater Core Cover)

Subject:Water Leaking on Front Passenger Side Floor of Vehicle, Water Blowing Out of Vents (Seal Heater Core Cover)

Models:2005-2006 Chevrolet Cobalt
2006 Chevrolet HHR
2005-2006 Pontiac Pursuit (Canada Only)



This bulletin is being revised to provide the part number of the screw that is required for the Cobalt and Pursuit models. Please discard Corporate Bulletin Number 05-01-38-016A (Section 01 -- HVAC).


Built Prior to the Following VIN Breakpoints:

Model

VIN Breakpoint

Cobalt/Pursuit

67661747

HHR

6S551004

Condition

Some customers may comment on water leaking on the front passenger side floor of the vehicle. This leak would occur under high ambient temperatures and high humidity situations when the customer has the air conditioning on high. Leaks will appear to be coming from the HVAC module where the heater core cover and lower case come together. Also, some customers may comment on water droplets blowing out of the vents when the A/C is on high.

Cause

This condition may be due to water condensing in the HVAC case that adheres to the upper surface in the tongue and groove area of the lower case and then leaking out.

Correction

Install the foam gasket between the heater core cover and the lower HVAC case at the location of the leak using the procedure listed below.

  1. Remove the right side insulator/closeout panel retainers and the panel, if equipped.

  2. Object Number: 1714836  Size: MF
  3. Remove the 5 screws (1) (HHR) or break the 4 welds (2) (Cobalt/Pursuit) from the heater core cover at the specified locations.

  4. Object Number: 1714839  Size: MF
  5. Carefully pry apart the heater core cover and the lower HVAC case to achieve a 12.7 mm (0.5 in) gap.

  6. Object Number: 1714840  Size: MF

    Object Number: 1714841  Size: MF
  7. Install the foam gasket, P/N 15878211, using a flat rigid tool (feeler gauge shown) into the sump area (1) of the heater core cover.
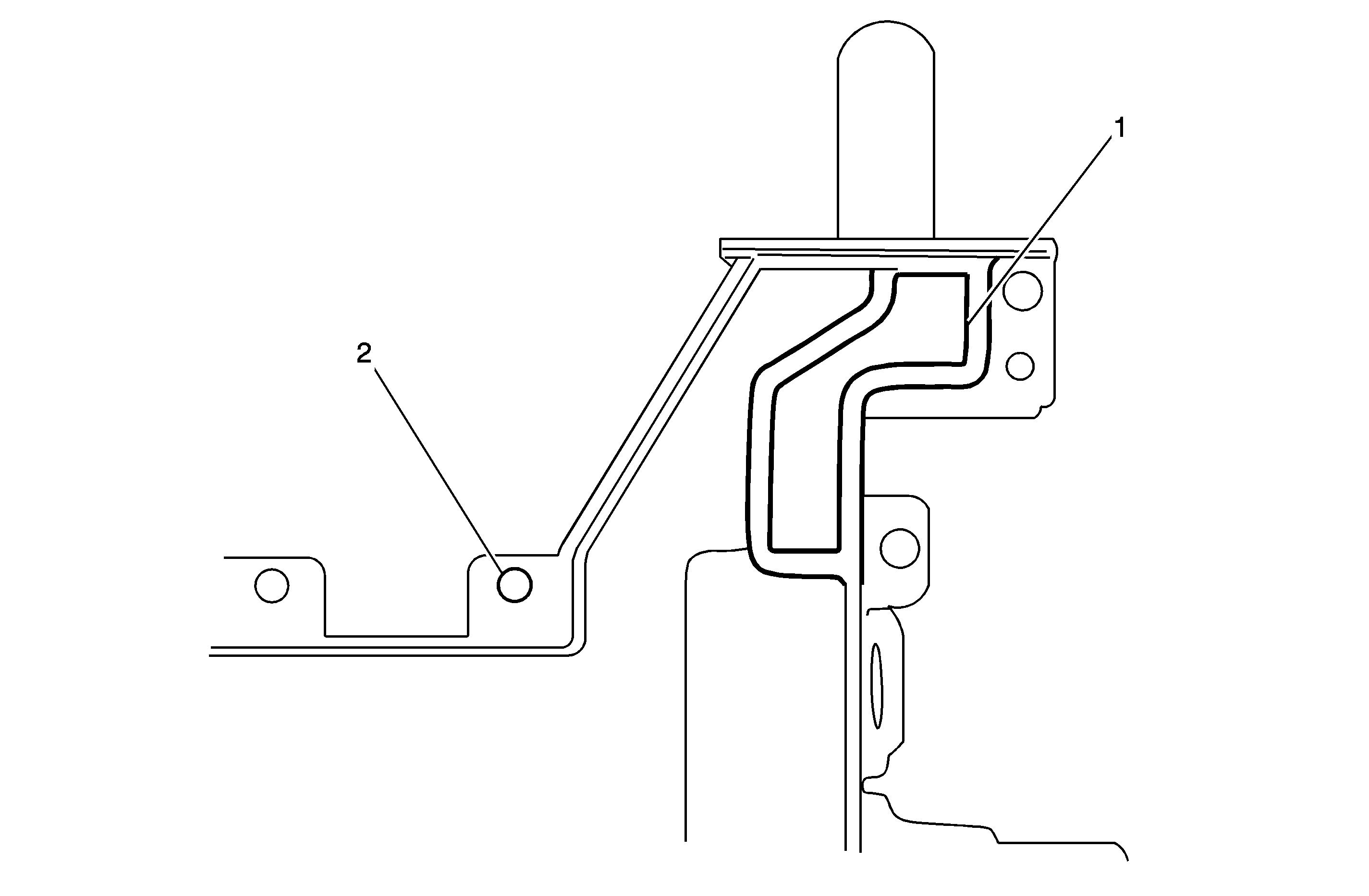
  8. Reassemble the case using the 5 screws that were removed (HHR) or with new screws (Cobalt/Pursuit), P/N 11609829. For Cobalt/Pursuit, add an additional screw (2) at rear of sump area.
  9. Install the right side insulator/closeout panel and retainers, if equipped.

Parts Information

Part Number

Description

Qty

15878211

Gasket, Heater & A/C Evaporator Module Drain Tube

1

11609829 (Cobalt/Pursuit Only)

Screw

5

Warranty Information

For vehicles repaired under warranty, use:

Labor Operation

Description

Labor Time

D9714*

HVAC Case -- Reseal

0.5 hr

*This is a unique labor operation number for bulletin use only. This number will not be published in the Labor Time Guide.